TOP
|
特許
|
意匠
|
商標
特許ウォッチ
Twitter
他の特許を見る
公開番号
2025154886
公報種別
公開特許公報(A)
公開日
2025-10-10
出願番号
2024058139
出願日
2024-03-29
発明の名称
飛行ロボットの画像管理装置、画像管理システム及び画像管理方法
出願人
セコム株式会社
代理人
個人
,
個人
,
個人
,
個人
主分類
G08B
25/00 20060101AFI20251002BHJP(信号)
要約
【課題】複数の飛行ロボットのそれぞれが撮像した複数の撮像画像を出力する監視端末を適切に決定することができる画像管理装置、画像管理システム及び画像管理方法を提供する。
【解決手段】画像管理装置は、複数の飛行ロボットのそれぞれが撮像した複数の撮像画像を受信する受信部と、複数の飛行ロボットのそれぞれが飛行する飛行エリアに含まれる監視対象物件の警備状態を取得する取得部と、警備状態に基づいて、複数の監視端末のうち、複数の撮像画像のそれぞれを表示させる監視端末を決定する決定部と、複数の撮像画像のそれぞれを、決定部により決定された監視端末に出力する出力部と、を有する。
【選択図】図7
特許請求の範囲
【請求項1】
複数の飛行ロボットのそれぞれが撮像した複数の撮像画像を受信する受信部と、
前記複数の飛行ロボットのそれぞれが飛行する飛行エリアに含まれる監視対象物件の警備状態を取得する取得部と、
前記警備状態に基づいて、複数の監視端末のうち、前記複数の撮像画像のそれぞれを表示させる監視端末を決定する決定部と、
前記複数の撮像画像のそれぞれを、前記決定部により決定された監視端末に出力する出力部と、
を有することを特徴とする画像管理装置。
続きを表示(約 1,400 文字)
【請求項2】
前記決定部は、前記複数の監視端末のそれぞれに、前記監視対象物件の警備状態が同一である飛行ロボットが撮像した撮像画像を優先的に割り当てる、請求項1に記載の画像管理装置。
【請求項3】
前記決定部は、前記警備状態が異常が検出されている状態である監視対象物件の飛行エリアを飛行する飛行ロボットが撮像した撮像画像と、前記警備状態が異常が検出されていない状態である監視対象物件の飛行エリアを飛行する飛行ロボットが撮像した撮像画像とを別個の監視端末に割り当てる、請求項1に記載の画像管理装置。
【請求項4】
前記決定部は、前記警備状態が警戒セット状態である監視対象物件の飛行エリアを飛行する飛行ロボットが撮像した撮像画像と、前記警備状態が警戒解除状態である監視対象物件の飛行エリアを飛行する飛行ロボットが撮像した撮像画像とを別個の監視端末に割り当てる、請求項1に記載の画像管理装置。
【請求項5】
前記決定部は、前記警備状態に基づいて、前記監視端末における前記撮像画像の表示数又は表示上限数を決定する、請求項1~4の何れか一項に記載の画像管理装置。
【請求項6】
前記決定部は、
前記監視対象物件の種別及び当該監視対象物件の警備状態を用いて、前記飛行ロボットの監視重要度を決定し、
前記監視重要度に基づいて、前記撮像画像を表示させる監視端末を決定する、請求項1~4の何れか一項に記載の画像管理装置。
【請求項7】
前記決定部は、新たに異常が検出された飛行エリアを飛行する飛行ロボットが撮像した撮像画像を、現在の前記撮像画像の表示数が少ない監視端末に優先して割り当てる、請求項1~4の何れか一項に記載の画像管理装置。
【請求項8】
前記取得部は、前記複数の監視端末のそれぞれを利用する監視者の属性情報をさらに取得し、
前記決定部は、前記属性情報にさらに基づいて、前記複数の撮像画像のそれぞれを表示させる監視端末を決定する、請求項1~4の何れか一項に記載の画像管理装置。
【請求項9】
画像管理装置と複数の監視端末とを有する画像管理システムであって、
前記画像管理装置は、
複数の飛行ロボットのそれぞれが撮像した複数の撮像画像を受信する受信部と、
前記複数の飛行ロボットのそれぞれが飛行する飛行エリアに含まれる監視対象物件の警備状態を取得する取得部と、
前記警備状態に基づいて、前記複数の監視端末のうち、前記複数の撮像画像のそれぞれを表示させる監視端末を決定する決定部と、
前記複数の撮像画像のそれぞれを、前記決定部により決定された監視端末に出力する出力部と、を有し、
前記監視端末は、前記画像管理装置から出力された撮像画像を表示する表示部を有する、
ことを特徴とする画像管理システム。
【請求項10】
複数の飛行ロボットのそれぞれが撮像した複数の撮像画像を受信し、
前記複数の飛行ロボットのそれぞれが飛行する飛行エリアに含まれる監視対象物件の警備状態を取得し、
前記警備状態に基づいて、複数の監視端末のうち、前記複数の撮像画像のそれぞれを表示させる監視端末を決定し、
前記複数の撮像画像のそれぞれを、前記決定された監視端末に出力する、
ことを特徴とする画像管理方法。
発明の詳細な説明
【技術分野】
【0001】
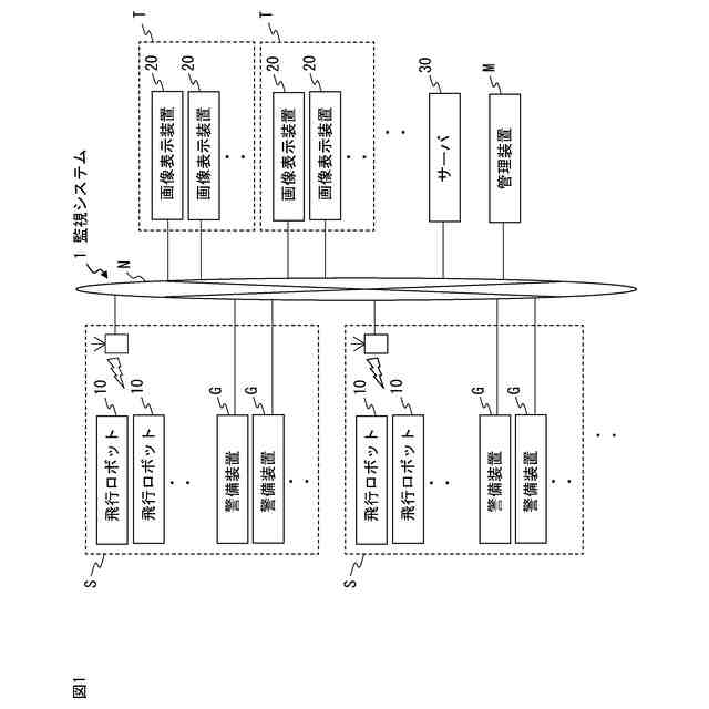
本発明は、複数の飛行ロボットのそれぞれが撮像した複数の撮像画像を管理する画像管理装置、画像管理システム及び画像管理方法に関する。
続きを表示(約 1,200 文字)
【背景技術】
【0002】
近年、駅、商業施設、発電所等の監視対象物件の周囲を自律して飛行し、監視対象物件を撮像した画像を監視者が利用する監視端末に送信する飛行ロボットが開発されている。監視端末は、監視者が監視対象物件を効率良く監視できるように、複数の飛行ロボットのそれぞれが撮像した複数の画像を表示する。
【0003】
例えば、特許文献1には、複数の飛行体から提供される画像を含む情報を表示する情報表示方法が開示されている。この情報表示方法では、操作パネルを利用して複数地点から遠隔操作を行う場合には、操作を行う主導権を有する端末が互いに認識可能になるような表示をする。
【先行技術文献】
【特許文献】
【0004】
特開2019-195174号公報
【発明の概要】
【発明が解決しようとする課題】
【0005】
複数の飛行ロボットのそれぞれが撮像した複数の撮像画像を複数の監視端末に出力する場合、各撮像画像を出力する監視端末を適切に決定することが求められている。
【0006】
本発明の目的は、複数の飛行ロボットのそれぞれが撮像した複数の撮像画像を出力する監視端末を適切に決定することができる画像管理装置、画像管理システム及び画像管理方法を提供することにある。
【課題を解決するための手段】
【0007】
かかる課題を解決するため本発明は、複数の飛行ロボットのそれぞれが撮像した複数の撮像画像を受信する受信部と、複数の飛行ロボットのそれぞれが飛行する飛行エリアに含まれる監視対象物件の警備状態を取得する取得部と、警備状態に基づいて、複数の監視端末のうち、複数の撮像画像のそれぞれを表示させる監視端末を決定する決定部と、複数の撮像画像のそれぞれを、決定部により決定された監視端末に出力する出力部と、を有する画像管理装置を提供する。
【0008】
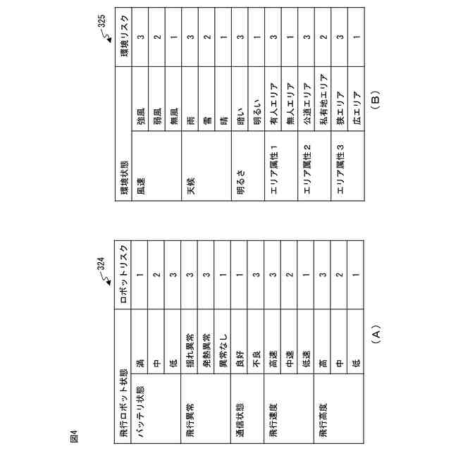
この画像管理装置において、決定部は、複数の監視端末のそれぞれに、監視対象物件の警備状態が同一である飛行ロボットが撮像した撮像画像を優先的に割り当てることが好適である。
【0009】
この画像管理装置において、決定部は、警備状態が異常が検出されている状態である監視対象物件の飛行エリアを飛行する飛行ロボットが撮像した撮像画像と、警備状態が異常が検出されていない状態である監視対象物件の飛行エリアを飛行する飛行ロボットが撮像した撮像画像とを別個の監視端末に割り当てることが好適である。
【0010】
この画像管理装置において、決定部は、警備状態が警戒セット状態である監視対象物件の飛行エリアを飛行する飛行ロボットが撮像した撮像画像と、警備状態が警戒解除状態である監視対象物件の飛行エリアを飛行する飛行ロボットが撮像した撮像画像とを別個の監視端末に割り当てることが好適である。
(【0011】以降は省略されています)
この特許をJ-PlatPat(特許庁公式サイト)で参照する
関連特許
セコム株式会社
自律移動ロボット
19日前
セコム株式会社
火災監視システム
26日前
セコム株式会社
表示機能付き認証装置
19日前
セコム株式会社
生活見守りシステム及びプログラム
19日前
セコム株式会社
データ処理装置及びデータ処理方法
26日前
セコム株式会社
生活見守りシステム及びプログラム
19日前
セコム株式会社
自律移動ロボットおよび制御システム
19日前
セコム株式会社
自律移動ロボットおよび制御システム
19日前
セコム株式会社
対話システム、対話方法及びセンタ装置
27日前
セコム株式会社
センタ装置、対話システム及び対話方法
27日前
セコム株式会社
端末所持者検知装置及び端末所持者検知方法
27日前
セコム株式会社
飛行ロボットの画像表示装置及び画像表示方法
19日前
セコム株式会社
飛行ロボットの画像表示装置及び画像表示方法
19日前
株式会社デンソーウェーブ
通行管理システム
20日前
セコム株式会社
飛行ロボットの画像表示装置および画像表示方法
20日前
セコム株式会社
飛行ロボットの画像表示装置および画像表示方法
20日前
セコム株式会社
自律飛行ロボットの飛行制御システム及び飛行制御方法
20日前
セコム株式会社
飛行ロボットの画像管理装置、画像管理システム及び画像管理方法
19日前
セコム株式会社
飛行ロボットの画像管理装置、画像管理システム及び画像管理方法
19日前
セコム株式会社
飛行ロボットの画像管理装置、画像管理システム及び画像管理方法
19日前
セコム株式会社
飛行ロボットの画像管理装置、画像管理システム及び画像管理方法
19日前
セコム株式会社
データ処理装置、学習データ生成装置、データ処理方法及び学習データ生成方法
22日前
セコム株式会社
警備システム、携帯端末、プログラム及び警備方法
1日前
セコム株式会社
警備システム、携帯端末、プログラム及び警備方法
1日前
セコム株式会社
携帯端末、警備システム、プログラム及び表示方法
1か月前
日本精機株式会社
警報システム
1か月前
個人
自動電動車椅子
1か月前
株式会社SUBARU
車両
20日前
スズキ株式会社
運転支援装置
1か月前
エムケー精工株式会社
車両誘導装置
2か月前
ニッタン株式会社
検知器
1か月前
ニッタン株式会社
検知器
1か月前
ニッタン株式会社
発信機
2か月前
個人
磁気路上での車両の路線離脱防御
1か月前
ニッタン株式会社
発信機
2か月前
株式会社国際電気
防災システム
2か月前
続きを見る
他の特許を見る