TOP
|
特許
|
意匠
|
商標
特許ウォッチ
Twitter
他の特許を見る
公開番号
2025155279
公報種別
公開特許公報(A)
公開日
2025-10-14
出願番号
2024059020
出願日
2024-04-01
発明の名称
印刷装置
出願人
理想科学工業株式会社
代理人
個人
,
個人
,
個人
主分類
B41J
29/38 20060101AFI20251006BHJP(印刷;線画機;タイプライター;スタンプ)
要約
【課題】特定のキーワードを含む印刷ジョブに対して複数の印刷設定を用いた定期的な印刷を行うような場合において、印刷ジョブを出力させる際に都度、印刷設定を行うことなく、複数の印刷設定を用いて印刷することで印刷設定の設定回数を減らす。
【解決手段】取得したジョブに特定のキーワードを含む場合に、特定のキーワードに対して、異なる印刷設定を持つ作成済みの複数のキューを割り当てるキュー割り当て手段91と、キーワードに割り当てられている複数のキューにジョブに含まれるファイルをリダイレクトするリダイレクト手段92と、を備えたことを特徴とする印刷装置。
【選択図】 図1
特許請求の範囲
【請求項1】
取得したジョブに特定のキーワードを含む場合に、前記特定のキーワードに対して、異なる印刷設定を持つ作成済みの複数のキューを割り当てるキュー割り当て手段と、
前記キーワードに割り当てられている複数のキューに前記ジョブに含まれるファイルをリダイレクトするリダイレクト手段と、
を備えたことを特徴とする印刷装置。
発明の詳細な説明
【技術分野】
【0001】
本発明は、印刷設定の設定回数を減らす印刷装置に関する。
続きを表示(約 1,500 文字)
【背景技術】
【0002】
従来、コンピュータにより生成された印刷データを、ネットワークを介して受信し、受信した印刷データをプリントキューに蓄積し、プリントキューに蓄積した印刷データに基づいて順次印刷処理を実行する印刷装置(画像形成装置)がよく知られている。
【0003】
特許文献1には、画像処理装置での処理実行を指示するためのプリントキューが割り当てられたオブジェクトを管理可能な情報処理装置であって、別の情報処理装置で管理されているオブジェクトに割り当てられているプリントキューに対応する画像処理装置と、情報処理装置に登録されているプリントキューに対応する画像処理装置が同一であるか否かを判定し、同一であると判定された場合、情報処理装置に登録されているプリントキューを情報処理装置で表示すべきオブジェクトに割り当てる設定を行う情報処理装置に関する技術が開示されている。
【先行技術文献】
【特許文献】
【0004】
特開2019-95873号公報
【発明の概要】
【発明が解決しようとする課題】
【0005】
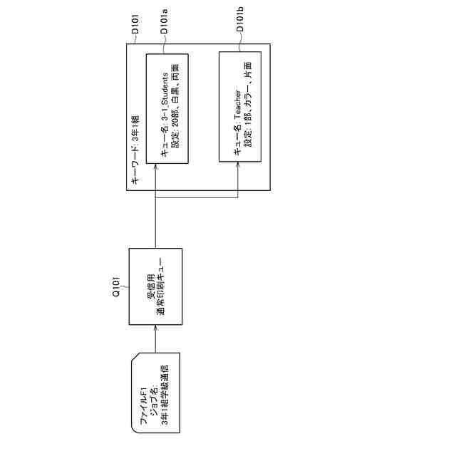
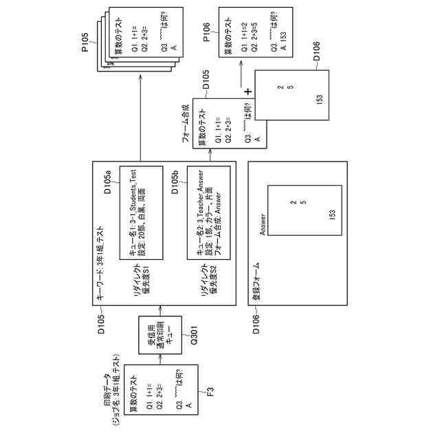
ここで、学校や企業などのような特定の集団や組織において、例えば、問題用紙を3年1組用として20部印刷し、3年2組用として17部印刷したい場合など、1つのデータに対して複数の印刷設定を用いた定期的な印刷を行うことがよくある。
【0006】
このような場合、特許文献1に記載の技術では、プリントキューが割り当てられたオブジェクトを管理するが、印刷を実行する際、何度も印刷設定を変更しながら印刷を行うことは手間となるという課題があった。
【0007】
本発明は、上記課題に鑑みてなされたものであり、印刷設定の設定回数を減らすことができる印刷装置を提供することを目的とする。
【課題を解決するための手段】
【0008】
上記目的を達成するため、本発明に係る印刷装置の第1の特徴は、
取得したジョブに特定のキーワードを含む場合に、前記特定のキーワードに対して、異なる印刷設定を持つ作成済みの複数のキューを割り当てるキュー割り当て手段と、
前記キーワードに割り当てられている複数のキューに前記ジョブに含まれるファイルをリダイレクトするリダイレクト手段と、
を備えたことにある。
【発明の効果】
【0009】
本発明に係る印刷装置の特徴によれば、印刷設定の設定回数を減らすことができる。
【図面の簡単な説明】
【0010】
本発明の実施例1のプリンタネットワークシステムの構成図である。
本発明の実施例1のプリンタネットワークシステムが備えるCPUが有するキュー割り当て手段およびリダイレクト手段の作用を説明した説明図である。
本発明の実施例2のプリンタネットワークシステムにおける優先度の設定を説明した図である。
本発明の実施例2のプリンタネットワークシステムが備えるCPUが有するキュー割り当て手段およびリダイレクト手段の作用を説明した説明図である。
本発明の実施例2のプリンタネットワークシステムにおける処理内容を示したフローチャートである。
本発明の実施例3のプリンタネットワークシステムが備えるCPUが有するキュー割り当て手段およびリダイレクト手段の作用を説明した説明図である。
【発明を実施するための形態】
(【0011】以降は省略されています)
この特許をJ-PlatPat(特許庁公式サイト)で参照する
関連特許
個人
箔熱転写装置
1か月前
シヤチハタ株式会社
印判
4か月前
東レ株式会社
凸版印刷版原版
10か月前
シヤチハタ株式会社
反転式印判
9か月前
三菱製紙株式会社
感熱記録材料
10か月前
三光株式会社
感熱記録材料
6か月前
キヤノン株式会社
記録装置
1か月前
独立行政法人 国立印刷局
印刷物
7か月前
株式会社リコー
液体吐出装置
8か月前
株式会社リコー
液体吐出装置
6か月前
独立行政法人 国立印刷局
貼付装置
1か月前
株式会社リコー
画像形成装置
1か月前
フジコピアン株式会社
熱転写シート
11か月前
株式会社リコー
液体吐出装置
2か月前
独立行政法人 国立印刷局
貼付機構
2か月前
株式会社リコー
液体吐出装置
4か月前
株式会社リコー
画像形成装置
14日前
独立行政法人 国立印刷局
記録媒体
8か月前
株式会社リコー
液体吐出装置
7か月前
株式会社リコー
印刷システム
18日前
日本製紙株式会社
感熱記録体
7か月前
株式会社リコー
液体吐出装置
5か月前
株式会社リコー
画像形成装置
18日前
株式会社リコー
液体吐出装置
7か月前
株式会社リコー
液体吐出装置
4か月前
理想科学工業株式会社
印刷装置
22日前
キヤノン株式会社
情報処理装置
9か月前
独立行政法人 国立印刷局
潜像印刷物
2か月前
ブラザー工業株式会社
プリンタ
2か月前
ブラザー工業株式会社
プリンタ
6か月前
独立行政法人 国立印刷局
潜像形成体
14日前
ブラザー工業株式会社
プリンタ
6か月前
キヤノン株式会社
印刷制御装置
10か月前
ブラザー工業株式会社
プリンタ
4か月前
フジコピアン株式会社
中間転写シート
10か月前
ブラザー工業株式会社
プリンタ
9か月前
続きを見る
他の特許を見る