TOP
|
特許
|
意匠
|
商標
特許ウォッチ
Twitter
他の特許を見る
10個以上の画像は省略されています。
公開番号
2025155343
公報種別
公開特許公報(A)
公開日
2025-10-14
出願番号
2024059137
出願日
2024-04-01
発明の名称
印刷システム、画像形成装置とその制御方法、及びプログラム
出願人
キヤノン株式会社
代理人
弁理士法人大塚国際特許事務所
主分類
B41J
29/38 20060101AFI20251006BHJP(印刷;線画機;タイプライター;スタンプ)
要約
【課題】画像形成装置と印刷制御装置が電源連動技術に接続されている場合、印刷制御装置を単体でシャットダウンしている状態で印刷制御装置の電源をONにするためには、画像形成装置の電源をOFF/ONするか、画像形成装置の再起動が必要であった。
【解決手段】画像形成装置と印刷制御装置とを有する印刷システムにおいて、画像形成装置は、画像形成装置の電源状態を示す第1信号線と印刷制御装置の電源状態を示す第2信号線とを含むケーブルを介して印刷制御装置とのインタフェースを制御し、印刷制御装置の操作が指示されたとき、第2信号線が前記印刷制御装置の電源がONである状態の場合は、印刷制御装置を制御するための情報を印刷制御装置に要求し、第2信号線が印刷制御装置の電源がOFFである状態の場合は、第1信号線により画像形成装置が電源ONであることを印刷制御装置に通知する。印刷制御装置は、印刷制御装置の電源がOFFであるときに第1信号線が前記電源ONの状態を示すことに応じて印刷制御装置を起動する。
【選択図】 図6A
特許請求の範囲
【請求項1】
画像形成装置と印刷制御装置とを有する印刷システムであって、
前記画像形成装置は、
前記画像形成装置の電源状態を示す第1信号線と前記印刷制御装置の電源状態を示す第2信号線とを含むケーブルを介して前記印刷制御装置とのインタフェースを制御するインタフェース手段と、
前記印刷制御装置の操作が指示されたとき、前記第2信号線が前記印刷制御装置の電源がONである状態の場合は、前記印刷制御装置を制御するための情報を前記印刷制御装置に要求し、
前記第2信号線が前記印刷制御装置の電源がOFFである状態の場合は、前記第1信号線により前記画像形成装置が電源ONであることを前記印刷制御装置に通知するよう制御する第1制御手段と、を有し、
前記印刷制御装置は、
前記印刷制御装置の電源がOFFであるときに前記第1信号線が前記電源ONの状態を示すことに応じて前記印刷制御装置を起動するよう制御する第2制御手段を、
有することを特徴とする印刷システム。
続きを表示(約 1,200 文字)
【請求項2】
前記印刷制御装置を制御するための情報は、前記印刷制御装置を制御するための画面情報であり、
前記画像形成装置は、前記画面情報に基づく画面を表示し、当該画面を介してユーザの操作を受付ける操作手段を、更に有することを特徴とする請求項1に記載の印刷システム。
【請求項3】
前記印刷制御装置の操作の指示は、前記操作手段からの指示であることを特徴とする請求項2に記載の印刷システム。
【請求項4】
前記操作手段により前記印刷制御装置のシャットダウンが指示されると、前記第1制御手段は、前記第1信号線により前記画像形成装置の電源がOFFであることを前記印刷制御装置に通知し、
前記第2制御手段は、前記第1信号線が前記画像形成装置の電源がOFFである状態に応じて前記印刷制御装置をシャットダウンさせるよう制御することを特徴とする請求項2に記載の印刷システム。
【請求項5】
前記第1制御手段は、前記第2信号線が前記印刷制御装置の電源がOFFである状態に応じて前記操作手段に前記印刷制御装置がシャットダウンしたことを表示させることを特徴とする請求項3に記載の印刷システム。
【請求項6】
ネットワークを介して接続される情報処理装置を、更に有し、
前記画像形成装置は、前記情報処理装置からの要求に応じて前記画像形成装置の状態を示す画面情報を前記情報処理装置に送信することを特徴とする請求項1に記載の印刷システム。
【請求項7】
前記印刷制御装置の操作の指示は、前記画像形成装置の状態を示す画面情報を表示する画面を介して前記情報処理装置からなされることを特徴とする請求項6に記載の印刷システム。
【請求項8】
前記画像形成装置は、前記情報処理装置からの前記印刷制御装置の操作の指示に応じて、前記印刷制御装置の接続情報を前記情報処理装置に送信することを特徴とする請求項7に記載の印刷システム。
【請求項9】
前記印刷制御装置は前記ネットワークに接続され、
前記第2制御手段は、前記印刷制御装置の電源がOFFのとき前記ネットワークを介して前記情報処理装置から電源をONする指示を受付けると前記印刷制御装置を起動し、前記第2信号線を前記印刷制御装置の電源がONの状態にすることを特徴とする請求項6に記載の印刷システム。
【請求項10】
前記第2制御手段は、更に、前記印刷制御装置が起動したことを前記ネットワークを介して前記画像形成装置に通知し、
前記第1制御手段は、前記通知に基づいて前記第1信号線を前記画像形成装置の電源がONである状態にすることを特徴とする請求項9に記載の印刷システム。
(【請求項11】以降は省略されています)
発明の詳細な説明
【技術分野】
【0001】
本発明は、 印刷システム、画像形成装置とその制御方法、及びプログラムに関する。
続きを表示(約 1,700 文字)
【背景技術】
【0002】
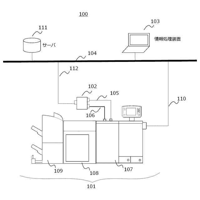
画像形成装置と印刷制御装置とを接続したシステムにおいて、画像形成装置の電源をONにすると自動的に印刷制御装置をONにすることでユーザの利便性を向上させる電源連動技術がある。
【0003】
特許文献1には、外付けプリントサーバを接続した複写機において、外付けプリントサーバの電源スイッチにアクセスせずに外付けプリントサーバの電源をON/OFFをさせること、また外付けプリントサーバを単体で使用できる技術が記載されている。これによれば、ネットワークケーブルとは別の印刷データを送信するためのビデオケーブルを用い、複写機の電源ON/OFFを示す信号をそのケーブルを介してプリントサーバに伝えることで、プリントサーバは、その信号に基づいて電源を制御している。
【0004】
このようなプリントサーバ(印刷制御装置)には、キーボード、ポインティングデバイス、ディスプレイへの出力ポートを有さず、画像形成装置の背面に収まるよう、コンパクトに設計されているものがある。このような印刷制御装置は、画像形成装置のユーザインタフェース(UI)から指示して印刷ジョブの投入や、印刷制御装置の制御を行うように設計されている。このためユーザは、印刷制御装置に物理アクセスすることなく、画像形成装置のUI操作で印刷制御装置を操作することができる。
【0005】
また画像形成装置のUSBポートなどにUSB-LANデバイスを接続することで、PCから印刷制御装置を経由して画像形成装置に印刷ジョブを投入する系と、PCから画像形成装置に直接印刷ジョブを投入する系の2つのジョブ投入経路を実現できる。
【0006】
また画像形成装置を起動状態にしておき、印刷制御装置のみをシャットダウンする技術がある。画像形成装置のUIから印刷制御装置のみのシャットダウン(単体でのシャットダウン)を指示すると、印刷制御装置はシャットダウン処理を行う。このとき画像形成装置は、画像形成装置の電源ON/OFFを示す信号をOFFにし、印刷制御装置をシャットダウンの状態に保つというものである。この技術により、印刷制御装置単体でシャットダウンした後でも、継続して画像形成装置単体で用紙登録の受付けが可能となるだけではなく、PCから直接印刷ジョブを受付けて印刷することができる。
【先行技術文献】
【特許文献】
【0007】
特開2019-200514号公報
【発明の概要】
【発明が解決しようとする課題】
【0008】
印刷制御装置を単体でシャットダウンした後、画像形成装置の使用を終えて画像形成装置をシャットダウンすると、画像形成装置と印刷制御装置の両方がシャットダウン状態となる。この後、画像形成装置の電源をONにすると、電源連動技術によって印刷制御装置が起動される。しかしながら、印刷制御装置を単体でシャットダウンしているときは、画像形成装置の電源OFF/ONを示す信号がOFFとなっている。この状態で再び、印刷制御装置の電源をONにするためには、一度、画像形成装置の電源をOFF/ONするか、或いは画像形成装置を再起動し、画像形成装置と印刷制御装置が電源連動できる状態にする必要がある。しかし画像形成装置の電源をOFF、又は、画像形成装置を再起動してしまうと、その間、画像形成装置が使用できない状態となり、ユーザにとって使い勝手が悪くなる。
【0009】
また画像形成装置のUIは、限られたスペースを最大限活用する形で画像形成装置、並びに、印刷制御装置を使用するボタンがレイアウトされている。この状態で、印刷制御装置を起動させるためだけのボタンを新たに用意すると、限られた画面リソースが無駄に消費されてしまうという課題がある。
【0010】
本発明の目的は、上記従来技術の課題の少なくとも一つを解決することにある。
(【0011】以降は省略されています)
この特許をJ-PlatPat(特許庁公式サイト)で参照する
関連特許
キヤノン株式会社
トナー
16日前
キヤノン株式会社
トナー
11日前
キヤノン株式会社
トナー
11日前
キヤノン株式会社
トナー
11日前
キヤノン株式会社
表示装置
23日前
キヤノン株式会社
電子機器
1か月前
キヤノン株式会社
撮像装置
12日前
キヤノン株式会社
定着装置
1か月前
キヤノン株式会社
定着装置
1か月前
キヤノン株式会社
測距装置
4日前
キヤノン株式会社
撮像装置
1か月前
キヤノン株式会社
電子機器
1か月前
キヤノン株式会社
記録装置
1か月前
キヤノン株式会社
電子機器
20日前
キヤノン株式会社
発光装置
23日前
キヤノン株式会社
記録装置
9日前
キヤノン株式会社
撮像装置
16日前
キヤノン株式会社
定着装置
10日前
キヤノン株式会社
記録装置
1か月前
キヤノン株式会社
収容装置
24日前
キヤノン株式会社
撮像装置
1か月前
キヤノン株式会社
定着装置
24日前
キヤノン株式会社
現像装置
9日前
キヤノン株式会社
現像容器
9日前
キヤノン株式会社
現像装置
9日前
キヤノン株式会社
現像容器
9日前
キヤノン株式会社
電子機器
24日前
キヤノン株式会社
電子機器
24日前
キヤノン株式会社
撮影装置
9日前
キヤノン株式会社
撮像装置
24日前
キヤノン株式会社
撮像装置
1か月前
キヤノン株式会社
定着装置
1か月前
キヤノン株式会社
定着装置
1か月前
キヤノン株式会社
撮像装置
1か月前
キヤノン株式会社
電子機器
18日前
キヤノン株式会社
記録装置
16日前
続きを見る
他の特許を見る