TOP
|
特許
|
意匠
|
商標
特許ウォッチ
Twitter
他の特許を見る
公開番号
2025158514
公報種別
公開特許公報(A)
公開日
2025-10-17
出願番号
2024061126
出願日
2024-04-04
発明の名称
検知装置、画像形成装置
出願人
キヤノン株式会社
代理人
個人
,
個人
,
個人
,
個人
,
個人
主分類
G03G
21/00 20060101AFI20251009BHJP(写真;映画;光波以外の波を使用する類似技術;電子写真;ホログラフイ)
要約
【課題】 センサで検知した結果に基づき異常が発生したと判断した場合、異常の要因がシートによるものなのか、センサによるものなのか、判別することは困難であった。
【解決手段】 制御手段は、検知手段の検知結果に基づき異常が発生していると判断した場合、検知手段の電源をオフした後、検知手段の電源をオンし、再び検知手段による検知結果を取得することで、シートが要因の異常であるか、検知手段が要因の異常であるかを判別する。
【選択図】 図6
特許請求の範囲
【請求項1】
シートを検知する検知手段と、
前記検知手段の検知結果に基づき、シートの搬送方向と直交する方向におけるシートの端部を検知する制御手段と、を備え、
前記制御手段は、前記検知手段の検知結果に基づき異常が発生していると判断した場合、前記検知手段の電源をオフした後、前記検知手段の電源をオンし、再び前記検知手段による検知結果を取得することで、シートが要因の異常であるか、前記検知手段が要因の異常であるかを判別することを特徴とする検知装置。
続きを表示(約 550 文字)
【請求項2】
シートが要因の異常であると判別した場合は、シートが要因であることを示す第1のメッセージを表示し、前記検知手段が要因の異常であると判別した場合は、前記検知手段が要因の異常であることを示す第2のメッセージを表示する表示手段を備えることを特徴とする請求項1に記載の検知装置。
【請求項3】
前記制御手段は、再び取得した検知結果に基づき、再び異常が発生していると判断した場合、前記検知手段が要因の異常であると判別することを特徴とする請求項1に記載の検知装置。
【請求項4】
前記制御手段は、シートのサイズ情報を受信し、前記サイズ情報に基づきシートの端部が検知される閾値範囲を設定することを特徴とする請求項1に記載の検知装置。
【請求項5】
前記制御手段は、前記検知手段の検知結果に基づくシートの端部の位置が前記閾値範囲に入っていないと判断した場合、シートが要因の異常であると判別することを特徴とする請求項4に記載の検知装置。
【請求項6】
シートを搬送する搬送手段と、
シートに画像を形成する画像形成手段と、
請求項1乃至5のいずれか1項に記載の検知装置と、を備えることを特徴とする画像形成装置。
発明の詳細な説明
【技術分野】
【0001】
本発明は、シートを検知する検知装置に関するものである。
続きを表示(約 1,100 文字)
【背景技術】
【0002】
従来、画像形成装置においては、特許文献1に示すように搬送しているシートの傾きをセンサにより検知して、シートと形成する画像との相対位置関係を補正する方法が知られている。
【先行技術文献】
【特許文献】
【0003】
特開2012-3174
【発明の概要】
【発明が解決しようとする課題】
【0004】
しかしながら、センサで検知した結果に基づき異常が発生したと判断した場合、異常の要因がシートによるものなのか、センサによるものなのか、判別することは困難であった。
【0005】
本出願にかかる発明は、上記の状況を鑑みてなされたものであり、異常の要因を判別できる装置の提供を目的とする。
【課題を解決するための手段】
【0006】
上記目的を達成するために、シートを検知する検知手段と、前記検知手段の検知結果に基づき、シートの搬送方向と直交する方向におけるシートの端部を検知する制御手段と、を備え、前記制御手段は、前記検知手段の検知結果に基づき異常が発生していると判断した場合、前記検知手段の電源をオフした後、前記検知手段の電源をオンし、再び前記検知手段による検知結果を取得することで、シートが要因の異常であるか、前記検知手段が要因の異常であるかを判別することを特徴とする。
【発明の効果】
【0007】
本発明によれば、異常の要因を判別できる。
【図面の簡単な説明】
【0008】
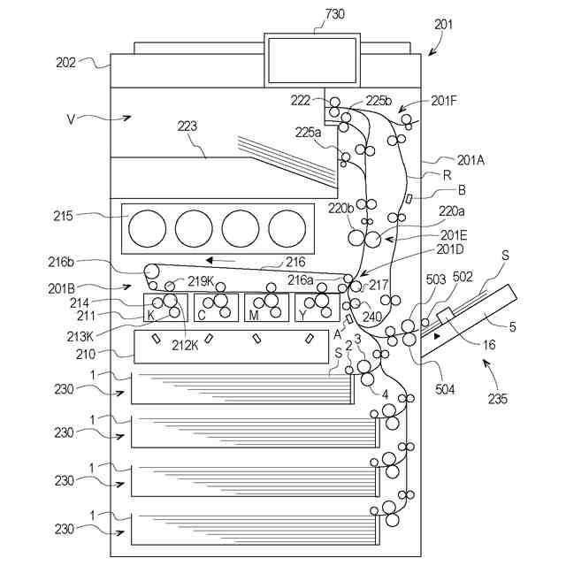
画像形成装置の概略構成図
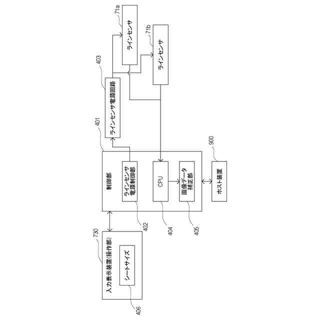
画像形成装置の制御ブロック図
シートの位置とラインセンサを示した模式図
シートの位置とラインセンサを示した模式図
画像形成位置の補正方法を示したフローチャート
異常の要因の判別方法を示したフローチャート
異常の要因の判別方法を示したフローチャート
【発明を実施するための形態】
【0009】
以下、図面を用いて本発明の実施の形態について説明する。尚、以下の実施の形態は特許請求の範囲に係る発明を限定するものでなく、また実施の形態で説明されている特徴の組合せの全てが発明の解決手段に必須のものとは限らない。
【実施例】
【0010】
(画像形成装置)
図1は、画像形成装置201の概略構成図である。図2は、画像形成装置201の制御ブロック図である。図1、図2を用いて、画像形成装置201の動作を説明する。
(【0011】以降は省略されています)
この特許をJ-PlatPat(特許庁公式サイト)で参照する
関連特許
キヤノン株式会社
トナー
12日前
キヤノン株式会社
トナー
12日前
キヤノン株式会社
トナー
17日前
キヤノン株式会社
トナー
12日前
キヤノン株式会社
現像容器
10日前
キヤノン株式会社
撮像装置
13日前
キヤノン株式会社
定着装置
1か月前
キヤノン株式会社
現像容器
10日前
キヤノン株式会社
撮像装置
25日前
キヤノン株式会社
電子機器
25日前
キヤノン株式会社
測距装置
5日前
キヤノン株式会社
現像装置
10日前
キヤノン株式会社
定着装置
1か月前
キヤノン株式会社
現像装置
10日前
キヤノン株式会社
収容装置
25日前
キヤノン株式会社
表示装置
24日前
キヤノン株式会社
発光装置
24日前
キヤノン株式会社
電子機器
21日前
キヤノン株式会社
撮像装置
17日前
キヤノン株式会社
記録装置
17日前
キヤノン株式会社
撮影装置
10日前
キヤノン株式会社
電子機器
19日前
キヤノン株式会社
定着装置
25日前
キヤノン株式会社
電子機器
25日前
キヤノン株式会社
撮像装置
1か月前
キヤノン株式会社
現像装置
3日前
キヤノン株式会社
定着装置
1か月前
キヤノン株式会社
定着装置
1か月前
キヤノン株式会社
記録装置
10日前
キヤノン株式会社
撮像装置
1か月前
キヤノン株式会社
記録装置
1か月前
キヤノン株式会社
撮像装置
1か月前
キヤノン株式会社
電子機器
1か月前
キヤノン株式会社
定着装置
11日前
キヤノン株式会社
記録装置
1か月前
キヤノン株式会社
現像剤容器
18日前
続きを見る
他の特許を見る