TOP
|
特許
|
意匠
|
商標
特許ウォッチ
Twitter
他の特許を見る
公開番号
2025160039
公報種別
公開特許公報(A)
公開日
2025-10-22
出願番号
2024063001
出願日
2024-04-09
発明の名称
配線回路基板、および、配線回路基板の製造方法
出願人
日東電工株式会社
代理人
弁理士法人いくみ特許事務所
主分類
H05K
1/09 20060101AFI20251015BHJP(他に分類されない電気技術)
要約
【課題】製造効率の低下を抑制しつつ、配線の腐食を抑制できる配線回路基板、および、配線回路基板の製造方法を提供する。
【解決手段】
配線回路基板1は、第1絶縁層12と、導体パターン14と、第2絶縁層16と、配線143と第2絶縁層16との間に配置され、配線143を覆い、端子141を覆わない第1ニッケル層15とを備える。第1ニッケル層15は、リンを含有し、第1ニッケル層15中のリンの含有割合は、6質量%以下である。
【選択図】図2
特許請求の範囲
【請求項1】
第1絶縁層と、
前記第1絶縁層上に配置され、端子と配線とを有する導体パターンと、
前記第1絶縁層上に配置され、前記配線を覆い、前記端子を覆わない第2絶縁層と、
前記配線と前記第2絶縁層との間に配置され、前記配線を覆い、前記端子を覆わない第1ニッケル層と
を備え、
前記第1ニッケル層は、リンを含有し、
前記第1ニッケル層中のリンの含有割合は、6質量%以下である、配線回路基板。
続きを表示(約 620 文字)
【請求項2】
前記端子と異なる金属からなり、前記端子を覆う被覆層を、さらに有し、
前記被覆層は、前記第1ニッケル層と異なる第2ニッケル層を有する、請求項1に記載の配線回路基板。
【請求項3】
前記第2ニッケル層は、リンを含有し、
前記第2ニッケル層中のリンの含有割合は、6質量%よりも多い、請求項2に記載の配線回路基板。
【請求項4】
前記第1ニッケル層の厚みは、300nm以下である、請求項1に記載の配線回路基板。
【請求項5】
前記第1ニッケル層は、無電解ニッケル-リンメッキ層である、請求項1に記載の配線回路基板。
【請求項6】
請求項1~5のいずれか一項に記載の配線回路基板を製造する方法であって、
前記第1絶縁層上に、前記導体パターンを形成する導体パターン形成工程と、
前記配線および前記端子を覆う前記第1ニッケル層を形成する第1ニッケル層形成工程と、
前記第1絶縁層上に前記第2絶縁層を形成する第2絶縁層形成工程と、
前記端子を覆う前記第1ニッケル層をエッチングによって除去する除去工程と
を含む、配線回路基板の製造方法。
【請求項7】
前記第1ニッケル層形成工程において、触媒を用いて、前記配線および前記端子に前記第1ニッケル層を無電解メッキする、請求項6に記載の配線回路基板の製造方法。
発明の詳細な説明
【技術分野】
【0001】
本発明は、配線回路基板、および、配線回路基板の製造方法に関する。
続きを表示(約 860 文字)
【背景技術】
【0002】
従来、絶縁層と、絶縁層上に配置される導体回路と、導体回路を覆うカバレーと、導体回路とカバレーとの間に配置される金属薄膜とを備える回路板が知られている。金属薄膜は、無電解メッキによって形成されるニッケルからなる(例えば、下記特許文献1参照。)。
【先行技術文献】
【特許文献】
【0003】
特開平11-233906号公報
【発明の概要】
【発明が解決しようとする課題】
【0004】
特許文献1に記載の回路板では、導体回路を形成した後、導体回路の全表面に金属薄膜を形成し、カバレーを形成した後、不要な部分の金属薄膜を除去している。
【0005】
この点、金属薄膜の除去に過大な時間がかかってしまうと、その分、製造効率が低下してしまう可能性がある。
【0006】
本発明は、製造効率の低下を抑制しつつ、配線の腐食を抑制できる配線回路基板、および、配線回路基板の製造方法を提供する。
【課題を解決するための手段】
【0007】
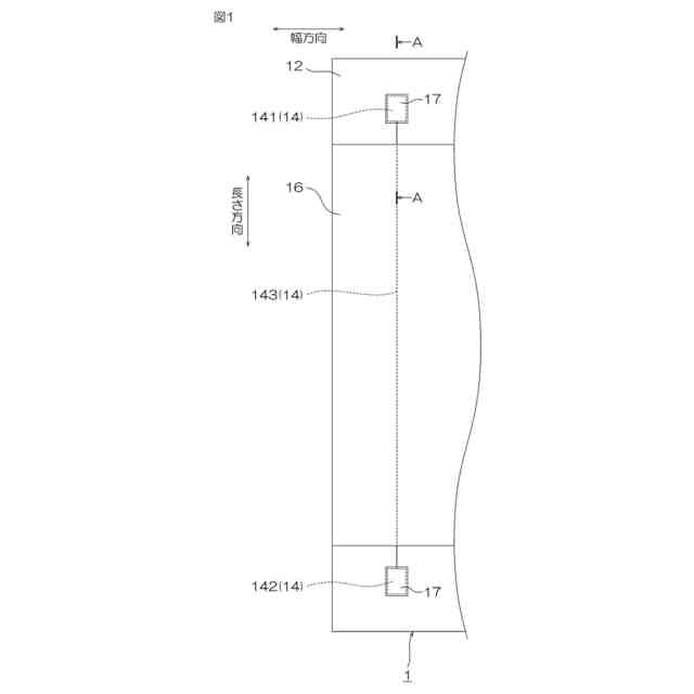
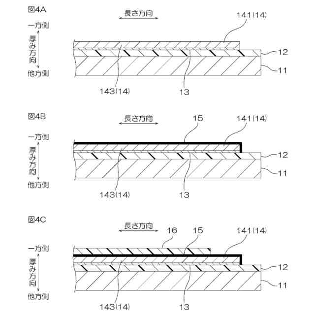
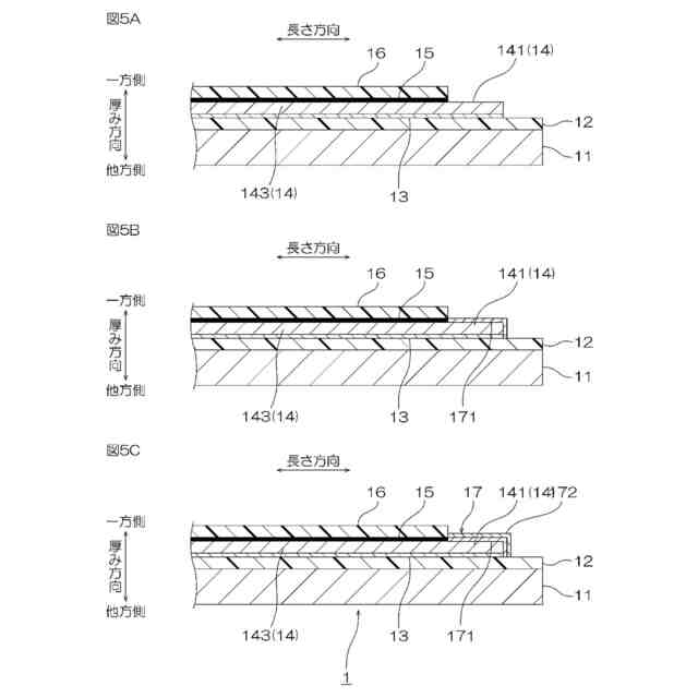
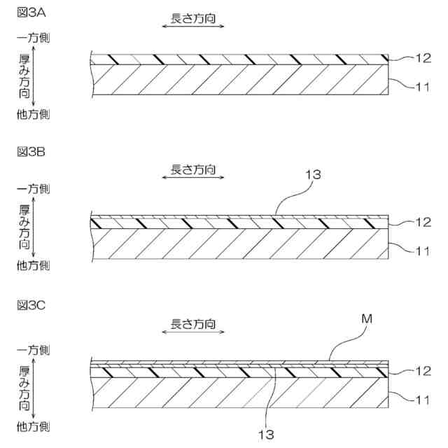
本発明[1]は、第1絶縁層と、前記第1絶縁層上に配置され、端子と配線とを有する導体パターンと、前記第1絶縁層上に配置され、前記配線を覆い、前記端子を覆わない第2絶縁層と、前記配線と前記第2絶縁層との間に配置され、前記配線を覆い、前記端子を覆わない第1ニッケル層とを備え、前記第1ニッケル層が、リンを含有し、前記第1ニッケル層中のリンの含有割合が、6質量%以下である、配線回路基板を含む。
【0008】
このような構成によれば、配線と第2絶縁層との間に第1ニッケル層が配置されている。
【0009】
そのため、第2絶縁層から配線を保護して、配線の腐食を抑制できる。
【0010】
また、第1ニッケル層のリンの含有割合が、6質量%以下に調整されている。
(【0011】以降は省略されています)
この特許をJ-PlatPat(特許庁公式サイト)で参照する
関連特許
日東電工株式会社
吸着材
23日前
日東電工株式会社
積層体
17日前
日東電工株式会社
照明装置
16日前
日東電工株式会社
電子装置
19日前
日東電工株式会社
発光装置
24日前
日東電工株式会社
シート体
12日前
日東電工株式会社
粘着シート
2日前
日東電工株式会社
光学積層体
1か月前
日東電工株式会社
粘着シート
16日前
日東電工株式会社
粘着シート
16日前
日東電工株式会社
粘着シート
5日前
日東電工株式会社
光学積層体
1か月前
日東電工株式会社
光ファイバ
18日前
日東電工株式会社
温度測定装置
18日前
日東電工株式会社
調光フィルム
17日前
日東電工株式会社
偏光フィルム
1か月前
日東電工株式会社
粘着剤組成物
18日前
日東電工株式会社
温度測定装置
18日前
日東電工株式会社
スイッチ装置
16日前
日東電工株式会社
粘着剤組成物
18日前
日東電工株式会社
配線回路基板
9日前
日東電工株式会社
複合ケーブル
1か月前
日東電工株式会社
スイッチ装置
24日前
日東電工株式会社
光学粘着シート
25日前
日東電工株式会社
光学粘着シート
25日前
日東電工株式会社
光学粘着シート
25日前
日東電工株式会社
表面保護シート
12日前
日東電工株式会社
反射防止フィルム
23日前
日東電工株式会社
ガラス樹脂複合体
1か月前
日東電工株式会社
反射防止フィルム
23日前
日東電工株式会社
ロール体の製造方法
27日前
日東電工株式会社
光学積層体の製造方法
24日前
日東電工株式会社
導光体、及び照明装置
16日前
日東電工株式会社
光学積層体の製造方法
24日前
日東電工株式会社
調光用導電性フィルム
1か月前
日東電工株式会社
光学積層体の製造方法
1か月前
続きを見る
他の特許を見る