TOP
|
特許
|
意匠
|
商標
特許ウォッチ
Twitter
他の特許を見る
10個以上の画像は省略されています。
公開番号
2025161213
公報種別
公開特許公報(A)
公開日
2025-10-24
出願番号
2024064215
出願日
2024-04-11
発明の名称
金属板の測定装置、測定方法、及び金属板の製造方法
出願人
大日本印刷株式会社
代理人
個人
,
個人
,
個人
,
個人
主分類
G01B
21/20 20060101AFI20251017BHJP(測定;試験)
要約
【課題】広範囲にわたり金属板の表面形状を連続的に測定することができる金属板の測定装置を提供する。
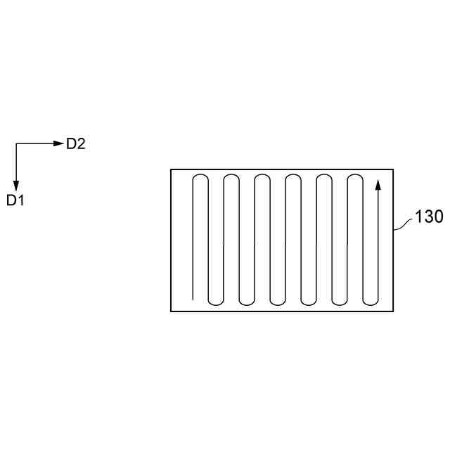
【解決手段】金属板の測定装置であって、金属板を長手方向D2に搬送する搬送機構と、金属板の第1面の表面形状を測定するセンサと、センサによる測定の際に金属板の第1面とは反対に位置する第2面が接触するステージと、第1工程、第2工程、及び第3工程を繰り返し実行する制御部と、を有し、第1程において、ステージに金属板が接触しない状態で、搬送機構により金属板を搬送し、第2工程において、金属板の搬送を停止し、搬送を停止した金属板の第2面をステージに接触させ、第3工程において、金属板の第2面をステージに接触した状態で、センサにより金属板の第1面の表面形状を測定し、ステージは、金属板が接触する面に、孔又は溝を有する、測定装置。
【選択図】図1
特許請求の範囲
【請求項1】
金属板の測定装置であって、
前記金属板を長手方向D2に搬送する搬送機構と、
前記金属板の第1面の表面形状を測定するセンサと、
前記センサによる測定の際に前記金属板の第1面とは反対に位置する第2面が接触するステージと、
第1工程、第2工程、及び第3工程を繰り返し実行する制御部と、を有し、
前記第1工程において、前記ステージに前記金属板が接触しない状態で、前記搬送機構により前記金属板を搬送し、
前記第2工程において、前記金属板の搬送を停止し、搬送を停止した前記金属板の前記第2面を前記ステージに接触させ、
前記第3工程において、前記金属板の前記第2面を前記ステージに接触した状態で、前記センサにより前記金属板の第1面の前記表面形状を測定し、
前記ステージは、前記金属板が接触する面に、孔又は溝を有する、
測定装置。
続きを表示(約 2,600 文字)
【請求項2】
前記金属板の長手方向D2の張力を調整する張力調整機構を有し、
前記制御部が、
前記第1工程において、前記張力調整機構により、前記金属板が前記ステージに接触しないように前記金属板の張力を調整して、前記搬送機構により前記金属板を搬送し、
前記第3工程において、前記金属板の搬送を停止し、前記張力調整機構により、前記金属板が前記ステージに接触するように前記金属板の張力を調整して、前記センサにより前記金属板の第1面の前記表面形状を測定するよう制御を行う、
請求項1に記載の測定装置。
【請求項3】
前記ステージに対して前記搬送機構が相対的に昇降する昇降機構を有し、
前記制御部が、
前記第1工程において、前記昇降機構より、前記金属板と前記ステージとが接触しないように前記金属板と前記ステージとの間隔を調整して、前記搬送機構により前記金属板を搬送し、
前記第3工程において、前記金属板の搬送を停止し、前記昇降機構より、前記金属板と前記ステージとが接触するように前記金属板と前記ステージとの間隔を調整して、前記センサにより前記金属板の第1面の前記表面形状を測定するよう制御を行う、
請求項1に記載の測定装置。
【請求項4】
前記金属板の長手方向D2の張力を調整する張力調整機構、及び、前記ステージに対して前記搬送機構が相対的に昇降する昇降機構の少なくとも一方を有し、
前記制御部が、
前記第1工程において、前記張力調整機構及び/又は前記昇降機構により、前記金属板が前記ステージに接触しないように、前記金属板の張力及び/又は前記金属板と前記ステージとの間隔を調整して、前記搬送機構により前記金属板を搬送し、
前記第3工程において、前記金属板の搬送を停止し、前記張力調整機構及び/又は前記昇降機構により、前記金属板が前記ステージに接触するように前記金属板の張力及び/又は前記金属板と前記ステージとの間隔を調整して、前記センサにより前記金属板の第1面の前記表面形状を測定するよう制御を行う、
請求項1に記載の測定装置。
【請求項5】
前記金属板の厚みは、5~100μmである、
請求項1に記載の測定装置。
【請求項6】
接触可能面積が、80%~99%である、
請求項1に記載の測定装置。
【請求項7】
前記搬送機構は、前記金属板を送り出す第1ロールと前記金属板を巻き取る第2ロールを有する、
請求項1に記載の測定装置。
【請求項8】
金属板の測定方法であって、
前記金属板を長手方向D2に搬送する搬送機構と、
前記金属板の第1面の表面形状を測定するセンサと、
前記センサによる測定の際に前記金属板の第1面とは反対に位置する第2面が接触するステージと、
第1工程、第2工程、及び第3工程を繰り返し実行する制御部と、を有する測定装置を用い、
前記第1工程において、前記ステージに前記金属板が接触しない状態で、前記搬送機構により前記金属板を搬送し、
前記第2工程において、前記金属板の搬送を停止し、搬送を停止した前記金属板の前記第2面を前記ステージに接触させ、
前記第3工程において、前記金属板の前記第2面を前記ステージに接触した状態で、前記センサにより前記金属板の第1面の前記表面形状を測定し、
前記ステージは、前記金属板が接触する面に、孔又は溝を有する、
測定方法。
【請求項9】
メタルマスクを製造するために用いられる金属板の製造方法であって、
母材を圧延して前記金属板を得る圧延工程と、
圧延した前記金属板を検査する検査工程と、を有し、
前記検査工程において、
前記金属板を長手方向D2に搬送する搬送機構と、
前記金属板の第1面の表面形状を測定するセンサと、
前記センサによる測定の際に前記金属板の第1面とは反対に位置する第2面が接触するステージと、
第1工程、第2工程、及び第3工程を繰り返し実行する制御部と、を有する測定装置を用い、
前記第1工程において、前記ステージに前記金属板が接触しない状態で、前記搬送機構により前記金属板を搬送し、
前記第2工程において、前記金属板の搬送を停止し、搬送を停止した前記金属板の前記第2面を前記ステージに接触させ、
前記第3工程において、前記金属板の前記第2面を前記ステージに接触した状態で、前記センサにより前記金属板の第1面の前記表面形状を測定し、
前記ステージは、前記金属板が接触する面に、孔又は溝を有する、
金属板の製造方法。
【請求項10】
複数の貫通孔が形成されたメタルマスクの製造方法であって、
金属板を準備する工程と、
前記金属板上にレジストパターンを形成するレジストパターン形成工程と、
前記金属板のうち前記レジストパターンによって覆われていない領域をエッチングし、前記金属板に、前記貫通孔を画成するようになる凹部を形成するエッチング工程と、を備え、
前記金属板を準備する工程において、
前記金属板を長手方向D2に搬送する搬送機構と、
前記金属板の第1面の表面形状を測定するセンサと、
前記センサによる測定の際に前記金属板の第1面とは反対に位置する第2面が接触するステージと、
第1工程、第2工程、及び第3工程を繰り返し実行する制御部と、を有する測定装置を用い、
前記第1工程において、前記ステージに前記金属板が接触しない状態で、前記搬送機構により前記金属板を搬送し、
前記第2工程において、前記金属板の搬送を停止し、搬送を停止した前記金属板の前記第2面を前記ステージに接触させ、
前記第3工程において、前記金属板の前記第2面を前記ステージに接触した状態で、前記センサにより前記金属板の第1面の前記表面形状を測定し、
前記ステージは、前記金属板が接触する面に、孔又は溝を有する、
メタルマスクの製造方法。
発明の詳細な説明
【技術分野】
【0001】
本発明は、金属板の測定装置、測定方法、及び金属板の製造方法に関する。
続きを表示(約 1,700 文字)
【背景技術】
【0002】
近年、スマートフォンやタブレットPC等の持ち運び可能なデバイスで用いられる表示装置に対して、高精細であること、例えば画素密度が500ppi以上であることが求められている。また、持ち運び可能なデバイスにおいても、ウルトラハイディフィニション(UHD)に対応することへの需要が高まっており、この場合、表示装置の画素密度が例えば800ppi以上であることが好ましい。
【0003】
表示装置の中でも、応答性の良さ、消費電力の低さやコントラストの高さのため、有機EL表示装置が注目されている。有機EL表示装置の画素を形成する方法として、所望のパターンで配列された貫通孔が形成されたメタルマスクを用い、所望のパターンで画素を形成する方法が知られている。具体的には、はじめに、有機EL表示装置用の基板に対してメタルマスクを密着させ、次に、密着させたメタルマスクおよび基板を共に蒸着装置に投入し、有機材料を基板に蒸着させる蒸着工程を行う。これによって、メタルマスクの貫通孔のパターンに対応したパターンで、基板上に、有機材料を含む画素を形成することができる。
【0004】
メタルマスクの製造方法としては、フォトリソグラフィー技術を用いたエッチングによって金属板に貫通孔を形成する方法が知られている。例えば、はじめに、金属板の第1面上に露光・現像処理によって第1レジストパターンを形成し、また金属板の第2面上に露光・現像処理によって第2レジストパターンを形成する。次に、金属板の第1面のうち第1レジストパターンによって覆われていない領域をエッチングして、金属板の第1面に第1凹部を形成する。その後、金属板の第2面のうち第2レジストパターンによって覆われていない領域をエッチングして、金属板の第2面に第2凹部を形成する。この際、第1凹部と第2凹部とが通じ合うようにエッチングを行うことにより、金属板を貫通する貫通孔を形成することができる。
【先行技術文献】
【特許文献】
【0005】
特開2014-148743号公報
【発明の概要】
【発明が解決しようとする課題】
【0006】
メタルマスクを作製するための金属板は、例えば、ニッケルを含む鉄合金からなる母材を圧延することによって作製される。金属板をより薄く圧延するほど、得られるメタルマスクの画素の寸法精度や位置精度が向上する。しかし、その一方で、圧延により少なからず金属板に波打ち形状が現れる。このような波打ち形状が現れると、金属板に形成される貫通孔の位置精度や寸法精度が低下する恐れがある。
【0007】
そのため、金属板の波打ち形状の評価は、金属板の品質保証の観点から重要となる。圧延して得られる金属板は非常に長尺なものとなる。そのため、金属板全体の品質保証という観点からは、金属板の波打ち形状の評価はより広範囲において実施されることが好ましい。
【0008】
しかしながら、従来の金属板の波打ち形状の測定装置は、金属板から切り出した測定サンプルを枚葉式に測定するものである。そのため、広範囲において金属板の波打ち形状の評価を実施することは困難である。
【0009】
また、フォトリソグラフィー技術を用いたエッチングプロセスを金属板のロールから行う場合には、金属板のロールの中間部分から測定サンプルを切り出すと、ロール自体が分断されてしまいエッチングプロセスへの影響が大きい。そのため、この場合には、金属板のロールの先端から測定サンプルを切り出すことになる。したがって、従来の枚葉式の測定装置では、金属板のロールの中間部分を含む広範囲の波打ち形状を評価することは困難であった。
【0010】
本発明は、上記問題点を鑑みてなされたものであり、より広範囲にわたり金属板の表面形状を連続的に測定することができる金属板の測定装置、測定方法、及び金属板の製造方法を提供することを目的とする。
【課題を解決するための手段】
(【0011】以降は省略されています)
この特許をJ-PlatPat(特許庁公式サイト)で参照する
関連特許
大日本印刷株式会社
印刷物
7日前
大日本印刷株式会社
印刷物
7日前
大日本印刷株式会社
太陽電池
3日前
大日本印刷株式会社
床用化粧材
10日前
大日本印刷株式会社
積層シート
14日前
大日本印刷株式会社
旅行記作成システム
今日
大日本印刷株式会社
調光部材及び合わせ板
今日
大日本印刷株式会社
積層体および包装容器
14日前
大日本印刷株式会社
積層体および包装容器
10日前
大日本印刷株式会社
再配線層及びその製造方法
9日前
大日本印刷株式会社
加飾シート及び樹脂成形品
10日前
大日本印刷株式会社
情報処理装置及びプログラム
15日前
大日本印刷株式会社
水素センサおよび水素検知システム
15日前
大日本印刷株式会社
位相差板、光学部材、及び、表示装置
10日前
大日本印刷株式会社
熱転写シートと中間転写媒体との組合せ
14日前
大日本印刷株式会社
情報処理装置、情報処理方法及びプログラム
15日前
大日本印刷株式会社
情報処理装置、情報処理方法及びプログラム
15日前
大日本印刷株式会社
情報処理システム、装着装置及びプログラム
今日
大日本印刷株式会社
加飾シート、外装部材の製造方法および外装部材
14日前
大日本印刷株式会社
加飾積層体、転写シート、加飾部材、及び移動体
14日前
大日本印刷株式会社
測定システム、測定方法、測定プログラム、物体
8日前
大日本印刷株式会社
化粧シート、化粧材、及び、化粧シートの製造方法
10日前
大日本印刷株式会社
化粧シート、化粧材、及び、化粧シートの製造方法
10日前
大日本印刷株式会社
金属板の測定装置、測定方法、及び金属板の製造方法
今日
大日本印刷株式会社
熱転写シートの洗浄方法およびリサイクル原料の製造方法
14日前
大日本印刷株式会社
熱転写シートの洗浄方法およびリサイクル原料の製造方法
14日前
大日本印刷株式会社
動画再生装置、装着装置、動画再生システム及びプログラム
7日前
大日本印刷株式会社
積層体及び包装材料
7日前
大日本印刷株式会社
薬剤一包化外部委託システム,分包管理装置およびその制御プログラム
15日前
大日本印刷株式会社
本人認証システム、端末装置、コンピュータプログラムおよび本人認証方法
15日前
大日本印刷株式会社
ブロー成形機のヒーター出力推論装置,方法およびプログラム,ならびに学習装置
14日前
大日本印刷株式会社
空中入力装置、空中入力表示装置
9日前
大日本印刷株式会社
発泡性接着シートおよび物品の製造方法
2日前
大日本印刷株式会社
電子情報記憶媒体、ICチップ、ICカード、初期応答データ出力方法、及びプログラム
15日前
大日本印刷株式会社
発泡性接着シートおよび物品の製造方法
2日前
大日本印刷株式会社
蒸着フィルム、積層体、包装材料及び包装容器
10日前
続きを見る
他の特許を見る