TOP
|
特許
|
意匠
|
商標
特許ウォッチ
Twitter
他の特許を見る
10個以上の画像は省略されています。
公開番号
2025161376
公報種別
公開特許公報(A)
公開日
2025-10-24
出願番号
2024064507
出願日
2024-04-12
発明の名称
摺動構造及びその製造方法
出願人
三友特殊精工株式会社
代理人
個人
主分類
F16C
17/14 20060101AFI20251017BHJP(機械要素または単位;機械または装置の効果的機能を生じ維持するための一般的手段)
要約
【課題】なじみ過程が不要で工業的生産に適すると共に広範な使用環境に適用可能な摺動構造及びその製造方法を提供する。
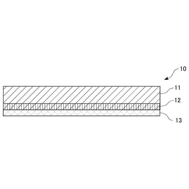
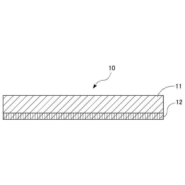
【解決手段】第1硬質層12が形成された第1摺動要素10と、担持体母材31の表面にシリカナノ粒子を予め担持してなる担持面32を有するシリカナノ粒子担持体30とを準備し、第1摺動要素10の第1硬質層12表面とシリカナノ粒子担持体30の担持面32とを対向配置し、水系潤滑液を介して所定の速度及び荷重で互いに摩擦させることにより、第1摺動要素10の第1硬質層12表面にシリカナノ粒子を移着してシリカ膜13を形成する移着工程S1と、第2摺動要素20を準備し、移着工程S1の後、第1摺動要素10のシリカ膜13と第2摺動要素20の摺動面としての第2硬質層22とを対向配置し、水系潤滑液又は油系潤滑液を介して相対的に摺動させる摺動工程S3と、を有する。
【選択図】図1
特許請求の範囲
【請求項1】
第1摺動要素及び第2摺動要素が潤滑液を介して互いに接することにより相対的に摺動する摺動構造を製造する方法であって、
第1母材の少なくとも表面に第1硬質層が形成された前記第1摺動要素と、担持体母材の表面にシリカナノ粒子を予め担持してなる担持面を有するシリカナノ粒子担持体とを準備し、前記第1摺動要素の前記第1硬質層表面と前記シリカナノ粒子担持体の前記担持面とを対向配置し、水系潤滑液を介して所定の速度及び荷重で互いに摩擦させることにより、前記第1摺動要素の前記第1硬質層表面に前記シリカナノ粒子を移着してシリカ膜を形成する移着工程と、
前記第2摺動要素を準備し、前記移着工程の後、前記第1摺動要素の前記シリカ膜と前記第2摺動要素の摺動面とを対向配置し、水系潤滑液又は油系潤滑液を介して相対的に摺動させる摺動工程と、
を有する、摺動構造の製造方法。
続きを表示(約 750 文字)
【請求項2】
前記移着工程は、前記担持体母材としてケイ素含有体を用いる、請求項1に記載の摺動構造の製造方法。
【請求項3】
前記担持体母材として用いる前記ケイ素含有体は、ガラス質材料からなる、請求項2に記載の摺動構造の製造方法。
【請求項4】
前記移着工程は、前記第1摺動要素と前記シリカナノ粒子担持体との間に加える荷重を初期荷重から所定値の荷重に達するまで徐々に増大させる、請求項1に記載の摺動構造の製造方法。
【請求項5】
前記第1硬質層は、ダイヤモンドライクカーボンからなる、請求項1乃至4の何れか一項に記載の摺動構造の製造方法。
【請求項6】
前記第2摺動要素の前記摺動面は、第2硬質層からなり、
前記摺動工程で前記水系潤滑液を用いる場合、前記第2硬質層はダイヤモンドライクカーボン又は窒化ケイ素からなる、請求項5に記載の摺動構造の製造方法。
【請求項7】
前記第2摺動要素の前記摺動面は、第2硬質層からなり、
前記摺動工程で前記油系潤滑液を用いる場合、前記第2硬質層はダイヤモンドライクカーボンからなる、請求項5に記載の摺動構造の製造方法。
【請求項8】
第1摺動要素及び第2摺動要素が潤滑液を介して互いに接することにより相対的に摺動する摺動構造であって、
前記第1摺動要素は、第1母材の少なくとも表面に第1硬質層が形成されると共に、前記第1硬質層表面にシリカナノ粒子が移着してなるシリカ膜を有するものであり、
前記第1摺動要素の前記シリカ膜と前記第2摺動要素の摺動面とを対向配置し、水系潤滑液又は油系潤滑液を介して相対的に摺動するように構成してなる、摺動構造。
発明の詳細な説明
【技術分野】
【0001】
本発明は、摺動構造及びその製造方法に関する。
続きを表示(約 1,300 文字)
【背景技術】
【0002】
従来、水潤滑による摺動構造に関する技術が提案されている。例えば、摺動面をそれぞれ有する第1、第2摺動要素を備え、各摺動面同士が水層を介して接することにより第1、第2摺動要素同士が相対的に摺動する摺動構造であって、第1、第2摺動要素は、母材と、母材の表面に前記摺動面としての硬質層とを各々備えると共に、第1、第2摺動要素のうち少なくとも一方の硬質層は、シリカナノ粒子が担持されたナノシリカ層を備えるものが提案されている(例えば、特許文献1等参照。)。
【0003】
この摺動構造によれば、ナノシリカ層の表面が水層に覆われ、適切なすべり速度と荷重とが負荷されることで水潤滑特性を発現し、第1、第2摺動要素同士が相対的に低摩擦で摺動するので、簡単な構成で優れた水潤滑摺動特性を発現する摺動構造を提供することができる。
【先行技術文献】
【特許文献】
【0004】
国際公開第2023/027055号
【発明の概要】
【発明が解決しようとする課題】
【0005】
しかしながら、上述した従来技術では、シリカナノ粒子を摺動面に担持させて摺動を行う際、低摩擦を発現させるために、第1、第2摺動要素間でなじみ過程が必要となり、工業的生産の実現には課題がある。さらに、潤滑液が水系のみに限られているため、使用環境が狭められるという課題もある。
【0006】
本発明は、上述した課題に鑑みてなされたものであり、なじみ過程が不要で工業的生産に適すると共に広範な使用環境に適用可能な摺動構造及びその製造方法を提供することを目的とする。
【課題を解決するための手段】
【0007】
本発明に係る摺動構造の製造方法は、第1摺動要素及び第2摺動要素が潤滑液を介して互いに接することにより相対的に摺動する摺動構造を製造する方法であって、第1母材の少なくとも表面に第1硬質層が形成された前記第1摺動要素と、担持体母材の表面にシリカナノ粒子を予め担持してなる担持面を有するシリカナノ粒子担持体とを準備し、前記第1摺動要素の前記第1硬質層表面と前記シリカナノ粒子担持体の前記担持面とを対向配置し、水系潤滑液を介して所定の速度及び荷重で互いに摩擦させることにより、前記第1摺動要素の前記第1硬質層表面に前記シリカナノ粒子を移着してシリカ膜を形成する移着工程と、前記第2摺動要素を準備し、前記移着工程の後、前記第1摺動要素の前記シリカ膜と前記第2摺動要素の摺動面とを対向配置し、水系潤滑液又は油系潤滑液を介して相対的に摺動させる摺動工程と、を有する。
【0008】
また、前記移着工程は、前記担持体母材としてケイ素含有体を用いる。
【0009】
また、前記ケイ素含有体は、ガラス質材料からなる。
【0010】
また、前記移着工程は、前記第1摺動要素と前記シリカナノ粒子担持体との間に加える荷重を初期荷重から所定値の荷重に達するまで徐々に増大させる。
(【0011】以降は省略されています)
この特許をJ-PlatPat(特許庁公式サイト)で参照する
関連特許
三友特殊精工株式会社
摺動構造及びその製造方法
5日前
個人
留め具
15日前
個人
鍋虫ねじ
2か月前
個人
紛体用仕切弁
2か月前
個人
回転伝達機構
2か月前
個人
ホース保持具
6か月前
個人
トーションバー
6か月前
個人
差動歯車用歯形
4か月前
個人
給排気装置
22日前
個人
ジョイント
1か月前
個人
ボルトナットセット
7か月前
個人
地震の揺れ回避装置
3か月前
株式会社不二工機
電磁弁
3か月前
個人
ナット
1か月前
株式会社不二工機
電磁弁
5か月前
個人
吐出量監視装置
1か月前
カヤバ株式会社
緩衝器
21日前
カヤバ株式会社
緩衝器
3か月前
カヤバ株式会社
緩衝器
7か月前
カヤバ株式会社
緩衝器
3か月前
柿沼金属精機株式会社
分岐管
2か月前
個人
ベルトテンショナ
7か月前
カヤバ株式会社
ダンパ
4か月前
株式会社三協丸筒
枠体
7か月前
カヤバ株式会社
ダンパ
4か月前
株式会社不二工機
電動弁
22日前
個人
固着具と固着具の固定方法
6か月前
株式会社不二工機
電磁弁
2か月前
アズビル株式会社
回転弁
1か月前
株式会社三五
ドライブシャフト
7日前
日東精工株式会社
樹脂被覆ねじ
7か月前
株式会社ノーリツ
分配弁
5か月前
株式会社ノーリツ
分配弁
26日前
株式会社フジキン
ボールバルブ
4か月前
個人
固着具と固着具の固定方法
5か月前
株式会社ノーリツ
分配弁
5か月前
続きを見る
他の特許を見る