TOP
|
特許
|
意匠
|
商標
特許ウォッチ
Twitter
他の特許を見る
公開番号
2025161572
公報種別
公開特許公報(A)
公開日
2025-10-24
出願番号
2024064876
出願日
2024-04-12
発明の名称
燃料電池ユニット
出願人
株式会社豊田自動織機
代理人
個人
,
個人
主分類
H01M
8/04 20160101AFI20251017BHJP(基本的電気素子)
要約
【課題】通信アンテナの設置に伴う体格の大型化を抑制しつつ、電波の送受信に影響を及ぼすことなく通信アンテナを設置できる燃料電池ユニットを提供すること。
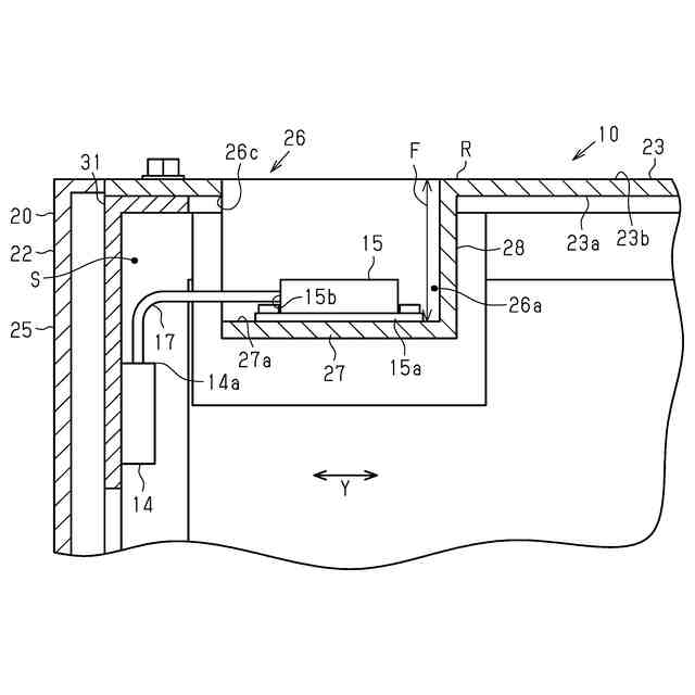
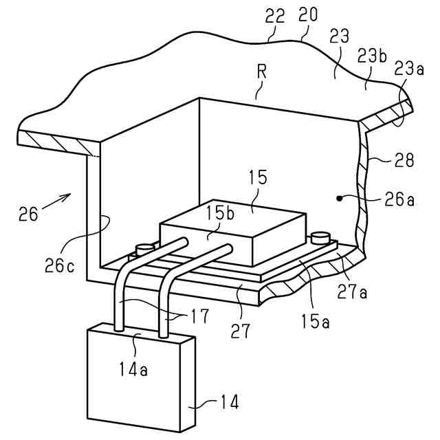
【解決手段】燃料電池ユニット10は、燃料電池モジュールを収容した内部空間Sを画定した筐体20と、燃料電池モジュールに関するデータを記録する記録装置14と、記録装置14と信号接続され、記録装置14に記録されたデータを送受信する通信アンテナ15と、を有する。天板23には、内部空間Sに向けて外面23bから凹むとともに、筐体20の外部に向けて開口する収容凹部26aが形成されている。通信アンテナ15は、収容凹部26aに収容され、かつ天板23の外面23b側に設置されている。
【選択図】図3
特許請求の範囲
【請求項1】
燃料電池モジュールを収容する内部空間を画定した筐体と、
前記燃料電池モジュールに関するデータを記録する記録装置と、
前記記録装置と信号接続され、前記記録装置に記録された前記データを送受信する通信アンテナと、を有し、
前記筐体は、前記燃料電池モジュールの下方に配置された底板と、
前記底板の上方に配置され、前記底板とともに前記内部空間を画定する筐体本体と、を有している燃料電池ユニットであって、
前記筐体本体には、前記内部空間に向けて前記筐体本体の外面から凹むとともに、前記筐体の外部に向けて開口する収容凹部が形成され、
前記通信アンテナは、前記収容凹部に収容され、かつ前記筐体の外面側に設置されていることを特徴とする燃料電池ユニット。
続きを表示(約 560 文字)
【請求項2】
前記収容凹部は、前記筐体本体の外面から前記内部空間に向けて凹んだ位置にある底壁と、前記底壁の縁部の一部から立設された側壁と、によって画定されるとともに、前記収容凹部を前記内部空間に連通させる連通口を有し、
前記記録装置は、前記筐体の前記内部空間に収容されるとともに、前記通信アンテナと配線によって信号接続されており、
前記配線は、前記連通口を通じて前記収容凹部から前記内部空間に延在している請求項1に記載の燃料電池ユニット。
【請求項3】
前記筐体本体の外面に直交する方向から前記通信アンテナを見たときに、前記通信アンテナ及び前記記録装置の各々が重ならない位置に設置されている請求項2に記載の燃料電池ユニット。
【請求項4】
前記収容凹部は、前記筐体本体における前記底板と反対に位置する天板に形成され、前記通信アンテナは、前記天板の外面から凹む前記収容凹部に収容されている請求項1~請求項3のいずれか一項に記載の燃料電池ユニット。
【請求項5】
前記天板の外面における前記通信アンテナの周囲、及び前記通信アンテナの上方には、前記通信アンテナにより電波を送受信させるための電波送受信領域が確保されている請求項4に記載の燃料電池ユニット。
発明の詳細な説明
【技術分野】
【0001】
本発明は、燃料電池ユニットに関する。
続きを表示(約 1,800 文字)
【背景技術】
【0002】
例えば、特許文献1には、燃料電池ユニットの一例として、燃料電池システムが開示されている。特許文献1に開示された燃料電池システムは、複数のセルユニットが積層されて構成された燃料電池スタックと、燃料電池スタックの積層方向における一端に設けられたエンドプレートと、燃料電池スタックの一端とは反対側の他端に設けられた補機構造体と、を備えている。補機構造体は、燃料電池スタックへ空気及び燃料を供給するとともに燃料電池スタックからの排ガスを排出する機能を有する。燃料電池スタックは、エンドプレートと補機構造体との間で保持されている。また、一般に、燃料電池ユニットは、当該燃料電池ユニットに係るデータの送受信を行う通信アンテナを有している。
【先行技術文献】
【特許文献】
【0003】
特開2022-92402号公報
【発明の概要】
【発明が解決しようとする課題】
【0004】
通信アンテナの設置に関しては、燃料電池ユニットの体格の大型化を抑制しつつ電波の送受信に影響を及ぼさない位置への設置が望まれている。
【課題を解決するための手段】
【0005】
上記問題点を解決するための燃料電池ユニットは、燃料電池モジュールを収容する内部空間を画定した筐体と、前記燃料電池モジュールに関するデータを記録する記録装置と、前記記録装置と信号接続され、前記記録装置に記録された前記データを送受信する通信アンテナと、を有し、前記筐体は、前記燃料電池モジュールの下方に配置された底板と、前記底板の上方に配置され、前記底板とともに前記内部空間を画定する筐体本体と、を有している燃料電池ユニットであって、前記筐体本体には、前記内部空間に向けて前記筐体本体の外面から凹むとともに、前記筐体の外部に向けて開口する収容凹部が形成され、前記通信アンテナは、前記収容凹部に収容され、かつ前記筐体の外面側に設置されていることを要旨とする。
【0006】
これによれば、収容凹部は、筐体本体の外面から凹んでいる。そして、通信アンテナは、収容凹部に収容されている。例えば、収容凹部の凹んでいない筐体本体の外面側に通信アンテナが設置される場合と比べると、燃料電池ユニットの体格の大型化を抑制できる。また、収容凹部に通信アンテナが収容されていても、収容凹部は、筐体の外部に向けて開口している。つまり、通信アンテナは、閉じた空間に収容されていない。このため、通信アンテナを収容凹部に収容することを原因とした電波の送受信に影響を及ぼすことはない。
【0007】
燃料電池ユニットについて、前記収容凹部は、前記筐体本体の外面から前記内部空間に向けて凹んだ位置にある底壁と、前記底壁の縁部の一部から立設された側壁と、によって画定されるとともに、前記収容凹部を前記内部空間に連通させる連通口を有し、前記記録装置は、前記筐体の前記内部空間に収容されるとともに、前記通信アンテナと配線によって信号接続されており、前記配線は、前記連通口を通じて前記収容凹部から前記内部空間に延在していてもよい。
【0008】
これによれば、記録装置が筐体の内部空間に収容されているため、記録装置が筐体の外側に設置される場合と比べると、燃料電池ユニットの体格を小型化できる。そして、収容凹部と内部空間は、連通口によって連通している。このため、内部空間に設置された記録装置と、収容凹部に収容された通信アンテナとを、配線によって信号接続できる。つまり、配線を筐体の外側に取り回すことなく、記録装置と通信アンテナとを信号接続できる。
【0009】
燃料電池ユニットについて、前記筐体本体の外面に直交する方向から前記通信アンテナを見たときに、前記通信アンテナ及び前記記録装置の各々が重ならない位置に設置されていてもよい。
【0010】
これによれば、例えば、筐体本体の外面に直交する方向から通信アンテナを見たときに、通信アンテナと記録装置とが重なり合っていると、通信アンテナと記録装置とを信号接続するために、配線が屈曲することになる。これに対し、筐体本体の外面に直交する方向から通信アンテナを見たときに、通信アンテナと記録装置とが重ならない位置に設置されることにより、配線の屈曲を無くすことができる。
(【0011】以降は省略されています)
この特許をJ-PlatPat(特許庁公式サイト)で参照する
関連特許
株式会社豊田自動織機
荷役装置
今日
株式会社豊田自動織機
ターボチャージャ
今日
株式会社豊田自動織機
織機用異常検知装置
今日
株式会社豊田自動織機
繊維機械の検査システム
今日
株式会社豊田自動織機
内燃機関の吸気温度制御システム
今日
株式会社豊田自動織機
繊維構造体、及び繊維強化複合材
今日
トヨタ自動車株式会社
蓄電装置の製造方法
3日前
トヨタ自動車株式会社
二次電池及び二次電池の制御方法
2日前
APB株式会社
蓄電セル
6日前
東ソー株式会社
絶縁電線
8日前
個人
フレキシブル電気化学素子
20日前
株式会社東芝
端子台
今日
株式会社ユーシン
操作装置
20日前
ローム株式会社
半導体装置
7日前
日新イオン機器株式会社
イオン源
16日前
マクセル株式会社
電源装置
今日
ローム株式会社
半導体装置
22日前
株式会社GSユアサ
蓄電設備
20日前
株式会社GSユアサ
蓄電設備
20日前
オムロン株式会社
電磁継電器
21日前
株式会社GSユアサ
蓄電装置
1日前
株式会社GSユアサ
蓄電装置
1日前
太陽誘電株式会社
コイル部品
20日前
株式会社ホロン
冷陰極電子源
14日前
サクサ株式会社
電池の固定構造
20日前
北道電設株式会社
配電具カバー
6日前
トヨタ自動車株式会社
蓄電装置
1日前
日東電工株式会社
積層体
21日前
トヨタ自動車株式会社
蓄電装置
20日前
トヨタ自動車株式会社
バッテリ
6日前
トヨタ自動車株式会社
バッテリ
21日前
日新イオン機器株式会社
基板処理装置
3日前
トヨタ自動車株式会社
冷却構造
8日前
日本特殊陶業株式会社
保持装置
9日前
ノリタケ株式会社
熱伝導シート
20日前
株式会社デンソー
電子装置
3日前
続きを見る
他の特許を見る