TOP
|
特許
|
意匠
|
商標
特許ウォッチ
Twitter
他の特許を見る
公開番号
2025153198
公報種別
公開特許公報(A)
公開日
2025-10-10
出願番号
2024055541
出願日
2024-03-29
発明の名称
操作装置
出願人
株式会社ユーシン
代理人
個人
主分類
H01H
9/02 20060101AFI20251002BHJP(基本的電気素子)
要約
【課題】コストアップを抑制しつつ見栄えを向上する。
【解決手段】操作装置10では、嵌合凹部30Bの底壁の外周部に、差込孔30Dが形成されている。また、化粧パネル40の後面の外周部には、固定片40Aが設けられ、固定片40Aは、化粧パネル40から後側へ突出している。そして、固定片40Aが差込孔30D内に差し込まれて、固定片40Aの先端部が、操作パネル30の嵌合凹部30Bを構成する壁部に溶着によって固定されている。このため、例えば、両面テープを用いて化粧パネル40を操作パネル30に貼着する必要がなくなる。また、両面テープを視認不能にするための塗装を化粧パネル40に施す必要がなくなる。したがって、コストアップを抑制しつつ、操作装置10の見栄えを向上することができる。
【選択図】図3
特許請求の範囲
【請求項1】
操作パネルと、
前記操作パネルに設けられ、前記操作パネルから前側へ操作可能に露出された操作部と、
前記操作パネルに設けられ、前後方向を板厚方向として配置され、前面が操作パネルから露出された透明の透明パネルと、
を備え、
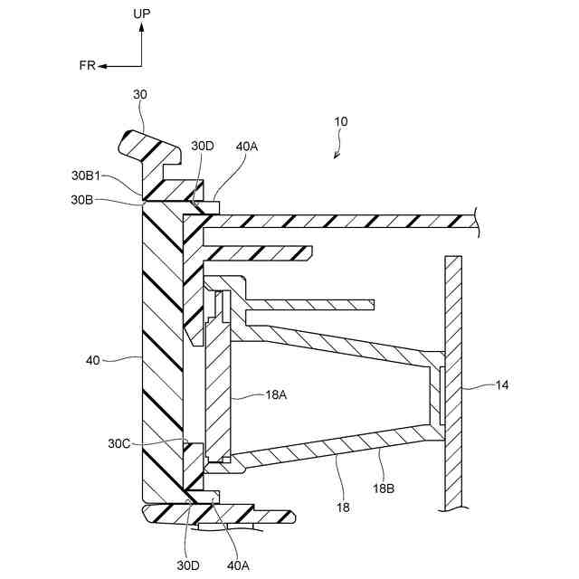
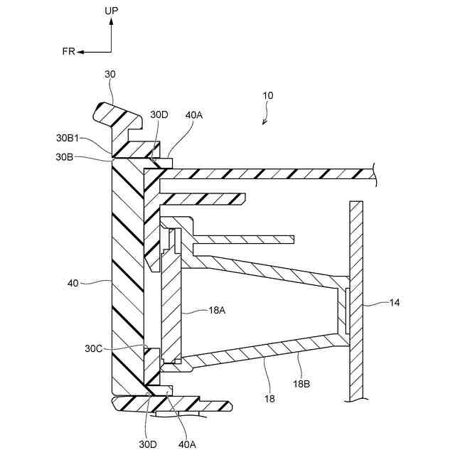
前記操作パネルは、前側へ開放された篏合凹部を有しており、前記透明パネルが篏合凹部に嵌め込まれ、
前記篏合凹部の底壁の外周部には、差込孔が形成され、
前記透明パネルの後面の外周部には、後側へ突出し且つ前記差込孔に差し込まれた差込部が設けられ、前記差込部の先端部が前記操作パネルに固定又は係止されている操作装置。
続きを表示(約 340 文字)
【請求項2】
前記透明パネルには、挿通孔が形成されており、
前記操作部が、前記挿通孔内に配置されている請求項1に記載の操作装置。
【請求項3】
前記操作パネルには、表示装置が設けられており、前記透明パネルが前記表示装置を視認可能に前側から覆っている請求項1に記載の操作装置。
【請求項4】
複数の前記差込部が、前記透明パネルに形成されている請求項1に記載の操作装置。
【請求項5】
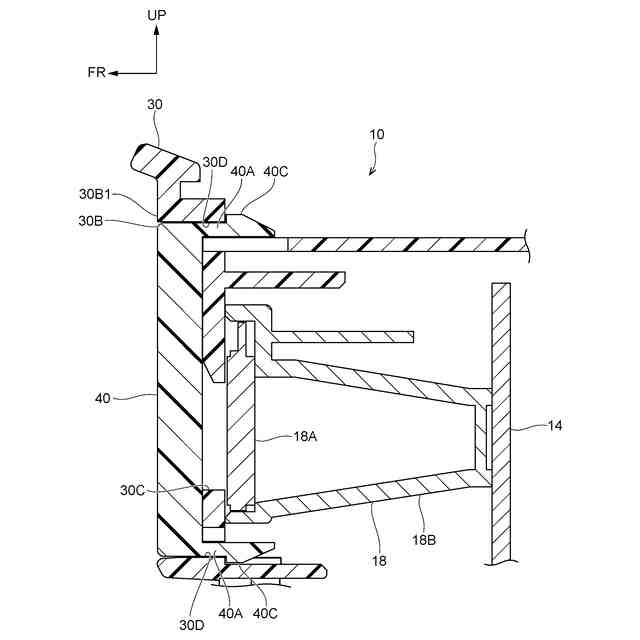
前記差込部の先端部が、溶着によって前記操作パネルに固定されている請求項1に記載の操作装置。
【請求項6】
前記差込部の先端部には、係止爪が形成されており、前記係止爪が前記操作パネルに係止されている請求項1に記載の操作装置。
発明の詳細な説明
【技術分野】
【0001】
本発明は、操作装置に関する。
続きを表示(約 1,500 文字)
【背景技術】
【0002】
下記特許文献1の電子機器(操作装置)では、パネルフレームが、基板の表側に設けられており、パネル体がパネルフレームに表側から組付けられている。基板の表面には、液晶ディスプレイモジュールが実装されており、パネルフレームには、液晶ディスプレイモジュールを露出させるための開口部が形成されている。さらに、パネル体が透明なアクリル樹脂によって構成されている。これにより、透明のパネル体によって、電子機器の質感を高めつつ、液晶ディスプレイモジュールを視認可能に覆うことができる。
【先行技術文献】
【特許文献】
【0003】
国際公開2010-073298
【発明の概要】
【発明が解決しようとする課題】
【0004】
ここで、上記電子機器では、パネル体がパネルフレームに貼着されている。すなわち、パネル体とパネルフレームとの間に両面テープが介在されている。このため、両面テープがパネル体から透けて見えることで、電子機器の見栄えが低下する可能性がある。
【0005】
一方、例えば、パネル体において、両面テープが貼着される部分に塗装を施すことで、両面テープを視認不能にすることができる。しかしながら、この場合には、パネル体のコストアップを招くという問題点がある。
【0006】
本発明は、上記事実を考慮して、コストアップを抑制しつつ見栄えを向上することができる操作装置を提供する。
【課題を解決するための手段】
【0007】
本発明の1又はそれ以上の実施形態は、操作パネルと、前記操作パネルに設けられ、前記操作パネルから前側へ操作可能に露出された操作部と、前記操作パネルに設けられ、前後方向を板厚方向として配置され、前面が操作パネルから露出された透明の透明パネルと、を備え、前記操作パネルは、前側へ開放された篏合凹部を有しており、前記透明パネルが篏合凹部に嵌め込まれ、前記篏合凹部の底壁の外周部には、差込孔が形成され、前記透明パネルの後面の外周部には、後側へ突出し且つ前記差込孔に差し込まれた差込部が設けられ、前記差込部の先端部が前記操作パネルに固定又は係止されている操作装置である。
【発明の効果】
【0008】
本発明の1又はそれ以上の実施形態によれば、コストアップを抑制しつつ見栄えを向上することができる。
【図面の簡単な説明】
【0009】
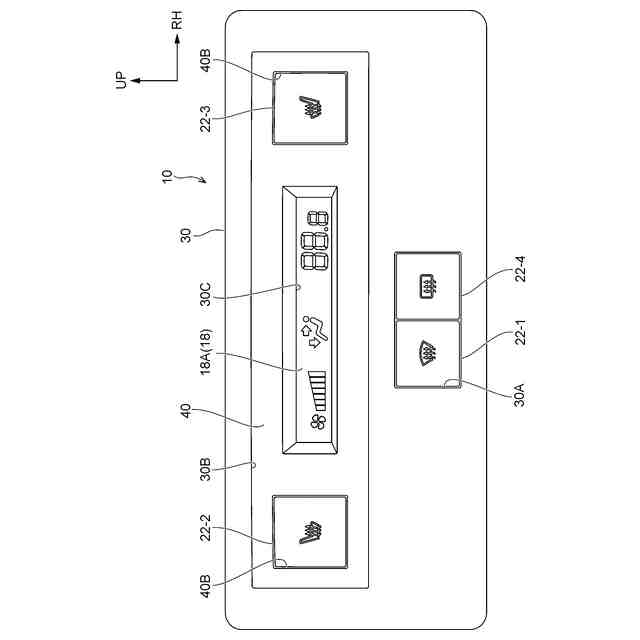
本実施形態に係る操作装置を示す前側から見た正面図である。
図1に示される操作装置の分解斜視図である。
図1に示される操作装置における上部の断面図(図1の3-3線断面図)である。
図1に示される操作装置における化粧パネルの後側から見た斜視図である。
化粧パネルにパネル孔を設けた操作装置を示す前側から見た正面図である。
図3に示される化粧パネルにおける差込片の変形例を示す断面図である。
【発明を実施するための形態】
【0010】
以下、図面を用いて、本実施形態に係る操作装置10について説明する。操作装置10は、車両(自動車)の空調装置を操作する装置であり、車両のインストルメントパネルに設けられている。なお、図面に適宜示される矢印UP、矢印FR、矢印RHは、それぞれ操作装置10の上側、前側、右側を示している。以下の説明において、上下、前後、左右の方向を用いて説明するときには、特に断りのない限り、操作装置10の上下方向、前後方向、左右方向を示すものとする。
(【0011】以降は省略されています)
この特許をJ-PlatPat(特許庁公式サイト)で参照する
関連特許
株式会社ユーシン
操作装置
1日前
株式会社ユーシン
リッド開閉装置
2日前
株式会社ユーシン
開閉体制御装置
2日前
株式会社ユーシン
表示・照明装置
4日前
株式会社ユーシン
開閉体制御システム並びにその検査システム及び検査方法
8日前
日本発條株式会社
積層体
12日前
個人
フレキシブル電気化学素子
1日前
ローム株式会社
半導体装置
10日前
個人
防雪防塵カバー
12日前
ローム株式会社
半導体装置
10日前
ローム株式会社
半導体装置
3日前
株式会社ユーシン
操作装置
1日前
ローム株式会社
半導体装置
8日前
ローム株式会社
半導体装置
10日前
個人
半導体パッケージ用ガラス基板
11日前
株式会社GSユアサ
蓄電設備
1日前
株式会社ホロン
冷陰極電子源
8日前
オムロン株式会社
電磁継電器
2日前
太陽誘電株式会社
全固体電池
8日前
株式会社GSユアサ
蓄電設備
1日前
株式会社ティラド
面接触型熱交換器
23日前
株式会社GSユアサ
蓄電装置
8日前
太陽誘電株式会社
コイル部品
1日前
ニチコン株式会社
コンデンサ
24日前
ニチコン株式会社
コンデンサ
24日前
株式会社GSユアサ
蓄電装置
12日前
日本特殊陶業株式会社
保持装置
12日前
ローム株式会社
電子装置
12日前
トヨタ自動車株式会社
バッテリ
2日前
サクサ株式会社
電池の固定構造
1日前
トヨタ自動車株式会社
蓄電装置
1日前
トヨタ自動車株式会社
二次電池
12日前
日本特殊陶業株式会社
保持装置
10日前
日東電工株式会社
積層体
2日前
TDK株式会社
電子部品
8日前
ノリタケ株式会社
熱伝導シート
1日前
続きを見る
他の特許を見る