TOP
|
特許
|
意匠
|
商標
特許ウォッチ
Twitter
他の特許を見る
公開番号
2025162447
公報種別
公開特許公報(A)
公開日
2025-10-27
出願番号
2024065750
出願日
2024-04-15
発明の名称
耐久性試験装置
出願人
学校法人大阪医科薬科大学
,
帝人株式会社
代理人
個人
,
個人
,
個人
,
個人
,
個人
,
個人
主分類
A61F
2/24 20060101AFI20251020BHJP(医学または獣医学;衛生学)
要約
【課題】簡便且つ短時間で実施可能な医療シート材料の耐久性試験装置及び耐久性試験方法を提供する。
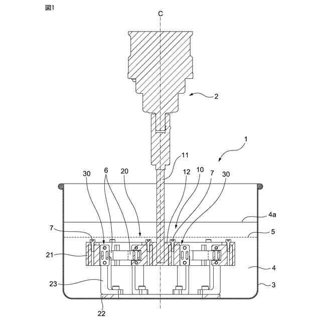
【解決手段】医療シート材料の耐久性試験装置1が、中心軸線Cを備え、中心軸線に対して径方向外方に突出するように少なくとも1つの医療シート材料6を保持可能に構成された第1保持部材10と、第1保持部材を包囲し且つ第1保持部材と共通の中心軸線を備え、中心軸線に対して径方向内方に突出するように少なくとも1つの医療シート材料6を保持可能に構成された第2保持部材20と、を具備し、第1保持部材又は第2保持部材が中心軸線回りに回転可能に構成され、第1保持部材又は第2保持部材の回転に応じて、第1保持部材に保持された少なくとも1つの医療シート材料の第1面6aと第2保持部材に保持された少なくとも1つの医療シート材料の第2面6bとが互いに衝突するように構成されている。
【選択図】図1
特許請求の範囲
【請求項1】
医療シート材料の耐久性試験装置であって、
中心軸線を備え、中心軸線に対して径方向外方に突出するように少なくとも1つの前記医療シート材料を保持可能に構成された第1保持部材と、
前記第1保持部材を包囲し且つ前記第1保持部材と共通の前記中心軸線を備え、前記中心軸線に対して径方向内方に突出するように少なくとも1つの前記医療シート材料を保持可能に構成された第2保持部材と、を具備し、
前記第1保持部材又は前記第2保持部材が前記中心軸線回りに回転可能に構成され、
前記第1保持部材又は前記第2保持部材の回転に応じて、前記第1保持部材に保持された前記少なくとも1つの前記医療シート材料の第1面と前記第2保持部材に保持された前記少なくとも1つの前記医療シート材料の第2面とが互いに衝突するように構成されている耐久性試験装置。
続きを表示(約 1,200 文字)
【請求項2】
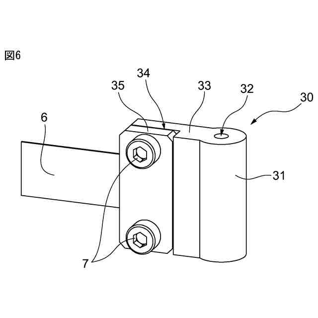
前記第1保持部材及び前記第2保持部材に対して着脱可能に構成された複数の取付部材をさらに具備し、前記医療シート材料の各々が、前記取付部材を介して前記第1保持部材又は前記第2保持部材に対して取り付けられる請求項1に記載の耐久性試験装置。
【請求項3】
前記第1保持部材又は前記第2保持部材を回転可能な回転駆動機構をさらに具備する請求項1又は2に記載の耐久性試験装置。
【請求項4】
前記第1保持部材及び前記第2保持部材に保持された前記少なくとも1つの前記医療シート材料が浸かるように液体を収容可能な容器をさらに具備する請求項1又は2に記載の耐久性試験装置。
【請求項5】
前記第1保持部材及び前記第2保持部材に保持された前記少なくとも1つの前記医療シート材料の上方を覆うように前記液体中又は液面に配置可能なカバー部材をさらに具備する請求項4に記載の耐久性試験装置。
【請求項6】
前記カバー部材がメッシュ状の部材である請求項5に記載の耐久性試験装置。
【請求項7】
前記第1保持部材に保持された前記少なくとも1つの前記医療シート材料の前記第1面の裏面又は前記第2保持部材に保持された前記少なくとも1つの前記医療シート材料の前記第2面の裏面の少なくとも一方に配置される補強シートをさらに具備する請求項1又は2に記載の耐久性試験装置。
【請求項8】
前記医療シート材料が人工弁用の弁尖材料である請求項1又は2に記載の耐久性試験装置。
【請求項9】
医療シート材料の耐久性試験方法であって、
中心軸線を備えた第1保持部材に対して、前記中心軸線に対して径方向外方に突出するように少なくとも1つの前記医療シート材料を保持する段階と、
前記第1保持部材を包囲し且つ前記第1保持部材と共通の前記中心軸線を備えた第2保持部材に対して、前記中心軸線に対して径方向内方に突出するように少なくとも1つの前記医療シート材料を保持する段階と、
前記第1保持部材及び前記第2保持部材に保持された前記少なくとも1つの前記医療シート材料を、容器に収容された液体に浸ける段階と、
前記第1保持部材又は前記第2保持部材を前記中心軸線回りに回転させ、前記第1保持部材又は前記第2保持部材の回転に応じて、前記第1保持部材に保持された前記少なくとも1つの前記医療シート材料の第1面と前記第2保持部材に保持された前記少なくとも1つの前記医療シート材料の第2面とを、前記液体中で互いに衝突させる段階と、を含む耐久性試験方法。
【請求項10】
前記第1保持部材又は前記第2保持部材の回転が、毎分100~5,000回転の範囲である請求項9に記載の耐久性試験方法。
(【請求項11】以降は省略されています)
発明の詳細な説明
【技術分野】
【0001】
本発明は、耐久性試験装置に関し、特に医療シート材料の耐久性試験装置及び耐久性試験方法に関する。
続きを表示(約 1,900 文字)
【背景技術】
【0002】
近年、高齢化に伴い心臓血管外科分野における心臓弁膜症の治療件数は増加傾向にある。心臓弁膜症は、弁が正常に機能しなくなる疾患のことである。心臓弁膜症は、主に弁解放が弁尖硬化によって制限され血液の流れが妨げられる「狭窄症」と、弁尖の脆弱化又は不均一性から弁閉鎖が不十分となり血液が逆流してしまう「閉鎖不全症」との2種類がある。特に、高齢化に伴い、弁尖の動脈硬化(肥厚又は石灰化)によって起きる「大動脈弁狭窄症」、及び、弁の組織が弱くなって起きる「僧帽弁閉鎖不全症」等が増加している。心臓弁膜症の治療は、まずは薬による保存的治療が行われる。しかしながら保存的治療は、弁自体に対する治療ではない。心臓弁膜症が重症化した場合には、弁自体に対する治療、具体的には、外科手術治療又はカテーテル治療が必要となる。外科手術として、大動脈弁狭窄症では、病的弁の切除と心臓人工弁への置換とが行われる。従来型の心臓人工弁には、機械弁と生体弁とがある。機械弁には、生涯に渡り服用する抗血液凝固薬による副作用という課題がある。生体弁には、その耐久性が約10年であることから、ときに再手術による交換が必要であるという課題がある。したがって、機械弁及び生体弁はいずれも課題を有しており、新規材料の開発が検討されている。
【0003】
心臓人工弁は、ISO5840に規定された要件を満たす必要がある。特に、心臓人工弁等の生体弁の耐久性の試験及び評価のため、特許文献1に開示された耐久性試験装置が公知である。
【先行技術文献】
【特許文献】
【0004】
特開平3-275054号公報
【発明の概要】
【発明が解決しようとする課題】
【0005】
ところで、生体内を模擬した人工弁の耐久性試験装置が、市販されている(例えばVivitro labs社製Hicycle Durability Tester及びBDC Laboratories社製VDT-3600i)。市販されている耐久性試験装置は、人工弁の開閉時に作用する慣性力の影響で人工弁を高速で開閉することが困難であり、必要とされるサイクル試験の完了には長時間を要する。また、耐久性試験装置に対する人工弁の取り付けも容易ではなく、すべての人工弁の取り付けが完了するまでに時間がかかる。一連の耐久性試験を実施するまでに長時間を要することから、医療シート材料に関する研究初期段階において、短時間でスクリーニングを実施することは困難である。また、実際の試験時には耐久性試験装置の圧力調整及びチューニングが必要となり、使用者には一定の技術力が必要とされる。さらに、心臓人工弁等の人工弁以外の医療シート材料、例えば医療用パッチ等について使用可能な耐久性試験装置は知られていない。
【0006】
本発明は、簡便且つ短時間で実施可能な医療シート材料の耐久性試験装置及び耐久性試験方法を提供することを目的とする。
【課題を解決するための手段】
【0007】
本発明の一態様によれば、医療シート材料の耐久性試験装置であって、中心軸線を備え、中心軸線に対して径方向外方に突出するように少なくとも1つの前記医療シート材料を保持可能に構成された第1保持部材と、前記第1保持部材を包囲し且つ前記第1保持部材と共通の前記中心軸線を備え、前記中心軸線に対して径方向内方に突出するように少なくとも1つの前記医療シート材料を保持可能に構成された第2保持部材と、を具備し、前記第1保持部材又は前記第2保持部材が前記中心軸線回りに回転可能に構成され、前記第1保持部材又は前記第2保持部材の回転に応じて、前記第1保持部材に保持された前記少なくとも1つの前記医療シート材料の第1面と前記第2保持部材に保持された前記少なくとも1つの前記医療シート材料の第2面とが互いに衝突するように構成されている耐久性試験装置が提供される。
【0008】
前記第1保持部材及び前記第2保持部材に対して着脱可能に構成された複数の取付部材をさらに具備し、前記医療シート材料の各々が、前記取付部材を介して前記第1保持部材又は前記第2保持部材に対して取り付けられることが好ましい。
【0009】
前記第1保持部材又は前記第2保持部材を回転可能な回転駆動機構をさらに具備することが好ましい。
【0010】
前記第1保持部材及び前記第2保持部材に保持された前記少なくとも1つの前記医療シート材料が浸かるように液体を収容可能な容器をさらに具備することが好ましい。
(【0011】以降は省略されています)
この特許をJ-PlatPat(特許庁公式サイト)で参照する
関連特許
個人
貼付剤
2日前
個人
短下肢装具
3か月前
個人
嚥下鍛錬装置
3か月前
個人
白内障治療法
7か月前
個人
洗井間専家。
7か月前
個人
排尿補助器具
15日前
個人
前腕誘導装置
3か月前
個人
アイマスク装置
2か月前
個人
ホバーアイロン
6か月前
個人
バッグ式オムツ
4か月前
個人
胸骨圧迫補助具
1か月前
個人
腰ベルト
5日前
個人
汚れ防止シート
1か月前
個人
ウォート指圧法
13日前
個人
矯正椅子
5か月前
個人
歯の修復用材料
4か月前
三生医薬株式会社
錠剤
7か月前
個人
歯の保護用シール
5か月前
個人
シャンプー
6か月前
個人
哺乳瓶冷まし容器
3か月前
個人
陣痛緩和具
3か月前
個人
車椅子持ち上げ器
7か月前
個人
湿布連続貼り機。
2か月前
個人
治療用酸化防御装置
1か月前
個人
性行為補助具
2か月前
株式会社コーセー
化粧料
12日前
個人
服薬支援装置
7か月前
株式会社八光
剥離吸引管
4か月前
個人
エア誘導コルセット
1か月前
株式会社大野
骨壷
3か月前
株式会社GSユアサ
歩行器
5か月前
株式会社ニデック
眼科装置
1か月前
株式会社ニデック
眼科装置
19日前
個人
手指運動ツール
2か月前
個人
高気圧環境装置
4か月前
個人
形見の製造方法
4か月前
続きを見る
他の特許を見る