TOP
|
特許
|
意匠
|
商標
特許ウォッチ
Twitter
他の特許を見る
10個以上の画像は省略されています。
公開番号
2025163208
公報種別
公開特許公報(A)
公開日
2025-10-28
出願番号
2025131436,2025102667
出願日
2025-08-06,2023-04-13
発明の名称
半導体装置、および半導体装置の製造方法
出願人
ローム株式会社
代理人
個人
,
個人
主分類
H01L
23/48 20060101AFI20251021BHJP(基本的電気素子)
要約
【課題】パワーモジュールの性能向上や小型化を図る半導体装置及びその製造方法を提供する。
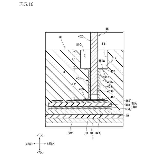
【解決手段】半導体装置は、少なくとも1つの端子45を有し、端子は、導電性を有する筒状のホルダ451と、ホルダに挿入された金属ピン452と、を含む。また半導体装置は、ホルダを支持する端子支持体48と、ホルダの一部及び端子支持体を覆う封止樹脂8と、を備える。封止樹脂は、厚さ方向zの一方側z1を向く樹脂主面81を有する。ホルダは、厚さ方向の一方側の端に位置する第1面454aと、厚さ方向に延びる第1外側面453aと、を有する。第1面は、厚さ方向において樹脂主面と異なる位置にある。第1外側面は、封止樹脂と接している。金属ピンは、樹脂主面よりも厚さ方向の一方側に突出している。
【選択図】図16
特許請求の範囲
【請求項1】
第1絶縁層、支持導体および裏面金属層を含み、前記支持導体が厚さ方向の一方側を向く主面を有する支持基板と、
前記支持導体に接合された複数の半導体素子と、
互いに積層された第2絶縁層、第1金属層および第2金属層を有する配線基板と、
前記厚さ方向の一方側を向く樹脂主面を有し、且つ前記支持基板および前記配線基板の少なくとも一部を覆う封止樹脂と、
前記支持基板に対して前記厚さ方向に直交する第1方向の一方側に配置された第1電力端子および少なくとも1つの第2電力端子と、
前記支持基板に対して前記第1方向の他方側に配置された少なくとも1つの第3電力端子と、を備え、
前記封止樹脂は、前記樹脂主面から前記厚さ方向の他方側に凹む少なくとも1つの第1凹部を有し、
前記少なくとも1つの第1凹部は、前記配線基板に接する第1端縁を有する第1凹部内側面を有し、
前記配線基板の前記第1金属層は、互いに離間し絶縁された複数の配線部を含み、
前記複数の配線部は、前記複数の半導体素子に導通しており、
前記複数の配線部の少なくとも一部は、前記少なくとも1つの第1凹部に配置されるとともに、前記封止樹脂から露出している、半導体装置。
続きを表示(約 1,400 文字)
【請求項2】
前記第1電力端子および前記少なくとも1つの第2電力端子は、前記封止樹脂に覆われた部分と、前記封止樹脂から露出する部分とを含み、
前記少なくとも1つの第3電力端子は、前記封止樹脂に覆われた部分と、前記封止樹脂から露出する部分とを含む、請求項1に記載の半導体装置。
【請求項3】
前記第1凹部は、前記厚さ方向に見て前記配線基板に重なる、請求項1に記載の半導体装置。
【請求項4】
前記複数の配線部の少なくとも一部は、前記複数の半導体素子の制御電極に導通している、請求項1に記載の半導体装置。
【請求項5】
前記第1凹部内側面は、前記厚さ方向に延びており、前記厚さ方向の他方側に向かうにつれて内径寸法が小となるように傾斜している、請求項1に記載の半導体装置。
【請求項6】
前記第1凹部内側面は、前記厚さ方向の他方側の端に位置する前記第1端縁と、前記厚さ方向の一方側の端に位置する第2端縁と、を有し、
前記第2端縁は、前記厚さ方向に見て前記第1端縁を囲んでいる、請求項1に記載の半導体装置。
【請求項7】
前記少なくとも1つの第1凹部は、前記樹脂主面と前記第1凹部内側面との間に介在する面取り部を有する、請求項1に記載の半導体装置。
【請求項8】
複数の前記第1凹部を備え、
前記複数の配線部は、複数の前記第1凹部それぞれ対応して個別に配置される、請求項1に記載の半導体装置。
【請求項9】
前記少なくとも1つの第2電力端子は、2つの前記第2電力端子を含み、
2つの前記第2電力端子は、前記厚さ方向および前記第1方向に直交する第2方向において互いに離れており、前記第1電力端子を挟んで前記第2方向の一方側および他方側にそれぞれ配置されている、請求項1に記載の半導体装置。
【請求項10】
第1絶縁層、支持導体および裏面金属層を含み、前記支持導体が厚さ方向の一方側を向く主面を有する支持基板と、
前記支持導体に接合された複数の半導体素子と、
互いに積層された第2絶縁層、第1金属層および第2金属層を有する配線基板と、
前記厚さ方向の一方側を向く樹脂主面を有し、且つ前記支持基板および前記配線基板の少なくとも一部を覆う封止樹脂と、
前記支持基板に対して前記厚さ方向に直交する第1方向の一方側に配置された第1電力端子および少なくとも1つの第2電力端子と、
前記支持基板に対して前記第1方向の他方側に配置された少なくとも1つの第3電力端子と、を備える、半導体装置の製造方法であって、
前記配線基板の前記第1金属層は、互いに離間し絶縁された複数の配線部を含み、
モールド成形により、前記支持基板の少なくとも一部と、前記配線基板の一部と、前記第1電力端子および前記少なくとも1つの第2電力端子の各々の一部と、前記少なくとも1つの第3電力端子の各々の一部と、を覆う封止樹脂を形成する工程を備え、
前記封止樹脂を形成する工程は、前記配線基板上に制御端子が配置されていない状態で、前記配線基板に金型を押し付けながらモールド成形することにより、前記配線基板の少なくとも一部を露出させる第1凹部を有する前記封止樹脂を形成する、半導体装置の製造方法。
(【請求項11】以降は省略されています)
発明の詳細な説明
【技術分野】
【0001】
本開示は、半導体装置に関する。
続きを表示(約 3,600 文字)
【背景技術】
【0002】
従来、MOSFET(Metal Oxide Semiconductor Field Effect Transistor)やIGBT(Insulated Gate Bipolar Transistor)などの電力用スイッチング素子を備える半導体装置が知られている。このような半導体装置は、産業機器から家電や情報端末、自動車用機器まであらゆる電子機器に搭載される。特許文献1には、従来の半導体装置(パワーモジュール)が開示されている。特許文献1に記載の半導体装置は、半導体素子、および、支持基板(セラミック基板)を備えている。半導体素子は、たとえばSi(シリコン)製のIGBTである。支持基板は、半導体素子を支持する。支持基板は、絶縁性の基材と、基材の両面に積層された導体層とを含む。基材は、たとえばセラミックからなる。各導体層は、たとえばCu(銅)からなり、一方の導体層には、半導体素子が接合される。
【先行技術文献】
【特許文献】
【0003】
特開2021-190505号公報
【発明の概要】
【発明が解決しようとする課題】
【0004】
近年、電子機器の省エネルギー化、高性能化および小型化などが求められている。そのためには、電子機器に搭載するパワーモジュールの性能向上や小型化などが必要となる。
【0005】
本開示は、従来よりも改良が施された半導体装置を提供することを一の課題とする。特に本開示は、上記した事情に鑑み、性能向上や小型化を図るのに適した半導体装置を提供することを一の課題とする。
【0006】
本開示の第1の側面によって提供される半導体装置は、導電性を有する筒状のホルダ、および前記ホルダに挿入された金属ピンを含む少なくとも1つの端子と、前記ホルダを支持する端子支持体と、前記ホルダの一部、および前記端子支持体を覆う封止樹脂と、を備え、前記封止樹脂は、厚さ方向の一方側を向く樹脂主面を有し、前記ホルダは、前記厚さ方向の一方側の端に位置する第1面と、前記厚さ方向に延びる第1外側面と、を有し、前記第1面は、前記厚さ方向において前記樹脂主面と異なる位置にあり、前記第1外側面は、前記封止樹脂と接しており、前記金属ピンは、前記樹脂主面よりも前記厚さ方向の一方側に突出している。
【0007】
本開示の第2の側面によって提供される半導体装置は、厚さ方向の一方側を向く主面を有する支持基板と、前記主面上に配置され、且つ導電性を有するホルダ、および前記ホルダに挿入された金属ピン、を含む少なくとも1つの端子と、前記厚さ方向の一方側を向く樹脂主面を有し、且つ前記支持基板の少なくとも一部を覆う封止樹脂と、を備え、前記少なくとも1つの端子の少なくともいずれかは、前記ホルダのすべてが前記封止樹脂から露出しており、前記金属ピンは、前記樹脂主面よりも前記厚さ方向の一方側に突出している。
【発明の効果】
【0008】
上記構成によれば、半導体装置において、性能向上や小型化などを図る上で好ましい構造を提供することができる。
【0009】
本開示のその他の特徴および利点は、添付図面を参照して以下に行う詳細な説明によって、より明らかとなろう。
【図面の簡単な説明】
【0010】
図1は、本開示の第1実施形態に係る半導体装置を示す斜視図である。
図2は、本開示の第1実施形態に係る半導体装置を示す要部斜視図である。
図3は、本開示の第1実施形態に係る半導体装置を示す要部斜視図である。
図4は、本開示の第1実施形態に係る半導体装置を示す平面図である。
図5は、本開示の第1実施形態に係る半導体装置を示す要部平面図である。
図6は、本開示の第1実施形態に係る半導体装置を示す要部側面図である。
図7は、本開示の第1実施形態に係る半導体装置を示す要部拡大平面図である。
図8は、本開示の第1実施形態に係る半導体装置を示す要部平面図である。
図9は、本開示の第1実施形態に係る半導体装置を示す要部平面図である。
図10は、本開示の第1実施形態に係る半導体装置を示す側面図である。
図11は、本開示の第1実施形態に係る半導体装置を示す底面図である。
図12は、図5のXII-XII線に沿う断面図である。
図13は、図5のXIII-XIII線に沿う断面図である。
図14は、本開示の第1実施形態に係る半導体装置を示す要部拡大断面図である。
図15は、本開示の第1実施形態に係る半導体装置を示す要部拡大断面図である。
図16は、図13の一部を拡大した部分拡大図である。
図17は、図4の一部を拡大した部分拡大図である。
図18は、図5のXVIII-XVIII線に沿う断面図である。
図19は、図5のXIX-XIX線に沿う断面図である。
図20は、図5のXX-XX線に沿う断面図である。
図21は、図5のXXI-XXI線に沿う断面図である。
図22は、図5のXXII-XXII線に沿う断面図である。
図23は、第1実施形態の第1変形例に係る半導体装置を示す、図16と同様の拡大断面図である。
図24は、第1実施形態の第2変形例に係る半導体装置を示す、図16と同様の拡大断面図である。
図25は、第1実施形態の第3変形例に係る半導体装置を示す、図16と同様の拡大断面図である。
図26は、第1実施形態の第4変形例に係る半導体装置を示す、図16と同様の拡大断面図である。
図27は、第1実施形態の第5変形例に係る半導体装置を示す、図16と同様の拡大断面図である。
図28は、本開示の第2実施形態に係る半導体装置を示す斜視図である。
図29は、本開示の第2実施形態に係る半導体装置を示す、図16と同様の拡大断面図である。
図30は、本開示の第2の側面に基づく第1実施形態に係る半導体装置を示す斜視図である。
図31は、本開示の第2の側面に基づく第1実施形態に係る半導体装置を示す平面図である。
図32は、図31の平面図において、封止樹脂を想像線で示した図である。
図33は、図32の平面図において、封止樹脂および第2導通部材を省略した図である。
図34は、図33の平面図において、第1導通部材を省略した図である。
図35は、本開示の第2の側面に基づく第1実施形態に係る半導体装置を示す底面図である。
図36は、図32のXXXVI-XXXVI線に沿う断面図である。
図37は、図36の一部(第1素子付近)を拡大した部分拡大断面図である。
図38は、図36の一部(第2素子付近)を拡大した部分拡大断面図である。
図39は、図32のXXXIX-XXXIX線に沿う断面図である。
図40は、図32のXL-XL線に沿う断面図である。
図41は、図32のXLI-XLI線に沿う断面図である。
図42は、図32のXLII-XLII線に沿う断面図である。
図43は、図32のXLIII-XLIII線に沿う断面図である。
図44は、図40の一部を拡大した部分拡大断面図である。
図45は、本開示の第2の側面に基づく第1実施形態に係る半導体装置の製造方法の一工程を示す断面図である。
図46は、第2の側面の第1実施形態の第1変形例に係る半導体装置を示す平面図である。
図47は、図46のXLVII-XLVII線に沿う断面図である。
図48は、図46のXLVIII-XLVIII線に沿う断面図である。
図49は、第2の側面の第1実施形態の第2変形例に係る半導体装置を示す、図40と同様の断面図である。
図50は、第2の側面の第1実施形態の第3変形例に係る半導体装置を示す、図47と同様の断面図である。
図51は、第2の側面の第1実施形態の第4変形例に係る半導体装置を示す、図40と同様の断面図である。
図52は、第2の側面の第1実施形態の第5変形例に係る半導体装置を示す平面図である。
図53は、図52のLIII-LIII線に沿う断面図である。
【発明を実施するための形態】
(【0011】以降は省略されています)
この特許をJ-PlatPat(特許庁公式サイト)で参照する
関連特許
ローム株式会社
半導体集積回路
3日前
ローム株式会社
半導体装置、電子機器、車両
3日前
ローム株式会社
半導体装置、電子機器、車両
3日前
ローム株式会社
パルス幅変調回路およびモータ駆動装置
3日前
ローム株式会社
電圧電流変換回路および半導体集積回路
3日前
ローム株式会社
半導体装置
2日前
ローム株式会社
半導体装置
4日前
ローム株式会社
半導体装置、および半導体装置の製造方法
4日前
APB株式会社
蓄電セル
8日前
東ソー株式会社
絶縁電線
10日前
個人
フレキシブル電気化学素子
22日前
ローム株式会社
半導体装置
9日前
株式会社ユーシン
操作装置
22日前
日新イオン機器株式会社
イオン源
18日前
ローム株式会社
半導体装置
24日前
ローム株式会社
半導体装置
29日前
株式会社東芝
端子台
2日前
マクセル株式会社
電源装置
2日前
株式会社GSユアサ
蓄電装置
3日前
株式会社GSユアサ
蓄電装置
3日前
株式会社GSユアサ
蓄電設備
22日前
株式会社GSユアサ
蓄電設備
22日前
太陽誘電株式会社
コイル部品
22日前
株式会社ホロン
冷陰極電子源
16日前
オムロン株式会社
電磁継電器
23日前
トヨタ自動車株式会社
蓄電装置
3日前
日本特殊陶業株式会社
保持装置
11日前
サクサ株式会社
電池の固定構造
22日前
トヨタ自動車株式会社
蓄電装置
22日前
北道電設株式会社
配電具カバー
8日前
トヨタ自動車株式会社
バッテリ
8日前
ノリタケ株式会社
熱伝導シート
22日前
日東電工株式会社
積層体
23日前
トヨタ自動車株式会社
冷却構造
10日前
TDK株式会社
電子部品
29日前
日新イオン機器株式会社
基板処理装置
5日前
続きを見る
他の特許を見る