TOP
|
特許
|
意匠
|
商標
特許ウォッチ
Twitter
他の特許を見る
10個以上の画像は省略されています。
公開番号
2025163319
公報種別
公開特許公報(A)
公開日
2025-10-29
出願番号
2022148661
出願日
2022-09-19
発明の名称
鞍乗り車両
出願人
株式会社デンソートリム
代理人
個人
主分類
B62K
23/04 20060101AFI20251022BHJP(鉄道以外の路面車両)
要約
【課題】乗員に電動モータが起動可能であることを通知して、電動二輪車等の鞍乗り車両が乗員の意図に反して動き出すことが無いようにする。
【解決手段】乗員がスロットルグリップを把持していることを検知する把持センサと、スロットルグリップの回動量を検知する回転角センサと、スロットルグリップを振動させる振動子を備える。車速が零ないし電動モータの駆動速度である第1所定車速より低速である第2所定車速以下の状態で、把持センサがスロットルグリップの把持を検知した際に、振動子を起動してスロットルグリップを振動させる。乗員が坂道で鞍乗り車両の位置を保持するようにハンドルを押したり、鞍乗り車両を押し歩きしたりしている状態では、振動子を起動してスロットルグリップを振動させ、乗員に電動モータが起動可能出ることを直感的に知らせることができ、意図に反して鞍乗り車両が発進することを防止することが可能となる。
【選択図】図3
特許請求の範囲
【請求項1】
スロットルグリップと把持グリップとを左右に有するハンドルと、
乗員が着座するシートと、
駆動輪と、
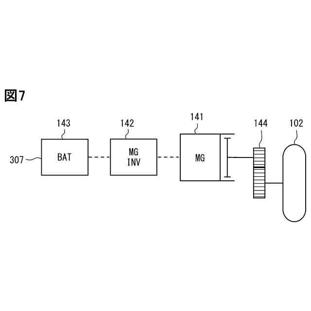
少なくとも第1所定車速以下の走行状態では、前記駆動輪を単独で駆動する電動モータとを備える鞍乗り車両であって、
前記スロットルグリップは、乗員が前記スロットルグリップを把持していることを検知する把持センサと、前記スロットルグリップの回動量を検知する回転角センサと、前記スロットルグリップを振動させる振動子を備え、
鞍乗り車両の走行後であって、車速が零ないし前記第1所定車速より低速である第2所定車速以下の状態で、前記把持センサが乗員による前記スロットルグリップの把持を検知した際に、前記振動子を起動して前記スロットルグリップを振動させる
ことを特徴とする鞍乗り車両。
続きを表示(約 1,000 文字)
【請求項2】
前記シートには乗員の着座を検知する着座センサを備えている
ことを特徴とする請求項1に記載の鞍乗り車両。
【請求項3】
前記鞍乗り車両は、前記鞍乗り車両の停車状態を保持するスタンドを更に備え、このスタンドの収納状態を検知するスタンドセンサが設けられ、
前記振動子は前記スタンドセンサが収納状態であることを検知した時に前記振動子を起動して前記スロットルグリップを振動させる
ことを特徴とする請求項1に記載の鞍乗り車両。
【請求項4】
前記把持センサは乗員が前記鞍乗り車両を前進方向に押していることを検知する機能を備え、
前記把持センサが、乗員が前記鞍乗り車両を前進方向に押していることを検知した際には、前記電動モータに前記鞍乗り車両を進行させる前進アシスト力を生じさせる
ことを特徴とする請求項1に記載の鞍乗り車両。
【請求項5】
前記把持センサは乗員が前記鞍乗り車両を後退方向に引いていることを検知する機能を備え、
前記把持センサが、乗員が前記鞍乗り車両を後退方向に引いていることを検知した際には、前記電動モータに前記鞍乗り車両を後退させる後退アシスト力を生じさせる
ことを特徴とする請求項1に記載の鞍乗り車両。
【請求項6】
前記把持グリップは、乗員が前記把持グリップを把持していることを検知する把持グリップセンサと、前記把持グリップを振動させる把持グリップ振動子を備え、
鞍乗り車両の走行後であって、車速が零ないし第2所定車速以下の状態で、前記把持グリップセンサが乗員による前記把持グリップの把持を検知した際に、前記把持グリップ振動子を起動して前記把持グリップを振動させる
ことを特徴とする請求項1に記載の鞍乗り車両。
【請求項7】
前記鞍乗り車両は、前記第1所定車速以上の車速の際に前記駆動輪を駆動する内燃機関と、この内燃機関のスロットルバルブを開閉する電子スロットルを更に備える
ことを特徴とする請求項1に記載の鞍乗り車両。
【請求項8】
前記電子スロットルは、前記スロットルバルブを開閉駆動するスロットルモータを備えており、
前記振動子は、このスロットルモータの駆動力を利用する
ことを特徴とする請求項7に記載の鞍乗り車両。
発明の詳細な説明
【技術分野】
【0001】
本明細書の記載は、例えば二輪車等の鞍乗り車両に関し、特に、少なくとも第1所定車速以下の走行状態では、駆動輪を電動モータ単独で駆動する鞍乗り車両に関する。
続きを表示(約 1,700 文字)
【背景技術】
【0002】
特許文献1では、電動二輪車で電源を入れた際に、起動音、メータ上への表示、音声ブザーなどでユーザに車両が走行可能状態であることを知らせている。また、特許文献2では、電動二輪車の押し歩きモードに着目し、押し歩きモードでは電動モータでアシストすることを開示している。
【先行技術文献】
【特許文献】
【0003】
特許第6776455号公報
特開2006-51853号公報
【発明の概要】
【発明が解決しようとする課題】
【0004】
特許文献1に記載の電動二輪車では、起動後初回しか走行可能通知をしない為、起動後に走行して、停車した時には、乗員はモニターを見ていないと電動モータが起動可能状態であることを忘れてしまう可能性がある。その状態で乗員がスロットル操作すると、二輪車が意図せず発進してしまう恐れがある。特に、停車後電動二輪車を押し歩きしている際に誤ってスロットル操作をすると、乗員の意図に反して電動二輪車が動き出すこととなる。
【0005】
特許文献2に記載の電動二輪車は、押し歩きモードで電動モータのアシストは開示しているが、これは乗員が電動モータのアシストを受けることを前提としている。その為、例えば着座していない状態において、乗員がバランスを崩して、その状態から立て直す際に誤ってスロットル操作をしてしまった場合には、押し歩きモードで電動二輪車が乗員の意図に反して動き出してしまう恐れがある。
【0006】
本開示は、起動時のみでなく、走行後停車した後でも乗員に電動モータが起動可能であることを通知して、電動二輪車等の鞍乗り車両が乗員の意図に反して動き出すことが無いようにすることを課題とする。
【課題を解決するための手段】
【0007】
本開示の第1は、スロットルグリップと把持グリップとを左右に有するハンドルと、乗員が着座するシートと、駆動輪と、少なくとも第1所定車速以下の走行状態では、駆動輪を単独で駆動する電動モータとを備える鞍乗り車両に関する。
【0008】
本開示の第1の鞍乗り車両のスロットルグリップは、乗員がスロットルグリップを把持していることを検知する把持センサと、スロットルグリップの回動量を検知する回転角センサと、スロットルグリップを振動させる振動子を備えている。そして、鞍乗り車両の走行後であって、車速が零ないし第1所定車速より低速である第2所定車速以下の状態で、把持センサが乗員によるスロットルグリップの把持を検知した際に、振動子を起動してスロットルグリップを振動させるようにしている。
【0009】
乗員が坂道で鞍乗り車両の位置を保持するようにハンドルを押したり、鞍乗り車両を押し歩きしたりしている状態は、車速が零ないし第1所定車速より低速である第2所定車速以下の状態である。かつ、位置保持や押し歩きの状態は、把持センサで乗員によるスロットルグリップの把持を検知することができる。そこで、その状態で振動子を起動してスロットルグリップを振動させれば、乗員に電動モータが起動可能であることを直感的に知らせることが可能となる。これにより、乗員の意図に反して鞍乗り車両が発進することを防止することが可能となる。
【0010】
なお、押し歩きモードは鞍乗り車両を前進させることが多いが、前進には限らない。上述のように、坂道で乗員がハンドルを握って鞍乗り車両をその位置に保持する状態も含む。かつ、乗員が鞍乗り車両を後方に引っ張る状態も含む。本開示の第1は、押し歩きモードでの意図に反する鞍乗り車両の移動を防ぐことができればよく、乗員が鞍乗り車両に乗車して意図して鞍乗り車両を発進させようとする際にも、車速が零ないし第2所定車速以下の状態である時に振動子を起動してスロットルグリップを振動させることがあっても良い。
(【0011】以降は省略されています)
この特許をJ-PlatPat(特許庁公式サイト)で参照する
関連特許
個人
カート
4か月前
個人
走行装置
4か月前
個人
三輪バイク
12日前
個人
乗り物
5か月前
個人
電動走行車両
4か月前
個人
自転車用歩数計
20日前
個人
閂式ハンドル錠
4か月前
個人
駐輪設備
2か月前
個人
折り畳み自転車
11か月前
個人
発音装置
8か月前
個人
電動モビリティ
8か月前
個人
ボギー・フレーム
2か月前
個人
三輪電動車両
20日前
個人
ルーフ付きトライク
3か月前
個人
“zen-go.”
3か月前
個人
自由方向乗車自転車
8か月前
個人
体重掛けリフト台車
11か月前
個人
ルーフ付きトライク
2か月前
個人
パワーアシスト自転車
2か月前
個人
キャンピングトライク
9か月前
個人
自転車用荷物台
11か月前
井関農機株式会社
作業車両
5日前
個人
ステアリングの操向部材
9か月前
個人
フロントフットブレーキ。
4か月前
株式会社豊田自動織機
産業車両
5か月前
株式会社三五
リアサブフレーム
11か月前
個人
乗用自動車のディフューザー
1か月前
学校法人千葉工業大学
車両
10か月前
豊田鉄工株式会社
小型車両
3か月前
学校法人千葉工業大学
車両
10か月前
学校法人千葉工業大学
車両
10か月前
個人
ホイールハブ駆動構造
5か月前
個人
折り畳み作業机搭載の変型台車
2か月前
個人
自転車の駐輪場システム
6か月前
株式会社カインズ
台車
8か月前
株式会社クボタ
作業車
7か月前
続きを見る
他の特許を見る