TOP
|
特許
|
意匠
|
商標
特許ウォッチ
Twitter
他の特許を見る
公開番号
2025163336
公報種別
公開特許公報(A)
公開日
2025-10-29
出願番号
2024066474
出願日
2024-04-17
発明の名称
地中レーダ装置及びその埋設物探査方法
出願人
日本信号株式会社
代理人
個人
,
個人
主分類
G01V
3/12 20060101AFI20251022BHJP(測定;試験)
要約
【課題】埋設物の深度算出に使用した比誘電率の信頼度を推定し、比誘電率の信頼度が低いと推定されたときに、ユーザに対して深度精度不良の警告を行う地中レーダ装置及びその埋設物探査方法を提供する。
【解決手段】地中レーダ装置は、レーダユニット21、地中探査装置22及び表示装置14を備え、送信アンテナ23から地中に電磁波EMを放射し、比誘電率の異なる材質の境界面で反射された反射波RWを受信アンテナ24で受信して地中の埋設物BOを探査する。そして、埋設物の深度算出に使用した比誘電率の信頼度を、信頼度計算部29で測定経路の路面状態及び測定速度の変化に基づいて推定し、信頼度が低いと推定されたときに、表示部14aでユーザに深度精度不良を警告することを特徴とする。
【選択図】図2
特許請求の範囲
【請求項1】
地中に電磁波を放射し、比誘電率の異なる材質の境界面で反射された反射波を受信して地中の埋設物を探査する装置であって、
埋設物の深度算出に使用した比誘電率の信頼度を、測定経路の路面状態及び測定速度の変化に基づいて推定する信頼度計算手段と、
前記信頼度計算手段で信頼度が低いと推定されたときに、ユーザに深度精度不良を警告する報知手段と、
を備える地中レーダ装置。
続きを表示(約 1,700 文字)
【請求項2】
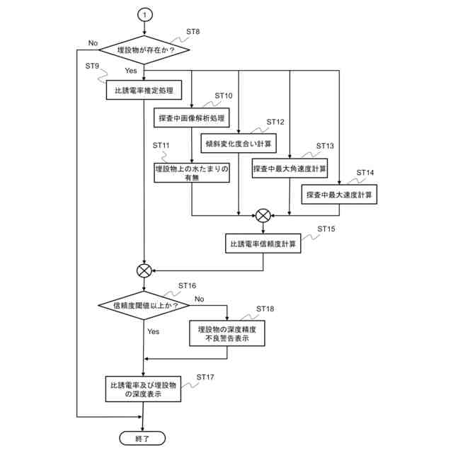
前記信頼度計算手段は、前記測定経路の路面状態の情報として、前記測定経路の地面の水たまりの有無、及び前記測定経路の傾斜と最大角速度をパラメータに用い、前記測定速度の変化の情報として、測定時の最大速度の変化をパラメータに用いて前記比誘電率の信頼度を推定する、ことを特徴とする請求項1に記載の地中レーダ装置。
【請求項3】
前記測定経路の地面の水たまりを検出するカメラと、前記測定経路の傾斜を測定する傾斜センサと、前記測定経路の最大角速度を測定するジャイロセンサと、測定中の最大速度の変化を測定する加速度センサと、を更に備える、ことを特徴とする請求項2に記載の地中レーダ装置。
【請求項4】
前記信頼度計算手段は、比誘電率の信頼度をR、埋設物上の水たまりの有無をA、探査中の最大速度をB、傾斜の変化度合いをC、探査中の最大角速度をDとし、これらA、B、C、Dのパラメータの重みをそれぞれW
A
、W
B
、W
C
、W
D
としたときに、次式に基づいて信頼度を推定する、
TIFF
2025163336000005.tif
13
147
但し、埋設物上の水たまりが有るときにはA=0、無いときにはA=1であり、
探査限界速度を超えたときにはB=0、超えないときにはB=1であり、
傾斜の変化度合いは、「C=最小値(度)/最大値(度)」で表され、
探査中の最大角速度は、「D=1-最大角速度」で表される、
ことを特徴とする請求項2又は3に記載の地中レーダ装置。
【請求項5】
前記報知手段は、信頼度情報を表示する表示装置、光警報を発する発光装置、及び警報音を発する放音装置の少なくとも何れか1つである、ことを特徴とする請求項1に記載の地中レーダ装置。
【請求項6】
地中に電磁波を放射し、比誘電率の異なる材質の境界面で反射された反射波を受信して地中の埋設物を探査する方法であって、
埋設物の深度算出に使用した比誘電率の信頼度を、測定経路の路面状態及び測定速度の変化に基づいて推定し、
前記比誘電率の信頼度が低いと推定されたときに、ユーザに深度精度不良を警告する、
地中レーダ装置の埋設物探査方法。
【請求項7】
前記測定経路の路面状態の情報として、前記測定経路の地面の水たまりの有無、及び前記測定経路の傾斜と最大角速度をパラメータに用い、前記測定速度の変化の情報として、測定時の最大速度の変化をパラメータに用いて前記比誘電率の信頼度を推定する、ことを特徴とする請求項6に記載の地中レーダ装置の埋設物探査方法。
【請求項8】
前記埋設物の深度算出に使用した比誘電率の信頼度は、比誘電率の信頼度をR、埋設物上の水たまりの有無をA、探査中の最大速度をB、傾斜の変化度合いをC、探査中の最大角速度をDとし、これらA、B、C、Dのパラメータの重みをそれぞれW
A
、W
B
、W
C
、W
D
としたときに、次式に基づいて推定する、
TIFF
2025163336000006.tif
13
147
但し、埋設物上の水たまりが有るときにはA=0、無いときにはA=1であり、
探査限界速度を超えたときにはB=0、超えないときにはB=1であり、
傾斜の変化度合いは、「C=最小値(度)/最大値(度)」で表され、
探査中の最大角速度は、「D=1-最大角速度」で表される、
ことを特徴とする請求項7に記載の地中レーダ装置の埋設物探査方法。
【請求項9】
前記ユーザへの警告は、信頼度情報の表示、光警報、及び警報音の少なくとも何れか1つである、ことを特徴とする請求項6に記載の地中レーダ装置の埋設物探査方法。
発明の詳細な説明
【技術分野】
【0001】
本発明は、地中に電磁波を放射して反射波を計測し、埋設物や内部構造物を探査する地中レーダ装置及びその埋設物探査方法に関する。
続きを表示(約 1,900 文字)
【背景技術】
【0002】
地中に埋設された埋設管等を探査する「地中埋設物探査装置」として、電波を送信する送信アンテナを固定する一方、受信アンテナを埋設管等の直上において移動させて受信アンテナの移動距離に応じた反射波の伝搬時間の変化を調べることで、土中の比誘電率や埋設管等の埋設深度を算出するものが知られている(例えば特許文献1参照)。
【先行技術文献】
【特許文献】
【0003】
特開平4-286983号公報
【発明の概要】
【発明が解決しようとする課題】
【0004】
しかしながら、上記特許文献1に開示の技術は、埋設管のおおよその埋設位置や、土中の状態(例えば土中の比誘電率が一定であること)等が予め分かっていることを前提とした上で、比誘電率や埋設深度を求めるものである。また、比誘電率を求めるには、埋設管敷設方向に受信アンテナを移動させる必要が有り、このため基準となる一定深度の埋設管が必須となる。
【0005】
よって、一定深度の埋設管が埋まっていない場所では、比誘電率の推定について、その信頼性が大きく損なわれる。また、比誘電率は、探査速度や探査機の直進性等の探査条件や地中探査部の含水量により、推定値に大幅なずれが生じる場合がある。現状では、推定した比誘電率の信頼度は、測定者であるユーザの経験や勘で判断されている、という実態がある。
【0006】
本発明は上記のような事情に鑑みてなされたもので、その目的とするところは、埋設物の深度算出に使用した比誘電率の信頼度を推定し、比誘電率の信頼度が低いと推定されたときに、ユーザに対して深度精度不良の警告を行う地中レーダ装置及びその埋設物探査方法を提供することにある。
【課題を解決するための手段】
【0007】
本発明の一態様に係る地中レーダ装置及びその埋設物探査方法は、地中に電磁波を放射し、比誘電率の異なる材質の境界面で反射された反射波を受信して地中の埋設物を探査する装置及び方法であって、埋設物の深度算出に使用した比誘電率の信頼度を、測定経路の路面状態及び測定速度の変化に基づいて推定し、比誘電率の信頼度が低いと推定されたときに、ユーザに深度精度不良を警告する、ことを特徴とする。
【発明の効果】
【0008】
本発明の地中レーダ装置及びその埋設物探査方法によれば、埋設物の深度算出に使用した埋設媒質の比誘電率の信頼度を、測定経路の路面状態及び測定速度の変化に基づいて推定し、比誘電率の信頼度が低いと推定されたときに、ユーザに深度精度不良を警告する。
これによって、埋設物の深度算出に使用した比誘電率の信頼度を定量的に推定し、比誘電率の信頼度が低いと推定されたときに、ユーザに対して深度精度不良の警告を行うことができる。
【図面の簡単な説明】
【0009】
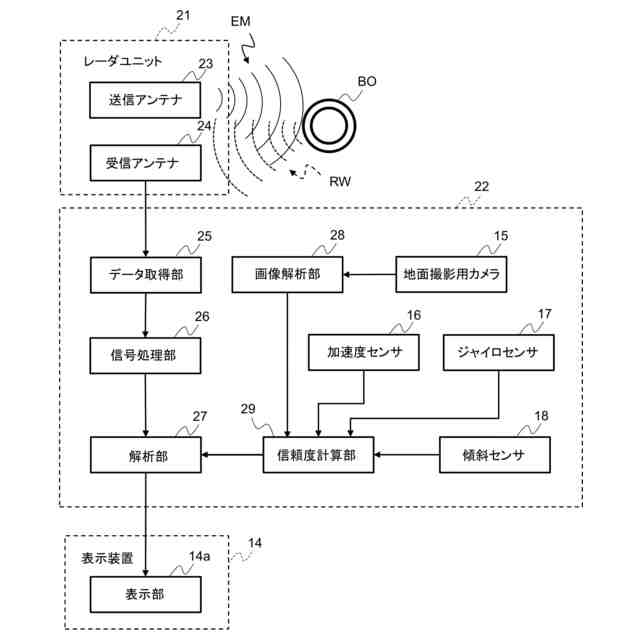
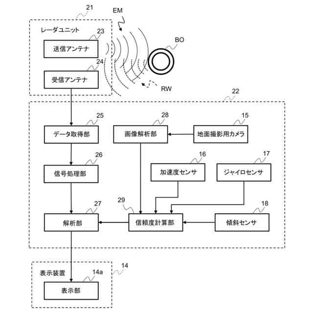
本発明の実施形態に係る地中レーダ装置の概略構成を示す側面図である。
図1に示した地中レーダ装置のブロック構成図である。
図1及び図2に示した地中レーダ装置における埋設物探査方法を示すフローチャートである。
図3に続く埋設物探査方法を示すフローチャートである。
本発明の埋設物探査方法における探査データの表示イメージ図である。
本発明の埋設物探査方法における解析処理後の探査データの表示イメージ図である。
正常時における画像の表示例を示すイメージ図である。
画像のエッジにぼけが発生した場合の表示イメージ図である。
画像のエッジに歪みが発生した場合の表示イメージ図である。
【発明を実施するための形態】
【0010】
以下、本発明の実施形態について図面を参照して説明する。
図1は、本発明の実施形態に係る地中レーダ装置の概略構成を示している。この地中レーダ装置10は、地中にパルス状の電磁波EMを放射しつつ矢印方向に移動し、比誘電率の異なる材質の境界面で反射された反射波RWを受信して地中の埋設物BOの探査を行うものである。そして、車輪11やこの車輪11の駆動機構(図示せず)を持った移動本体12に、ハンドル13が取り付けられた構成になっている。移動本体12には、地面撮影用カメラ15、加速度センサ16、ジャイロセンサ17及び傾斜センサ18が搭載されている。
(【0011】以降は省略されています)
この特許をJ-PlatPat(特許庁公式サイト)で参照する
関連特許
日本信号株式会社
ホーム柵
2か月前
日本信号株式会社
検査装置
3日前
日本信号株式会社
異常走行検出装置
1か月前
日本信号株式会社
自動列車運転装置
1か月前
日本信号株式会社
可視光通信システム
1か月前
日本信号株式会社
検査装置及び検査方法
4日前
日本信号株式会社
列車接近警報システム
10日前
日本信号株式会社
運行管理システム及び方法
9日前
日本信号株式会社
ホーム柵及びホーム柵の設置方法
1か月前
日本信号株式会社
地中レーダ装置及びその埋設物探査方法
4日前
日本信号株式会社
距離画像装置、距離画像の補正方法及び画像処理プログラム
3日前
個人
メジャー文具
26日前
個人
採尿及び採便具
3日前
個人
アクセサリー型テスター
19日前
個人
高精度同時多点測定装置
18日前
株式会社ミツトヨ
測定器
9日前
日本精機株式会社
位置検出装置
1か月前
日本精機株式会社
位置検出装置
1か月前
日本精機株式会社
位置検出装置
1か月前
ユニパルス株式会社
ロードセル
25日前
アズビル株式会社
圧力センサ
1か月前
アズビル株式会社
電磁流量計
12日前
ダイキン工業株式会社
監視装置
23日前
トヨタ自動車株式会社
監視装置
24日前
株式会社ユーシン
操作検出装置
1か月前
トヨタ自動車株式会社
検査装置
1か月前
株式会社ヨコオ
ソケット
25日前
株式会社チノー
放射光測温装置
25日前
株式会社東芝
センサ
1か月前
株式会社東芝
センサ
1か月前
株式会社ヨコオ
ソケット
24日前
エイブリック株式会社
磁気センサ回路
1か月前
TDK株式会社
磁気センサ
24日前
愛知時計電機株式会社
ガスメータ
9日前
TDK株式会社
ガスセンサ
1か月前
TDK株式会社
ガスセンサ
25日前
続きを見る
他の特許を見る