TOP
|
特許
|
意匠
|
商標
特許ウォッチ
Twitter
他の特許を見る
10個以上の画像は省略されています。
公開番号
2025163756
公報種別
公開特許公報(A)
公開日
2025-10-30
出願番号
2024067251
出願日
2024-04-18
発明の名称
検査装置
出願人
日本信号株式会社
代理人
個人
主分類
B61K
9/00 20060101AFI20251023BHJP(鉄道)
要約
【課題】床下部品の下側に露出する箇所の状態を正確に把握可能にする検査装置を提供すること。
【解決手段】検査装置100は、鉄道の枕木3bの近傍に配置され、鉄道車両CAの床下部品UFを照明する照明装置16と、照明装置16の近傍に配置され、床下部品UFを撮像して画像データを得る下部撮像装置17と、照明装置16と下部撮像装置17とを枕木3bに固定するホルダ18とを備える。
【選択図】 図2
特許請求の範囲
【請求項1】
鉄道の枕木の近傍に配置され、車両の床下部品を照明する照明装置と、
前記照明装置の近傍に配置され、前記床下部品を撮像して画像データを得る下部撮像装置と、
前記照明装置と前記下部撮像装置とを前記枕木に固定するホルダと
を備える検査装置。
続きを表示(約 700 文字)
【請求項2】
前記照明装置は、前記下部撮像装置を介して前記枕木に固定される、
請求項1に記載の検査装置。
【請求項3】
前記ホルダは、前記照明装置と前記下部撮像装置とをレールの外側に配置する、
請求項1に記載の検査装置。
【請求項4】
前記下部撮像装置は、前記床下部品として、前記車両の台車の構成部品を撮影する、
請求項1に記載の検査装置。
【請求項5】
前記下部撮像装置は、前記台車の車輪に付随する制輪子を撮影する、
請求項4に記載の検査装置。
【請求項6】
前記車両の側面に対向する状態で前記床下部品を撮影する側部撮像装置をさらに備える、
請求項1に記載の検査装置。
【請求項7】
前記側部撮像装置は、軸受部、ダンパ、及び車両番号を撮影する、
請求項6に記載の検査装置。
【請求項8】
前記車両の進入を検出する検知装置と、
前記検知装置によって前記車両の進入が検出された場合に前記照明装置と前記下部撮像装置とを動作させることによって得た前記画像データについて、前記床下部品の異常の有無の判定処理を行う情報処理装置を有する管理装置と、
をさらに備える、
請求項1に記載の検査装置。
【請求項9】
前記管理装置は、
前記画像データを保持するデータ記憶部と、
前記画像データを遠隔の前記情報処理装置に送信する送信装置とを有する
端末装置を含む、
請求項8に記載の検査装置。
発明の詳細な説明
【技術分野】
【0001】
本発明は、鉄道を走行する車両について、床下部品の状態を検査する検査装置に関する。
続きを表示(約 1,900 文字)
【背景技術】
【0002】
鉄道車両の車輪を計測する検査装置として、撮影箇所の斜め前方に配置された凹面鏡と、凹面鏡の後方に配置されたカメラと、凹面鏡よりも近くの斜め前方から車輪を照明するライトとを備え、車輪検知センサによって撮影開始及び撮影終了のタイミングを決定するものが公知となっている(特許文献1)。
【0003】
鉄道車両のブレーキディスクを撮影し検査する検査装置として、車輪に付随するディスク面に対して斜め下前方及び斜め下後方に配置された照明光源によってディスク面下部を照明しつつ、ディスク面の斜め下側に配置されたカメラからブレーキディスク下部を撮影するものが公知となっている(特許文献2)。
【0004】
鉄道車両の制輪子を撮影し検査する装置として、車輪がフォトセンサの位置を通過したシャッタータイミングで、ストロボ発光装置を発光させ、テレビカメラによって車輪の側面方向から制輪子を撮影するものが公知となっている(特許文献3)。
【0005】
特許文献1の検査装置の場合、車輪の側面を斜め前方から撮影するが、制輪子等を含む床下部品を下方から撮影することができず、床下部品の下側に露出する箇所の状態を正確に把握できない可能性がある。また、特許文献2の検査装置では、ディスク面を斜め下方から撮影するが、床下部品の下側に露出する箇所の状態を正確に把握することができない可能性があり、建築限界の観点で照明光源等の配置が制限される。特許文献3の装置では、床下部品を下方から撮影することができず、床下部品の下側に露出する箇所の状態を正確に把握することができない。
【先行技術文献】
【特許文献】
【0006】
特開2006-290312号公報
特開2011-180107号公報
国際公開第93/005358号
【発明の概要】
【0007】
本発明は、上記した点に鑑みてなされたものであり、設置が簡単であり、床下部品の下側に露出する箇所の状態を正確に把握可能にする検査装置を提供することを目的とする。
【0008】
上記目的を達成するため、本発明に係る検査装置は、鉄道の枕木の近傍に配置され、車両の床下部品を照明する照明装置と、照明装置の近傍に配置され、床下部品を撮像して画像データを得る下部撮像装置と、照明装置と下部撮像装置とを枕木に固定するホルダとを備える。
【0009】
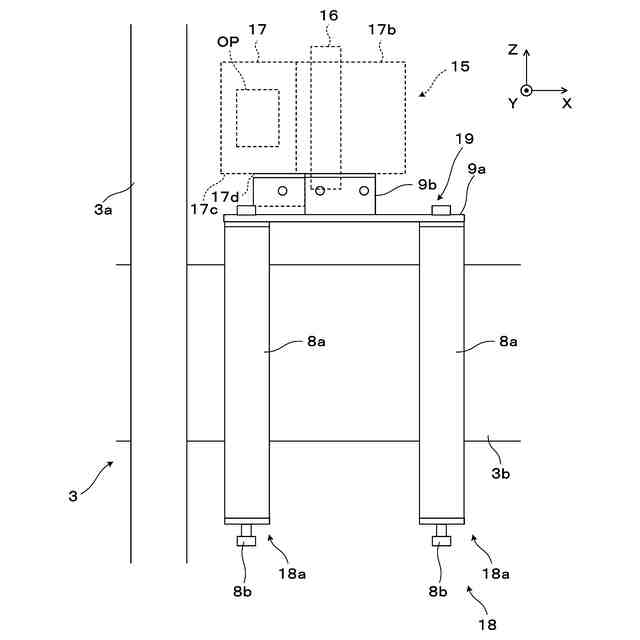
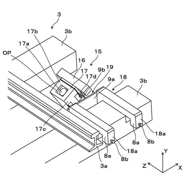
上記検査装置では、照明装置が車両の床下部品を照明し、下部撮像装置が床下部品を撮像して画像データを得るので、床下部品の下側に露出する箇所を下部撮像装置の正面から照明し、照明された箇所を正面から撮影できる。つまり、床下部品の下側に露出する箇所の状態を正確に把握することができる。また、照明装置と下部撮像装置とを枕木に固定するホルダを有することにより、枕木等を追加工することなく照明装置及び下部撮像装置を簡単に設置することができる。
【図面の簡単な説明】
【0010】
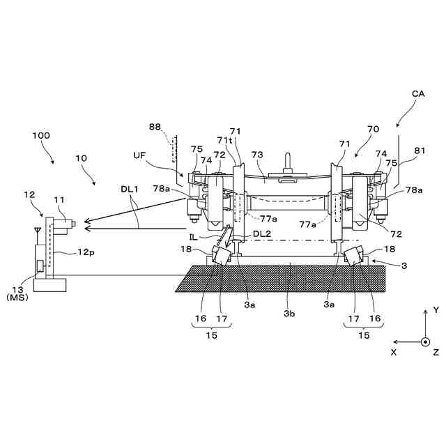
線路に付随して設置される第1実施形態の検査装置を説明する概念的な平面図である。
検査装置を説明する線路に沿った正面方向からの概念図である。
鉄道車両の台車等を説明する側面図である。
撮像ユニットを説明する斜視図である。
撮像ユニットを説明する平面図である。
撮像ユニットを説明する側面図である。
(A)は、照明装置及び下部撮像装置の平面図であり、(B)は、照明装置及び下部撮像装置の側面図である。
撮像ユニットの角度調整部材を説明する側面図である。
(A)は、側部撮像装置によって撮影された画像を説明する概念図であり、(B)は、下部撮像装置によって撮影された画像を説明する概念図である。
ブレーキの制輪子や車輪の踏面の状態を示す図である。
(A)及び(B)は、軸受部の状態を比較する概念的な拡大図である。
(A)及び(B)は、ダンパの状態を比較する概念的な図である。
(A)及び(B)は、ダンパの状態を別の観点で比較する概念的な図である。
(A)は、端末装置を説明する概念的なブロック図であり、(B)は、遠隔監視装置を説明する概念的なブロック図である。
第2実施形態の検査装置のうち撮像ユニットを説明する側面図である。
【発明を実施するための形態】
(【0011】以降は省略されています)
この特許をJ-PlatPat(特許庁公式サイト)で参照する
関連特許
日本信号株式会社
ホーム柵
2か月前
日本信号株式会社
検査装置
7日前
日本信号株式会社
ホーム柵
2か月前
近畿車輌株式会社
耐火床構造
1か月前
日本車輌製造株式会社
鉄道車両
1か月前
日本信号株式会社
列車接近警報装置
3か月前
ナブテスコ株式会社
ホームドア装置
3か月前
日本車輌製造株式会社
台車組立装置
5か月前
株式会社東芝
台車搬送装置
1か月前
日本ケーブル株式会社
索道の支索引留め装置
3か月前
日本信号株式会社
ホームドア制御装置
3か月前
日本信号株式会社
列車接近警報システム
14日前
株式会社日立製作所
鉄道車両
1か月前
ヤマハ発動機株式会社
無人搬送車
5か月前
オークラ輸送機株式会社
無人搬送車
1か月前
日本信号株式会社
自動列車運転装置
3か月前
日本車輌製造株式会社
車両用ヒップレスト
2か月前
村田機械株式会社
走行車システム
1日前
株式会社京三製作所
可動式ホーム柵
1か月前
日本製鉄株式会社
鉄道車両用の車軸
21日前
日本信号株式会社
ホーム柵及びホーム柵の設置方法
1か月前
日本信号株式会社
ホーム柵及び駆動機構の調整方法
2か月前
株式会社京三製作所
運行管理システム
3か月前
株式会社京三製作所
運行管理システム
3か月前
日本製鉄株式会社
鉄道車両用の台車
1か月前
日本製鉄株式会社
鉄道車両用の台車枠
22日前
村田機械株式会社
走行車システム
28日前
日本信号株式会社
遮断機監視装置及び遮断機監視方法
4か月前
株式会社デンソーウェーブ
停車位置検知システム
4か月前
株式会社京三製作所
車上装置及び判定方法
1日前
株式会社日立製作所
軌条車両
4か月前
株式会社日立製作所
鉄道車両
20日前
株式会社日立製作所
軌条車両
4か月前
トヨタ自動車株式会社
乗客支援装置
20日前
村田機械株式会社
有軌道台車システム
15日前
村田機械株式会社
天井走行車システム
2日前
続きを見る
他の特許を見る