TOP
|
特許
|
意匠
|
商標
特許ウォッチ
Twitter
他の特許を見る
10個以上の画像は省略されています。
公開番号
2025164090
公報種別
公開特許公報(A)
公開日
2025-10-30
出願番号
2024067854
出願日
2024-04-18
発明の名称
距離画像装置、距離画像の補正方法及び画像処理プログラム
出願人
日本信号株式会社
代理人
個人
主分類
G01S
17/89 20200101AFI20251023BHJP(測定;試験)
要約
【課題】 異常検出を的確に行うことができる距離画像装置を提供すること。
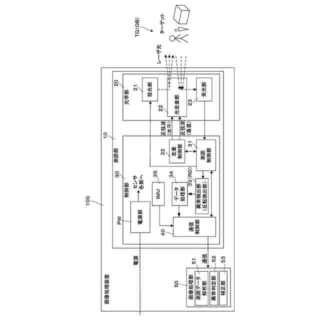
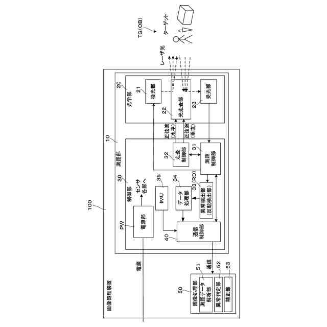
【解決手段】 距離画像装置100は、監視対象OBに向けて光を走査する光走査部22と、光走査部22による走査光の反射光を受光する受光部23と、光走査部22による光走査と受光部23での受光結果とに基づく測距画像について、測距画像のうち判定対象画素JPにおける異常の有無を、判定対象画素の距離値と判定対象画素に隣接する隣接画素の距離値との対比に基づいて判定する異常判定部52とを備える。
【選択図】図1
特許請求の範囲
【請求項1】
監視対象に向けて光を走査する光走査部と、
前記光走査部による走査光の反射光を受光する受光部と、
前記光走査部による光走査と前記受光部での受光結果とに基づく測距画像について、前記測距画像のうち判定対象画素における異常の有無を、前記判定対象画素の距離値と前記判定対象画素に隣接する隣接画素の距離値との対比に基づいて判定する異常判定部と
を備える距離画像装置。
続きを表示(約 1,000 文字)
【請求項2】
前記光走査部は、リサージュ走査型であり、
前記異常判定部は、前記隣接画素として、前記判定対象画素の走査経路とは異なる走査経路上にある画素を含む、請求項1に記載の距離画像装置。
【請求項3】
前記異常判定部は、前記判定対象画素の周囲に存在する8画素を、前記隣接画素として取り扱う、請求項1又は2に記載の距離画像装置。
【請求項4】
前記異常判定部は、前記8画素のうち所定数以上のものと距離差がある場合に、前記判定対象画素に異常があると判定する、請求項3に記載の距離画像装置。
【請求項5】
所定期間中に連続して取得される複数の測距画像間について、過去又は現在の測距画像中に時間差反転異常があったか否かに基づいて、前記現在の測距画像について異常の有無の判定を行うか否かを決定する、請求項1又は2に記載の距離画像装置。
【請求項6】
前記異常判定部は、前記時間差反転異常があった場合、前記現在の測距画像のうち、前記時間差反転異常があった位置から所定の画素数広げた範囲内にある画素を、前記判定対象画素として取り扱う、請求項5に記載の距離画像装置。
【請求項7】
前記異常判定部における判定結果に応じて距離値を画素単位で補正する補正部を備える、請求項1又は2に記載の距離画像装置。
【請求項8】
光走査部による光走査と前記受光部での受光結果とに基づき、画素単位で距離値を算出する距離値算出工程と、
前記距離値算出工程により生成された測距画像のうち判定対象画素と前記判定対象画素に隣接する隣接画素の距離値との対比を行う距離値対比工程と、
前記距離値対比工程における対比結果に基づいて前記測距画像における異常の有無を判定し、判定結果に応じて距離値を画素単位で補正する測距値補正工程と
を有する、距離画像の補正方法。
【請求項9】
光走査部による光走査と前記受光部での受光結果とに基づき、画素単位で距離値を算出する距離値算出処理と、
前記距離値算出処理により生成された測距画像のうち判定対象画素と前記判定対象画素に隣接する隣接画素の距離値との対比を行う距離値対比処理と、
前記距離値対比処理における対比結果に基づいて前記測距画像における異常の有無を判定し、判定結果に応じて距離値を画素単位で補正する測距値補正処理と
を実行する、画像処理プログラム。
発明の詳細な説明
【技術分野】
【0001】
本発明は、監視対象に向けて射出した電磁波の反射成分に基づき監視対象までの距離を測定した距離画像を生成する距離画像装置、距離画像の補正方法、画像処理プログラムに関する。
続きを表示(約 1,200 文字)
【背景技術】
【0002】
例えば、距離測定装置として、太陽光の影響で発生するノイズを検出するものが知られている(特許文献1参照)。また、距離値を一定距離単位で分割してラベル付けを行って、この際に画素数が小さいラベルをノイズとみなし、周辺画素から補間を行っているものが知られている(特許文献2参照)。
【先行技術文献】
【特許文献】
【0003】
特開2017-181291号公報
特開平11-120359号公報
【発明の概要】
【発明が解決しようとする課題】
【0004】
しかしながら、上記特許文献1では、例えば抽出すべき物体と似た距離にあるノイズについて的確に除去することができない可能性がある。また、上記特許文献2では、近い距離同士のものをグルーピングして抽出した領域に基づいてノイズ判定を行っているため、画素の範囲を一括してノイズとしてしまうことで、正常な画素も除去されてしまう可能性があり、また、逆にピンポイントに発生するノイズを除去することができない可能性もある。
【0005】
本発明は上記した点に鑑みてなされたものであり、異常検出を的確に行うことができる距離画像装置を提供することを目的とする。
【課題を解決するための手段】
【0006】
上記目的を達成するための距離画像装置は、監視対象に向けて光を走査する光走査部と、光走査部による走査光の反射光を受光する受光部と、光走査部による光走査と受光部での受光結果とに基づく測距画像について、測距画像のうち判定対象画素における異常の有無を、判定対象画素の距離値と判定対象画素に隣接する隣接画素の距離値との対比に基づいて判定する異常判定部とを備える。
【0007】
上記距離画像装置では、判定対象画素の距離値と判定対象画素に隣接する隣接画素の距離値との対比に基づいて異常の有無を判定することで、画素単位での異常検出を的確に行うことができる。
【0008】
本発明の具体的な側面では、光走査部は、リサージュ走査型であり、異常判定部は、隣接画素として、判定対象画素の走査経路とは異なる走査経路上にある画素を含む。この場合、異なる走査経路上にある判定対象画素と隣接画素とについての距離値が異なる状況下で測定され、これらを対比することで、的確な異常検出が可能になる。
【0009】
本発明の別の側面では、異常判定部は、判定対象画素の周囲に存在する8画素を、隣接画素として取り扱う。この場合、画素単位での異常検出を、周囲の測定結果との比較に基づく判断によって、より的確に行える。
【0010】
本発明のさらに別の側面では、異常判定部は、8画素のうち所定数以上のものと距離差がある場合に、判定対象画素に異常があると判定する。この場合、確実な異常検出が可能になる。
(【0011】以降は省略されています)
この特許をJ-PlatPat(特許庁公式サイト)で参照する
関連特許
日本信号株式会社
検査装置
5日前
日本信号株式会社
異常走行検出装置
1か月前
日本信号株式会社
可視光通信システム
1か月前
日本信号株式会社
検査装置及び検査方法
6日前
日本信号株式会社
列車接近警報システム
12日前
日本信号株式会社
運行管理システム及び方法
11日前
日本信号株式会社
地中レーダ装置及びその埋設物探査方法
6日前
日本信号株式会社
距離画像装置、距離画像の補正方法及び画像処理プログラム
5日前
個人
メジャー文具
28日前
個人
採尿及び採便具
5日前
個人
アクセサリー型テスター
21日前
個人
高精度同時多点測定装置
20日前
日本精機株式会社
位置検出装置
1か月前
日本精機株式会社
位置検出装置
1か月前
日本精機株式会社
位置検出装置
1か月前
株式会社ミツトヨ
測定器
11日前
ユニパルス株式会社
ロードセル
27日前
アズビル株式会社
圧力センサ
1か月前
アズビル株式会社
電磁流量計
14日前
トヨタ自動車株式会社
監視装置
26日前
ダイキン工業株式会社
監視装置
25日前
株式会社ヨコオ
ソケット
27日前
株式会社チノー
放射光測温装置
27日前
トヨタ自動車株式会社
検査装置
1か月前
株式会社ヨコオ
ソケット
26日前
エイブリック株式会社
磁気センサ回路
1か月前
株式会社ユーシン
操作検出装置
1か月前
ローム株式会社
半導体装置
19日前
大和製衡株式会社
組合せ計量装置
8日前
大和製衡株式会社
組合せ計量装置
8日前
TDK株式会社
ガスセンサ
1か月前
TDK株式会社
ガスセンサ
1か月前
TDK株式会社
磁気センサ
26日前
ローム株式会社
半導体装置
19日前
東レエンジニアリング株式会社
計量装置
1か月前
長崎県
形状計測方法
21日前
続きを見る
他の特許を見る