TOP
|
特許
|
意匠
|
商標
特許ウォッチ
Twitter
他の特許を見る
公開番号
2025137975
公報種別
公開特許公報(A)
公開日
2025-09-25
出願番号
2024036513
出願日
2024-03-11
発明の名称
ホーム柵及びホーム柵の設置方法
出願人
日本信号株式会社
代理人
個人
主分類
B61B
1/02 20060101AFI20250917BHJP(鉄道)
要約
【課題】設置時の位置調整が容易であり水平状態を安定して維持可能であるホーム柵及びホーム柵の設置方法を提供すること。
【解決手段】ホーム柵100は、ホーム柵本体30とホーム柵本体30の端部から側方に進退する扉体20とを備え、ホーム柵本体30は、底部材34に設けた調整用孔34bを介して上下方向の位置を調整する調整部72と、位置を維持する充填部材71bを有し底部材34に設けた設置孔34aを介してホーム柵本体30を固定する固定部71とを有する。
【選択図】図2
特許請求の範囲
【請求項1】
ホーム柵本体と前記ホーム柵本体の端部から側方に進退する扉体とを備え、
前記ホーム柵本体は、底部材に設けた調整用孔を介して上下方向の位置を調整する調整部と、前記位置を維持する充填部材を有し前記底部材に設けた設置孔を介して前記ホーム柵本体を固定する固定部とを有する、
ホーム柵。
続きを表示(約 900 文字)
【請求項2】
前記充填部材は、前記固定部において、前記底部材とプラットホームとの間の空間を埋めるグラウト及びシムのいずれかである、
請求項1に記載のホーム柵。
【請求項3】
前記固定部は、前記底部材の一方向に一組並んで配置され、
前記調整部は、前記固定部とは反対の位置において前記一方向に一組並んで配置される、
請求項1に記載のホーム柵。
【請求項4】
前記固定部は、前記端部側に配置され、
前記調整部は、前記端部とは反対側に配置される、
請求項3に記載のホーム柵。
【請求項5】
前記固定部は、プラットホームとの間に第1絶縁部材を挟み、
前記調整部は、前記プラットホームとの間に第2絶縁部材を挟む、
請求項1に記載のホーム柵。
【請求項6】
前記固定部は、据付ボルトを有し、
前記調整部は、アジャスタボルトを有する、
請求項1に記載のホーム柵。
【請求項7】
ホーム柵本体と扉体とを備えるホーム柵の設置方法であって、
前記ホーム柵本体は、上下方向の位置を調整する調整部と、前記ホーム柵本体を固定する固定部とを有し、
前記固定部でプラットホームに仮固定する仮固定工程と、
前記調整部で前記位置を調整する調整工程と、
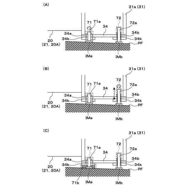
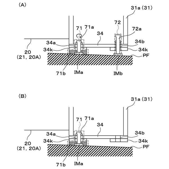
前記固定部において、前記ホーム柵本体の底部材と前記プラットホームとの間の空間を充填部材で埋める充填工程と、
前記固定部を本固定する本固定工程と、
を備える、
ホーム柵の設置方法。
【請求項8】
前記本固定後、前記底部材から前記調整部を取り外す取外工程を備える、
請求項7に記載のホーム柵の設置方法。
【請求項9】
前記仮固定工程において、前記固定部は、前記プラットホームとの間に第1絶縁部材を挟み、
前記調整工程において、前記調整部は、前記プラットホームとの間に第2絶縁部材を挟む、
請求項7に記載のホーム柵の設置方法。
発明の詳細な説明
【技術分野】
【0001】
本発明は、ホーム柵及びホーム柵の設置方法に関する。
続きを表示(約 1,500 文字)
【背景技術】
【0002】
据え付けプレートを間に挟んでプラットホームに戸袋を固定し、4隅に設けたジャッキボルトによって戸袋の高さ調整及び水平調整(位置調整)を行うホームドア装置が開示されている(特許文献1)。
【0003】
特許文献1の技術では、プラットホームにホームドア装置を設置する際に戸袋の4隅に設けたジャッキボルトで装置の位置を調整するが、1か所ずつ調整をすると既に調整したジャッキボルトについて再調整が必要になる場合があり、試行錯誤を要する。また、位置調整によってジャッキボルトに負担がかかり、長期的に戸袋の水平状態が維持されない可能性がある。また、特許文献1の装置の場合、ジャッキボルトは下向きの力しか支えられないため、戸袋の傾きによって上向きの力が働く箇所はそのまま戸袋が浮いた状態となり、戸袋やドアが揺れる原因となる。
【先行技術文献】
【特許文献】
【0004】
特開2021-94994号公報
【発明の概要】
【0005】
本発明は上記した点に鑑みてなされたものであり、設置時の位置調整が容易であり水平状態を安定して維持可能であるホーム柵及びホーム柵の設置方法を提供することを目的とする。
【0006】
上記目的を達成するため、本発明に係るホーム柵は、ホーム柵本体とホーム柵本体の端部から側方に進退する扉体とを備え、ホーム柵本体は、底部材に設けた調整用孔を介して上下方向の位置を調整する調整部と、位置を維持する充填部材を有し底部材に設けた設置孔を介してホーム柵本体を固定する固定部とを有する。
【0007】
上記ホーム柵によれば、ホーム柵本体を固定部で固定しつつ調整部によって上下方向の位置を調整することによりホーム柵本体の高さ及び傾きを調整することができるため、ホーム柵本体を別途支持しながら調整したり試行錯誤しながら調整したりする必要がない。そのため、ホーム柵の設置作業時間を大幅に削減することができる。また、調整部で位置調整を行うため、固定部には位置調整時の負担がほとんどかからない。また、固定部が充填部材を有することにより、長期的にホーム柵の水平状態を維持することができる。
【0008】
上記目的を達成するため、本発明に係るホーム柵の設置方法は、ホーム柵本体と扉体とを備えるホーム柵の設置方法であって、ホーム柵本体は、上下方向の位置を調整する調整部と、ホーム柵本体を固定する固定部とを有し、固定部でプラットホームに仮固定する仮固定工程と、調整部で位置を調整する調整工程と、固定部において、ホーム柵本体の底部材とプラットホームとの間の空間を充填部材で埋める充填工程と、固定部を本固定する本固定工程と、を備える。
【図面の簡単な説明】
【0009】
実施形態のホーム柵を説明する全体的な概念図である。
ホーム柵の外観例を説明する全体的な概念図である。
ホーム柵要素の扉体及び筐体を説明する概念図である。
図3に示すホーム柵要素のA-A断面図である。
(A)及び(B)は、調整部の具体例を示す斜視図である。
ホーム柵の設置方法を説明するフローチャートである。
(A)~(C)は、ホーム柵の設置方法を説明する図である。
(A)及び(B)は、ホーム柵の設置方法を説明する図である。
【発明を実施するための形態】
【0010】
〔実施形態〕
以下、図面を参照して、本発明の実施形態に係るホーム柵について説明する。
(【0011】以降は省略されています)
この特許をJ-PlatPat(特許庁公式サイト)で参照する
関連特許
日本信号株式会社
異常走行検出装置
16日前
日本信号株式会社
可視光通信システム
12日前
日本信号株式会社
ホーム柵及びホーム柵の設置方法
16日前
日本信号株式会社
ホーム柵
1か月前
日本信号株式会社
ホーム柵
1か月前
日本信号株式会社
検査装置
9か月前
個人
車両及び走行システム
5か月前
近畿車輌株式会社
耐火床構造
12日前
日本車輌製造株式会社
鉄道車両
4日前
日本信号株式会社
ホーム柵装置
6か月前
日本車輌製造株式会社
台車組立装置
4か月前
日本信号株式会社
列車接近警報装置
2か月前
近畿車輌株式会社
鉄道車両の床構造
10か月前
近畿車輌株式会社
鉄道車両の床構造
10か月前
近畿車輌株式会社
鉄道車両の床構造
10か月前
ナブテスコ株式会社
ホームドア装置
2か月前
川崎車両株式会社
鉄道車両用パネル
7か月前
カヤバ株式会社
鉄道車両用制振装置
9か月前
保線機器整備株式会社
保線用カート
8か月前
日本信号株式会社
ホームドア制御装置
3か月前
日本信号株式会社
物体検知装置
6か月前
日本ケーブル株式会社
索道の支索引留め装置
2か月前
日本信号株式会社
ホーム安全システム
6か月前
株式会社東芝
台車搬送装置
8日前
株式会社ダイフク
搬送車
4か月前
日本信号株式会社
踏切道監視システム
10か月前
ヤマハ発動機株式会社
無人搬送車
6か月前
ヤマハ発動機株式会社
無人搬送車
4か月前
株式会社日立製作所
鉄道車両
16日前
ヤマハ発動機株式会社
無人搬送車
6か月前
ヤマハ発動機株式会社
無人搬送車
6か月前
株式会社ダイフク
搬送設備
5か月前
シャープ株式会社
表示装置
11か月前
前川鉄工株式会社
ロープ駆動装置
11か月前
株式会社京三製作所
車上装置
7か月前
日本製鉄株式会社
鉄道車両
7か月前
続きを見る
他の特許を見る