TOP
|
特許
|
意匠
|
商標
特許ウォッチ
Twitter
他の特許を見る
10個以上の画像は省略されています。
公開番号
2025163513
公報種別
公開特許公報(A)
公開日
2025-10-29
出願番号
2024066825
出願日
2024-04-17
発明の名称
露光装置、露光方法、シャッタ装置及び物品の製造方法
出願人
キヤノン株式会社
代理人
弁理士法人大塚国際特許事務所
主分類
G03F
7/20 20060101AFI20251022BHJP(写真;映画;光波以外の波を使用する類似技術;電子写真;ホログラフイ)
要約
【課題】シャッタ羽根の破損を低減するために有利な技術を提供する。
【解決手段】基板上の複数のショット領域を露光する露光装置であって、前記基板上の各ショット領域に入射させる露光光を遮断するシャッタ羽根と、前記シャッタ羽根を回転駆動する駆動部と、を含むシャッタ機構と、前記シャッタ機構を制御モードに従って制御する制御部と、を有し、前記制御モードは、前記シャッタ羽根の振動が抑制されるように、前記駆動部に対して前記シャッタ羽根を回転駆動させる指令を与える周期成分が調整される第1モードを含む、ことを特徴とする露光装置を提供する。
【選択図】図4
特許請求の範囲
【請求項1】
基板上の複数のショット領域を露光する露光装置であって、
前記基板上の各ショット領域に入射させる露光光を遮断するシャッタ羽根と、前記シャッタ羽根を回転駆動する駆動部と、を含むシャッタ機構と、
前記シャッタ機構を制御モードに従って制御する制御部と、
を有し、
前記制御モードは、前記シャッタ羽根の振動が抑制されるように、前記駆動部に対して前記シャッタ羽根を回転駆動させる指令を与える周期成分が調整される第1モードを含む、
ことを特徴とする露光装置。
続きを表示(約 1,600 文字)
【請求項2】
前記指令は、前記シャッタ羽根が前記露光光を遮断している遮光状態から前記シャッタ羽根が前記露光光を遮断していない照射状態に前記シャッタ羽根を回転駆動させる第1指令と、前記照射状態から前記遮光状態に前記シャッタ羽根を回転駆動させる第2指令と、を含み、
前記周期成分は、前記複数のショット領域のうちの1つのショット領域を露光する間に前記駆動部に対して与える前記第1指令と前記第2指令との第1周期を含む、
ことを特徴とする請求項1に記載の露光装置。
【請求項3】
前記第1モードにおいて、前記制御部は、前記露光光の現在の照度及び予め設定された露光量から想定される前記1つのショット領域を露光する間に前記駆動部に対して与える前記第1指令と前記第2指令との第1想定周期が前記シャッタ羽根の固有周期の整数倍となる条件を満たす場合に、前記条件から外れ、且つ、前記予め設定された露光量となるように、前記第1周期を調整する、ことを特徴とする請求項2に記載の露光装置。
【請求項4】
前記制御部は、前記露光光の現在の照度を変更することによって、前記第1周期を調整する、ことを特徴とする請求項3に記載の露光装置。
【請求項5】
前記制御部は、前記第1想定周期を前記固有周期で割った値の小数点以下が規定範囲内である場合に、前記第1想定周期が前記条件を満たすと判定する、ことを特徴とする請求項3に記載の露光装置。
【請求項6】
前記複数のショット領域を露光するのに要する処理時間には、前記第1周期を調整するための調整時間が予め含まれており、
前記制御部は、前記調整時間の範囲内で前記第1周期を調整する、
ことを特徴とする請求項3に記載の露光装置。
【請求項7】
前記指令は、前記シャッタ羽根が前記露光光を遮断している遮光状態から前記シャッタ羽根が前記露光光を遮断していない照射状態に前記シャッタ羽根を回転駆動させる第1指令と、前記照射状態から前記遮光状態に前記シャッタ羽根を回転駆動させる第2指令と、を含み、
前記周期成分は、前記複数のショット領域のうちの2つのショット領域を連続して露光する場合において、一方のショット領域を露光する間に前記駆動部に対して与える前記第1指令及び前記第2指令のうちの前記第1指令と、他方のショット領域を露光する間に前記駆動部に対して与える前記第1指令及び前記第2指令のうちの前記第1指令との第2周期を含む、
ことを特徴とする請求項2に記載の露光装置。
【請求項8】
前記第1モードにおいて、前記制御部は、前記露光光の現在の照度及び予め設定された露光量から得られる前記一方のショット領域を露光する間に前記駆動部に対して与える前記第1指令と前記第2指令との周期、及び、前記複数のショット領域のレイアウトから得られる前記一方のショット領域を露光した後で前記他方のショット領域を露光するために必要となる前記基板の駆動時間、から想定される前記一方のショット領域を露光する間に前記駆動部に対して与える前記第1指令と前記他方のショット領域を露光する間に前記駆動部に対して与える前記第1指令との第2想定周期が前記シャッタ羽根の固有周期の整数倍となる条件を満たす場合に、前記条件から外れ、且つ、前記予め設定された露光量となるように、前記第2周期を調整する、ことを特徴とする請求項7に記載の露光装置。
【請求項9】
前記制御部は、前記基板の駆動時間を変更することによって、前記第2周期を調整する、ことを特徴とする請求項8に記載の露光装置。
【請求項10】
前記制御部は、前記第2想定周期を前記固有周期で割った値の小数点以下が規定範囲内である場合に、前記第2想定周期が前記条件を満たすと判定する、ことを特徴とする請求項8に記載の露光装置。
(【請求項11】以降は省略されています)
発明の詳細な説明
【技術分野】
【0001】
本発明は、露光装置、露光方法、シャッタ装置及び物品の製造方法に関する。
続きを表示(約 1,700 文字)
【背景技術】
【0002】
紫外線ランプを用いたステッパ方式の露光装置においては、露光光及び露光量を制御する機能を実現するために、露光シャッタが用いられている(特許文献1参照)。露光シャッタは、露光光(光束)を遮断して遮光状態とするためのシャッタ羽根(遮光部)と、露光光を通過させて照射状態とするための開口部と、を含む回転体で構成されている。
【0003】
露光シャッタの駆動の一例について説明する。まず、露光シャッタ(シャッタ羽根及び開口部)を、遮光状態から照射状態にオープン駆動する。露光光が照射されてから時間が経過し、所望の露光量に達したら、露光シャッタを、照射状態から遮光状態にクローズ駆動して、露光を完了する。オープン駆動及びクローズ駆動は、露光光の状態を遷移させるための露光シャッタに関する駆動であって、露光シャッタを回転させて静止させる駆動を含む。そして、露光が完了したら、次の露光を行うために、露光対象である基板を保持したステージを駆動し、再度、露光シャッタをオープン駆動して、露光を開始する。このような駆動を、予め設定されたショット分繰り返すことで、基板上の各ショット領域を露光する露光処理が行われる。
【先行技術文献】
【特許文献】
【0004】
特開2020-160165号公報
【発明の概要】
【発明が解決しようとする課題】
【0005】
露光処理において、露光シャッタを駆動する(回転させる)と、シャッタ羽根が回転方向とは異なる縦方向に振動する場合がある。露光シャッタは、遮光状態において、シャッタ羽根の外側から回り込む漏れ光を防ぐために、シャッタ羽根と筐体との隙間が狭い構造を有している。従って、シャッタ羽根の回転方向以外の振動が大きくなると、シャッタ羽根と筐体とが接触(干渉)し、シャッタ羽根が破損する可能性がある。
【0006】
本発明は、このような従来技術の課題に鑑みてなされ、シャッタ羽根の破損を低減するために有利な技術を提供することを例示的目的とする。
【課題を解決するための手段】
【0007】
上記目的を達成するために、本発明の一側面としての露光装置は、基板上の複数のショット領域を露光する露光装置であって、前記基板上の各ショット領域に入射させる露光光を遮断するシャッタ羽根と、前記シャッタ羽根を回転駆動する駆動部と、を含むシャッタ機構と、前記シャッタ機構を制御モードに従って制御する制御部と、を有し、前記制御モードは、前記シャッタ羽根の振動が抑制されるように、前記駆動部に対して前記シャッタ羽根を回転駆動させる指令を与える周期成分が調整される第1モードを含む、ことを特徴とする。
【0008】
本発明の更なる目的又はその他の側面は、以下、添付図面を参照して説明される実施形態によって明らかにされるであろう。
【発明の効果】
【0009】
本発明によれば、例えば、シャッタ羽根の破損を低減するために有利な技術を提供することができる。
【図面の簡単な説明】
【0010】
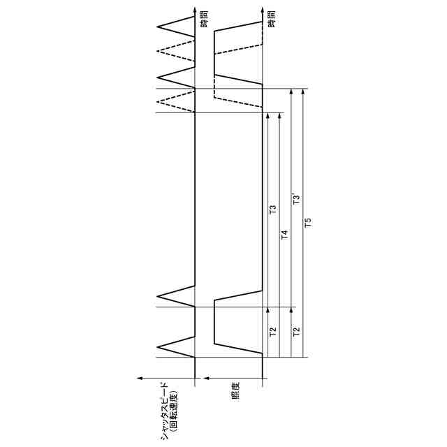
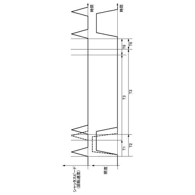
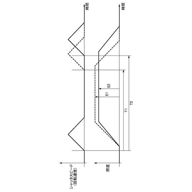
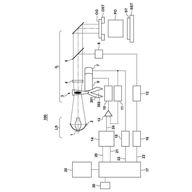
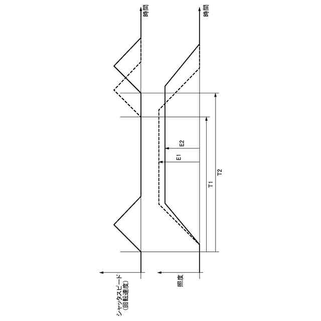
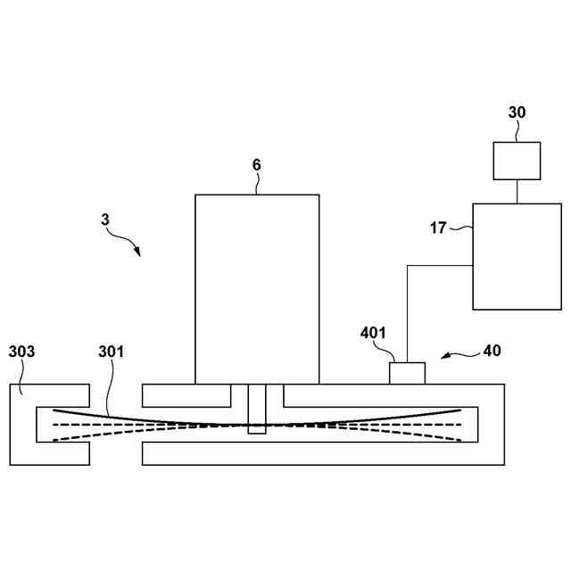
本発明の一側面としての露光装置の構成を示す概略図である。
シャッタ機構の駆動状態と基板に照射される露光光の照度との関係を示す図である。
シャッタ機構の駆動状態と基板に照射される露光光の照度との関係を示す図である。
シャッタ機構の駆動状態と基板に照射される露光光の照度との関係を示す図である。
シャッタ機構の駆動状態と基板に照射される露光光の照度との関係を示す図である。
ユーザインタフェースの一例を示す図である。
シャッタ機構の駆動状態と基板に照射される露光光の照度との関係を示す図である。
固有周期変化情報の一例を示す図である。
シャッタ羽根の固有周期を計測する計測部の構成を示す図である。
振動センサからのセンサ信号を周波数解析して得られる結果の一例を示す図である。
【発明を実施するための形態】
(【0011】以降は省略されています)
この特許をJ-PlatPat(特許庁公式サイト)で参照する
関連特許
キヤノン株式会社
容器
2日前
キヤノン株式会社
容器
8日前
キヤノン株式会社
トナー
24日前
キヤノン株式会社
トナー
11日前
キヤノン株式会社
トナー
24日前
キヤノン株式会社
トナー
24日前
キヤノン株式会社
記録装置
8日前
キヤノン株式会社
測距装置
17日前
キヤノン株式会社
現像装置
15日前
キヤノン株式会社
定着装置
23日前
キヤノン株式会社
撮影装置
22日前
キヤノン株式会社
表示装置
2日前
キヤノン株式会社
現像装置
22日前
キヤノン株式会社
現像容器
22日前
キヤノン株式会社
記録装置
22日前
キヤノン株式会社
現像装置
22日前
キヤノン株式会社
撮像装置
2日前
キヤノン株式会社
撮像装置
8日前
キヤノン株式会社
撮像装置
25日前
キヤノン株式会社
現像容器
22日前
キヤノン株式会社
撮像装置
8日前
キヤノン株式会社
撮像装置
8日前
キヤノン株式会社
光学センサ
24日前
キヤノン株式会社
モジュール
24日前
キヤノン株式会社
印刷システム
10日前
キヤノン株式会社
画像形成装置
16日前
キヤノン株式会社
画像形成装置
23日前
キヤノン株式会社
画像形成装置
23日前
キヤノン株式会社
画像形成装置
4日前
キヤノン株式会社
画像形成装置
15日前
キヤノン株式会社
情報処理装置
4日前
キヤノン株式会社
画像形成装置
15日前
キヤノン株式会社
画像形成装置
15日前
キヤノン株式会社
画像形成装置
8日前
キヤノン株式会社
画像形成装置
9日前
キヤノン株式会社
画像形成装置
5日前
続きを見る
他の特許を見る