TOP
|
特許
|
意匠
|
商標
特許ウォッチ
Twitter
他の特許を見る
公開番号
2025164066
公報種別
公開特許公報(A)
公開日
2025-10-30
出願番号
2024067806
出願日
2024-04-18
発明の名称
車両照合システム
出願人
トヨタ自動車株式会社
代理人
個人
,
個人
主分類
H02J
7/00 20060101AFI20251023BHJP(電力の発電,変換,配電)
要約
【課題】外部充放電装置に接続されている電動車両を適切に特定することができる車両照合システムを提供する。
【解決手段】電動車両から取得された各種情報と、外部充放電装置から取得された各種情報と、が照合されて外部充放電装置に接続されている前記電動車両が特定される。これにより、外部充放電装置が近い範囲に複数設置されている場合でも、外部充放電装置に接続されている電動車両を適切に特定することができる。加えて、外部充放電装置にそれぞれ接続されている電動車両のうちの少なくとも2台の電動車両における充放電実行状態及び充電残量が同じであると判断された場合には、それらの電動車両同士で充放電実行状態を異ならせるように外部充放電装置が制御される。これにより、電動車両同士の充放電実行状態及び充電残量が同じである場合でも、外部充放電装置に接続されている電動車両を適切に特定することができる。
【選択図】図4
特許請求の範囲
【請求項1】
動力源である電動機との間で電力を授受するバッテリを各々搭載した複数の電動車両と、前記電動車両が接続されることで前記バッテリの充放電を可能とする、固設された複数の外部充放電装置と、前記電動車両及び前記外部充放電装置の各々から通信を介して各種情報を取得すると共に前記外部充放電装置の作動を制御する、前記電動車両及び前記外部充放電装置とは別の外部制御装置と、を備えた車両照合システムであって、
前記外部制御装置は、前記電動車両から取得した前記各種情報としての、前記外部充放電装置との接続情報、前記電動車両の位置情報、前記バッテリの充放電実行状態、及び前記バッテリの充電残量と、前記外部充放電装置から取得した前記各種情報としての、前記電動車両との接続情報、前記外部充放電装置の位置情報、前記充放電実行状態、及び前記充電残量と、を照合して前記外部充放電装置に接続されている前記電動車両を特定するものであり、
前記外部制御装置は、前記外部充放電装置にそれぞれ接続されている前記電動車両のうちの少なくとも2台の電動車両における前記充放電実行状態及び前記充電残量が同じであると判断した場合には、前記充放電実行状態及び前記充電残量が同じであると判断された前記電動車両同士で前記充放電実行状態を異ならせるように前記外部充放電装置を制御することを特徴とする車両照合システム。
続きを表示(約 910 文字)
【請求項2】
前記外部制御装置は、前記充放電実行状態に含まれる、充電状態、放電状態、及び充放電待機状態を前記電動車両同士で異ならせることで、前記電動車両同士で前記充放電実行状態を異ならせるものであり、
前記外部制御装置は、前記充電状態、放電状態、及び充放電待機状態の違いに基づいて、前記外部充放電装置に接続されている前記電動車両を特定することを特徴とする請求項1に記載の車両照合システム。
【請求項3】
前記外部制御装置は、前記外部充放電装置から取得される前記充放電実行状態に含まれる、充電状態及び放電状態のうちの何れか一方とされた状態における充放電電力の大きさを前記電動車両同士で異ならせることで、前記電動車両同士で前記充放電実行状態を異ならせるものであり、
前記外部制御装置は、前記充放電電力の違いに応じて変化させられる前記充電残量の違いに基づいて、前記外部充放電装置に接続されている前記電動車両を特定することを特徴とする請求項1に記載の車両照合システム。
【請求項4】
前記電動車両と前記外部充放電装置とは、複数の拠点毎に所有されており、
前記外部制御装置は、前記電動車両及び前記外部充放電装置の各々と無線通信を介して接続されるサーバであり、
前記サーバは、前記外部充放電装置に接続されている、前記外部充放電装置と同じ前記拠点に所有されている前記電動車両を特定することを特徴とする請求項1から3の何れか1項に記載の車両照合システム。
【請求項5】
前記電動車両と前記外部充放電装置とは、公共の電力系統から主電力の供給を受ける拠点に、前記主電力を使用する電気機器と共に所有されており、
前記外部制御装置は、前記拠点で使用される前記主電力の最大値を所定電力以下とするように、前記外部充放電装置との接続が特定された前記電動車両からの放電電力を、前記外部充放電装置によって、前記電気機器で使用される前記主電力の一部又は全部に替えて前記電気機器に供給させることを特徴とする請求項1から3の何れか1項に記載の車両照合システム。
発明の詳細な説明
【技術分野】
【0001】
本発明は、外部充放電装置に接続されている電動車両を特定する車両照合システムに関するものである。
続きを表示(約 2,500 文字)
【背景技術】
【0002】
動力源である電動機との間で電力を授受するバッテリを各々搭載した複数の電動車両と、前記電動車両が接続されることで前記バッテリの充放電を可能とする、固設された複数の外部充放電装置と、前記電動車両及び前記外部充放電装置の各々から通信を介して各種情報を取得すると共に前記外部充放電装置の作動を制御する、前記電動車両及び前記外部充放電装置とは別の外部制御装置と、を備えた車両照合システムが良く知られている。例えば、特許文献1に記載された認証システムがそれである。この特許文献1には、複数の電動車両と複数の外部充放電装置とがある場合、電動車両の位置情報と外部充放電装置の位置情報とに基づいて、電動車両と外部充放電装置とを紐付ける処理つまり外部充放電装置に接続されている電動車両を特定する技術が開示されている。
【先行技術文献】
【特許文献】
【0003】
特開2014-39391号公報
【発明の概要】
【発明が解決しようとする課題】
【0004】
ここで、特許文献1の技術は、外部充放電装置が電動車両から車両固有の識別番号を取得できない場合などに有用である。しかしながら、外部充放電装置が近い範囲に複数設置されている場合、位置情報を照合するだけでは外部充放電装置に接続されている電動車両を特定することができない。これに対して、各種情報に、バッテリの充放電実行状態や充電残量が含まれている場合、それらの情報を照合することで、外部充放電装置に接続されている電動車両を特定することが考えられる。但し、電動車両同士の充放電実行状態及び充電残量が同じである場合には、外部充放電装置に接続されている電動車両を特定することができないおそれがある。
【0005】
本発明は、以上の事情を背景として為されたものであり、その目的とするところは、外部充放電装置に接続されている電動車両を適切に特定することができる車両照合システムを提供することにある。
【課題を解決するための手段】
【0006】
第1の発明の要旨とするところは、(a)動力源である電動機との間で電力を授受するバッテリを各々搭載した複数の電動車両と、前記電動車両が接続されることで前記バッテリの充放電を可能とする、固設された複数の外部充放電装置と、前記電動車両及び前記外部充放電装置の各々から通信を介して各種情報を取得すると共に前記外部充放電装置の作動を制御する、前記電動車両及び前記外部充放電装置とは別の外部制御装置と、を備えた車両照合システムであって、(b)前記外部制御装置は、前記電動車両から取得した前記各種情報としての、前記外部充放電装置との接続情報、前記電動車両の位置情報、前記バッテリの充放電実行状態、及び前記バッテリの充電残量と、前記外部充放電装置から取得した前記各種情報としての、前記電動車両との接続情報、前記外部充放電装置の位置情報、前記充放電実行状態、及び前記充電残量と、を照合して前記外部充放電装置に接続されている前記電動車両を特定するものであり、(c)前記外部制御装置は、前記外部充放電装置にそれぞれ接続されている前記電動車両のうちの少なくとも2台の電動車両における前記充放電実行状態及び前記充電残量が同じであると判断した場合には、前記充放電実行状態及び前記充電残量が同じであると判断された前記電動車両同士で前記充放電実行状態を異ならせるように前記外部充放電装置を制御することにある。
【発明の効果】
【0007】
前記第1の発明によれば、電動車両から取得された各種情報と、外部充放電装置から取得された各種情報と、が照合されて外部充放電装置に接続されている前記電動車両が特定される。電動車両から取得された各種情報は、外部充放電装置との接続情報、電動車両の位置情報、バッテリの充放電実行状態、及びバッテリの充電残量である。外部充放電装置から取得された各種情報は、電動車両との接続情報、外部充放電装置の位置情報、バッテリの充放電実行状態、及びバッテリの充電残量である。これにより、外部充放電装置が近い範囲に複数設置されている場合でも、外部充放電装置に接続されている電動車両を適切に特定することができる。加えて、外部充放電装置にそれぞれ接続されている電動車両のうちの少なくとも2台の電動車両における充放電実行状態及び充電残量が同じであると判断された場合には、それらの電動車両同士で充放電実行状態を異ならせるように外部充放電装置が制御される。これにより、電動車両同士の充放電実行状態及び充電残量が同じである場合でも、外部充放電装置に接続されている電動車両を適切に特定することができる。よって、外部充放電装置に接続されている電動車両を適切に特定することができる。
【図面の簡単な説明】
【0008】
本発明の一実施例である車両照合システムの基本構成を説明する概略図である。
電動車両同士で充放電実行状態を異ならせるときの一例を説明する図である。
電動車両同士で充放電実行状態を異ならせるときの一例を説明する図であり、図2とは別の実施態様である。
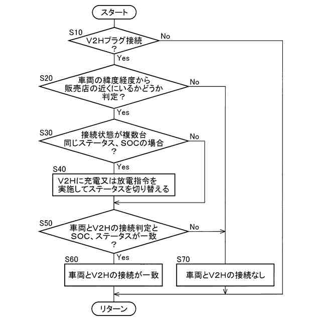
サーバの制御作動の要部を説明するフローチャートであり、外部充放電装置に接続されている電動車両を適切に特定する為の制御作動を説明するフローチャートである。
拠点における設備の一例を説明する図である。
拠点における主電力の管理の一例を説明する図である。
【発明を実施するための形態】
【0009】
以下、本発明の実施例を図面を参照して詳細に説明する。
【実施例】
【0010】
図1は、本発明の一実施例である車両照合システム10の基本構成を説明する概略図である。図1において、車両照合システム10は、複数の電動車両20と複数の外部充放電装置30とサーバ40とを備えている。
(【0011】以降は省略されています)
この特許をJ-PlatPat(特許庁公式サイト)で参照する
関連特許
トヨタ自動車株式会社
車両
11日前
トヨタ自動車株式会社
車両
4日前
トヨタ自動車株式会社
車両
12日前
トヨタ自動車株式会社
治具
5日前
トヨタ自動車株式会社
方法
11日前
トヨタ自動車株式会社
方法
11日前
トヨタ自動車株式会社
車両
6日前
トヨタ自動車株式会社
車両
17日前
トヨタ自動車株式会社
車両
10日前
トヨタ自動車株式会社
車体
13日前
トヨタ自動車株式会社
方法
12日前
トヨタ自動車株式会社
車両
4日前
トヨタ自動車株式会社
方法
10日前
トヨタ自動車株式会社
電池
10日前
トヨタ自動車株式会社
電池
17日前
トヨタ自動車株式会社
車両
19日前
トヨタ自動車株式会社
正極層
10日前
トヨタ自動車株式会社
モータ
12日前
トヨタ自動車株式会社
自動車
11日前
トヨタ自動車株式会社
電動機
10日前
トヨタ自動車株式会社
モータ
18日前
トヨタ自動車株式会社
サーバ
7日前
トヨタ自動車株式会社
モータ
7日前
トヨタ自動車株式会社
飛行体
17日前
トヨタ自動車株式会社
蓄電装置
4日前
トヨタ自動車株式会社
冷却構造
12日前
トヨタ自動車株式会社
報知装置
12日前
トヨタ自動車株式会社
蓄電装置
4日前
トヨタ自動車株式会社
燃料電池
12日前
トヨタ自動車株式会社
蓄電装置
13日前
トヨタ自動車株式会社
製造方法
17日前
トヨタ自動車株式会社
端末装置
17日前
トヨタ自動車株式会社
乾燥装置
17日前
トヨタ自動車株式会社
塗工装置
12日前
トヨタ自動車株式会社
充電設備
17日前
トヨタ自動車株式会社
電源装置
5日前
続きを見る
他の特許を見る