TOP
|
特許
|
意匠
|
商標
特許ウォッチ
Twitter
他の特許を見る
公開番号
2025156971
公報種別
公開特許公報(A)
公開日
2025-10-15
出願番号
2024059760
出願日
2024-04-02
発明の名称
車両
出願人
トヨタ自動車株式会社
代理人
個人
,
個人
,
個人
,
個人
,
個人
,
個人
,
個人
主分類
B60K
1/04 20190101AFI20251007BHJP(車両一般)
要約
【課題】本開示は、簡易な構成によって、特に排気ファンのような動力を必要とする排気部を必要とせずに、電池パック内で発生した硫化水素を除去することができる車両を提供する。
【解決手段】本開示の車両1では、電池パック10が配置されている。電池パックは、硫化物系電池110、硫化水素除去剤121、並びに硫化物系電池及び硫化水素除去剤を収容している外装容器130を有する。外装容器は、外装容器の内部と車両の外部とを連通している開口部131を有し、開口部は、通気膜131aを備えている。外装容器の内部が、硫化水素除去剤、及び開口部を介して、車両の外部へと連通するようにして、硫化水素除去剤が配置されている。開口部は、車両の走行時に負圧が発生する位置に設けられている。
【選択図】図1
特許請求の範囲
【請求項1】
電池パックが配置されている車両であって、
前記電池パックは、硫化物系電池、硫化水素除去剤、並びに前記硫化物系電池及び前記硫化水素除去剤を収容している外装容器を有し、
前記外装容器は、前記外装容器の内部と前記車両の外部とを連通している開口部を有し、
前記開口部は、通気膜を備えており、
前記外装容器の内部が、前記硫化水素除去剤、及び前記開口部を介して、前記車両の外部へと連通するようにして、前記硫化水素除去剤が配置されており、かつ
前記開口部は、前記車両の走行時に負圧が発生する位置に設けられている、
車両。
続きを表示(約 700 文字)
【請求項2】
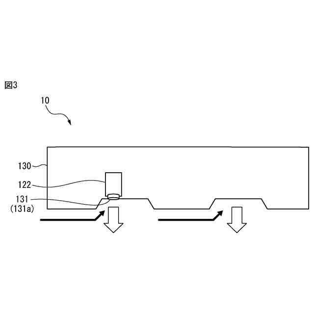
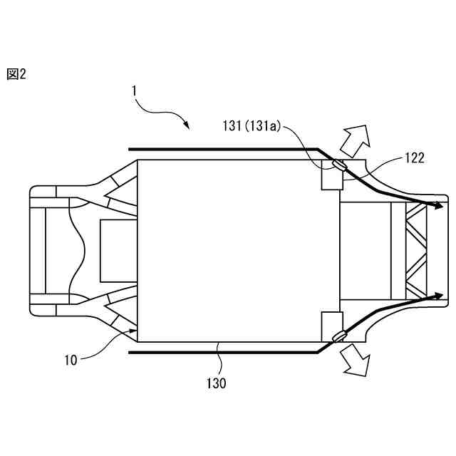
前記車両の一部に内側に向けて凹む車両凹部が形成されており、かつ前記車両凹部に前記開口部が配置されており、それによって前記車両の走行時に前記負圧が発生するようにされている、請求項1に記載の車両。
【請求項3】
前記車両凹部は、前記車両の底面に設けられている、請求項2に記載の車両。
【請求項4】
前記車両凹部は、前記車両の側面に設けられている、請求項2に記載の車両。
【請求項5】
前記車両凹部は、前記車両の前後方向において、前記車両の後方に設けられている、請求項2に記載の車両。
【請求項6】
前記電池パックの一部に内側に向けて凹む電池パック凹部が形成されており、かつ前記電池パック凹部に前記開口部が配置されており、それによって前記車両の走行時に前記負圧が発生するようにされている、請求項1に記載の車両。
【請求項7】
前記電池パック凹部は、前記電池パックの底面に設けられている、請求項6に記載の車両。
【請求項8】
前記電池パック凹部は、前記電池パックの側面に設けられている、請求項6に記載の車両。
【請求項9】
前記電池パック凹部は、前記車両の前後方向において、前記車両の後方に設けられている、請求項6に記載の車両。
【請求項10】
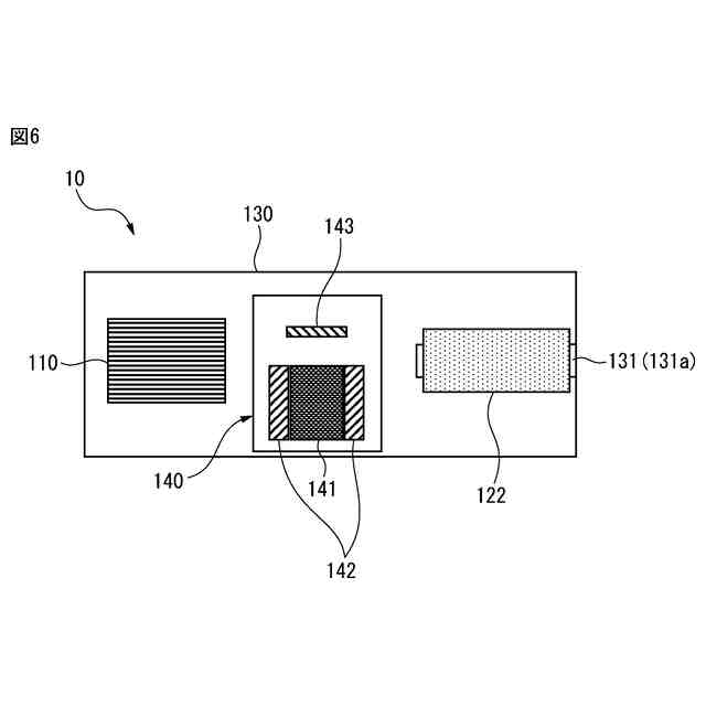
前記電池パックは、前記硫化水素除去剤を収容している硫化水素除去剤容器を更に有し、かつ前記硫化水素除去剤容器が、前記開口部に接続されている、請求項1~9のいずれか一項に記載の車両。
(【請求項11】以降は省略されています)
発明の詳細な説明
【技術分野】
【0001】
本開示は、車両に関する。
続きを表示(約 2,700 文字)
【背景技術】
【0002】
電池、及び電池を収容している外装容器を有する電池パックが知られている。電池が、電解質として硫化物系化合物を含む硫化物系電池である場合、硫化物系化合物と水とが反応して硫化水素が発生することがある。これに関して、電池パック内の硫化水素を除去する技術が開発されている。
【0003】
例えば、特許文献1は、外装体と、硫黄系材料を含み、前記外装体に内包されて前記外装体の内側に配置される発電要素と、を備え、前記外装体は、連通口と、硫化水素除去部と、排気部と、を備え、前記連通口は、前記外装体の内側と前記外装体の外側とを連通し、前記硫化水素除去部と前記排気部とは、前記連通口に設けられ、前記排気部は、前記硫黄系材料に起因して発生する硫化水素を前記連通口に導き、前記硫化水素除去部は、前記排気部により前記連通口に導かれた前記硫化水素を除去する、電池を開示している。
を開示している。
【先行技術文献】
【特許文献】
【0004】
特開2018-073802号公報
【発明の概要】
【発明が解決しようとする課題】
【0005】
硫化物系電池を有する電池パックは、電気自動車及びハイブリッド自動車等の車両に搭載されることがある。省スペース化、低コスト化等の観点から、簡易な構成によって、このような電池パック内で発生することがある硫化水素を除去することが望ましい。
【0006】
本開示は、簡易な構成によって、特に排気ファンのような動力を必要とする排気部を必要とせずに、電池パック内で発生した硫化水素を除去することができる車両を提供することを目的とする。
【課題を解決するための手段】
【0007】
本件開示者等は、以下の手段により上記課題を解決することができることを見出した。
〈態様1〉
電池パックが配置されている車両であって、
前記電池パックは、硫化物系電池、硫化水素除去剤、並びに前記硫化物系電池及び前記硫化水素除去剤を収容している外装容器を有し、
前記外装容器は、前記外装容器の内部と前記車両の外部とを連通している開口部を有し、
前記開口部は、通気膜を備えており、
前記外装容器の内部が、前記硫化水素除去剤、及び前記開口部を介して、前記車両の外部へと連通するようにして、前記硫化水素除去剤が配置されており、かつ
前記開口部は、前記車両の走行時に負圧が発生する位置に設けられている、
車両。
〈態様2〉
前記車両の一部に内側に向けて凹む車両凹部が形成されており、かつ前記車両凹部に前記開口部が配置されており、それによって前記車両の走行時に前記負圧が発生するようにされている、態様1に記載の車両。
〈態様3〉
前記車両凹部は、前記車両の底面に設けられている、態様2に記載の車両。
〈態様4〉
前記車両凹部は、前記車両の側面に設けられている、態様2に記載の車両。
〈態様5〉
前記車両凹部は、前記車両の前後方向において、前記車両の後方に設けられている、態様2~4のいずれか一項に記載の車両。
〈態様6〉
前記電池パックの一部に内側に向けて凹む電池パック凹部が形成されており、かつ前記電池パック凹部に前記開口部が配置されており、それによって前記車両の走行時に前記負圧が発生するようにされている、態様1に記載の車両。
〈態様7〉
前記電池パック凹部は、前記電池パックの底面に設けられている、態様6に記載の車両。
〈態様8〉
前記電池パック凹部は、前記電池パックの側面に設けられている、態様6に記載の車両。
〈態様9〉
前記電池パック凹部は、前記車両の前後方向において、前記車両の後方に設けられている、態様6~8のいずれか一項に記載の車両。
〈態様10〉
前記電池パックは、前記硫化水素除去剤を収容している硫化水素除去剤容器を更に有し、かつ前記硫化水素除去剤容器が、前記開口部に接続されている、態様1~9のいずれか一項に記載の車両。
〈態様11〉
前記硫化水素除去剤容器内において、前記硫化水素除去剤が蛇行流路内に配置されている、態様10に記載の車両。
〈態様12〉
前記電池パックが、前記外装容器内に収容されているガス検知ユニットを更に有し、
前記ガス検知ユニットは、硫化水素を吸着し、所定温度以上で前記硫化水素及び/又は前記硫化水素に由来する硫黄含有ガスを放出する硫化水素吸着剤、前記硫化水素吸着剤を加熱する加熱部、及び前記硫化水素吸着剤から放出された前記硫化水素及び/又は前記硫黄含有ガスを検知するガス検知部を有し、
前記外装容器の内部が、前記ガス検知ユニット、前記硫化水素除去剤、及び前記開口部を介して、前記車両の外部へと連通するようにして、前記ガス検知ユニット及び前記硫化水素除去剤が配置されている、
態様1~11のいずれか一項に記載の車両。
【発明の効果】
【0008】
本開示によれば、簡易な構成によって、特に排気ファンのような動力を必要とする排気部を必要とせずに、電池パック内で発生した硫化水素を除去することができる車両を提供することができる。
【図面の簡単な説明】
【0009】
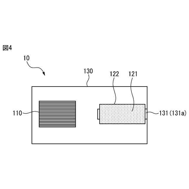
図1は、本開示の車両において、開口部が設けられる位置を例示する概略図である。
図2は、本開示の車両において、開口部が設けられる位置を例示する概略図である。
図3は、本開示の車両において、開口部が設けられる位置を例示する概略図である。
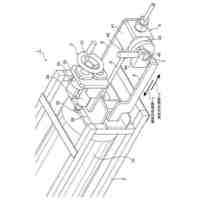
図4は、本開示の車両における電池パックの一例を示す概略図である。
図5は、電池パックにおける硫化水素除去ユニットの一例を示す概略図である。
図6は、本開示の車両における電池パックの一例を示す概略図である。
【発明を実施するための形態】
【0010】
以下、図面を参照して本開示の実施の形態について詳述する。なお、本開示は、以下の実施の形態に限定されるのではなく、開示の本旨の範囲内で種々変形して実施できる。また、図面における寸法関係は、実際の寸法関係を反映するものではない。
(【0011】以降は省略されています)
この特許をJ-PlatPat(特許庁公式サイト)で参照する
関連特許
トヨタ自動車株式会社
車両
今日
トヨタ自動車株式会社
計測システム
今日
トヨタ自動車株式会社
車両の判定装置
今日
トヨタ自動車株式会社
飛行体検査方法
今日
トヨタ自動車株式会社
燃料電池システム
今日
トヨタ自動車株式会社
車両駆動制御装置
今日
トヨタ自動車株式会社
走行可否判定システム
今日
トヨタ自動車株式会社
蓄電装置の管理システム
今日
トヨタ自動車株式会社
バッテリーの温度制御装置
今日
トヨタ自動車株式会社
飛行体の整備計画決定方法
今日
トヨタ自動車株式会社
カートリッジタンクシステム
今日
トヨタ自動車株式会社
ハイブリッド車両の制御装置
今日
トヨタ自動車株式会社
内燃機関を備えた車両の制御装置
今日
トヨタ自動車株式会社
車両管理システム及び車両管理方法
今日
トヨタ車体株式会社
車両上部構造
今日
トヨタ自動車株式会社
硫化水素除去ユニット及び電池パック
今日
株式会社ジェイテクト
操舵制御装置
今日
トヨタ自動車株式会社
無線通信方法、ユーザ端末、および基地局
今日
トヨタ自動車株式会社
パラメータ推定装置及びパラメータ推定方法
今日
トヨタ自動車株式会社
積層電池の製造方法、積層電池及び電池パック
今日
トヨタ自動車株式会社
情報処理装置、情報処理方法、及びプログラム
今日
トヨタ自動車株式会社
優先度の調停に起因する同時のオーディオ出力
今日
トヨタ自動車株式会社
情報処理装置、情報処理方法、およびプログラム
今日
トヨタ自動車株式会社
加熱装置
今日
トヨタ自動車株式会社
電極合材層の製造方法
今日
トヨタ自動車株式会社
アイドリングストップ制御システム及びアイドリングストップ制御方法
今日
トヨタ自動車株式会社
電池部材およびバイポーラ電池
今日
トヨタ自動車株式会社
運動マネージャおよびシステム
1日前
トヨタ自動車株式会社
ガス検知ユニット、電池パック、ガス検知システム、電池システム及びガス検知方法
今日
トヨタ自動車株式会社
車両用表示装置、表示方法及びプログラム
1日前
個人
タイヤレバー
2か月前
個人
前輪キャスター
1か月前
個人
上部一体型自動車
12日前
個人
ホイルのボルト締結
3か月前
個人
ルーフ付きトライク
2か月前
個人
タイヤ脱落防止構造
1か月前
続きを見る
他の特許を見る