TOP
|
特許
|
意匠
|
商標
特許ウォッチ
Twitter
他の特許を見る
10個以上の画像は省略されています。
公開番号
2025164078
公報種別
公開特許公報(A)
公開日
2025-10-30
出願番号
2024067839
出願日
2024-04-18
発明の名称
付加製造方法及び付加製造装置
出願人
川崎重工業株式会社
代理人
個人
,
個人
主分類
B22F
10/366 20210101AFI20251023BHJP(鋳造;粉末冶金)
要約
【課題】付加製造において精度及び生産性を向上させる。
【解決手段】付加製造方法は、複数のビームb1,b2を生成することと、粉末床19上に複数のビームb1,b2を共通のスキャナ4によって走査させることによって粉末床19の原料粉末を固化させることと、複数のビームb1,b2の並ぶ方向S1を複数のビームb2,b2の走査に連動させてスキャナ4の上流側で調節することによって粉末床19上での複数のビームb1,b2の複数の照射点p1,p2の並ぶ方向S2を調節することとを含む。
【選択図】図1
特許請求の範囲
【請求項1】
複数のビームを生成することと、
粉末床上に前記複数のビームを共通のスキャナによって走査させることによって前記粉末床の原料粉末を固化させることと、
前記複数のビームの並ぶ方向を前記複数のビームの走査に連動させて前記スキャナの上流側で調節することによって前記粉末床上での前記複数のビームの複数の照射点の並ぶ方向を調節することとを含む付加製造方法。
続きを表示(約 1,500 文字)
【請求項2】
請求項1に記載の付加製造方法において、
前記複数のビームの並ぶ方向を調節することにおいては、前記複数のビームの走査方向に対する前記複数の照射点の並ぶ方向の角度が一定となるように、前記複数のビームの並ぶ方向を前記複数のビームの走査に連動させて調節する付加製造方法。
【請求項3】
請求項2に記載の付加製造方法において、
前記複数のビームの並ぶ方向を調節することにおいては、前記複数のビームの走査方向に対する前記複数の照射点の並ぶ方向の角度が直角となるように、前記複数のビームの並ぶ方向を前記複数のビームの走査に連動させて調節する付加製造方法。
【請求項4】
請求項1に記載の付加製造方法において、
前記複数のビームの並ぶ方向を調節することにおいては、複数の照射点の一方が通った軌跡上を複数の照射点のもう一方が通るように、前記複数のビームの並ぶ方向を前記複数のビームの走査に連動させて調節する付加製造方法。
【請求項5】
請求項1に記載の付加製造方法において、
前記粉末床の表面に沿った不活性ガスの気流を生成することをさらに含み、
前記複数のビームの並ぶ方向を調節することにおいては、前記複数のビームの走査方向が前記不活性ガスの流れ方向と交差する場合、前記複数の照射点のうち前記流れ方向の下流側に位置する照射点を前記流れ方向の上流側に位置する照射点よりも前記走査方向において先行するように、前記複数のビームの並ぶ方向を前記複数のビームの走査に連動させて調節する付加製造方法。
【請求項6】
請求項1に記載の付加製造方法において、
前記複数のビームの並ぶ方向を調節することにおいては、複数のビームを生成するビーム生成器を前記複数のビームと平行な回転軸回りに回転させることによって、前記複数のビームの並ぶ方向を調節する付加製造方法。
【請求項7】
複数のビームを生成するビーム生成器と、
原料粉末によって構成される粉末床を支持するプラットフォームと、
前記ビーム生成器からの前記複数のビームを前記粉末床上に走査させる共通のスキャナと、
前記ビーム生成器及び前記スキャナを制御する制御装置とを備え、
前記ビーム生成器は、前記複数のビームの並ぶ方向を前記スキャナの上流側で変更可能に構成されており、
前記制御装置は、前記複数のビームの並ぶ方向を前記スキャナによる前記複数のビームの走査に連動させて調節することによって前記粉末床上での前記複数のビームの複数の照射点の並ぶ方向を調節する付加製造装置。
【請求項8】
請求項7に記載の付加製造装置において、
前記制御装置は、前記複数のビームの走査方向に対する前記複数の照射点の並ぶ方向の角度が一定となるように、前記複数のビームの並ぶ方向を前記スキャナに連動させて調節する付加製造装置。
【請求項9】
請求項8に記載の付加製造装置において、
前記制御装置は、前記複数のビームの走査方向に対する前記複数の照射点の並ぶ方向の角度が直角となるように、前記複数のビームの並ぶ方向を前記スキャナに連動させて調節する付加製造装置。
【請求項10】
請求項7に記載の付加製造装置において、
前記制御装置は、複数の照射点の一方が通った軌跡上を複数の照射点のもう一方が通るように、前記複数のビームの並ぶ方向を前記スキャナに連動させて調節する付加製造装置。
(【請求項11】以降は省略されています)
発明の詳細な説明
【技術分野】
【0001】
ここに開示された技術は、付加製造方法及び付加製造装置に関する。
続きを表示(約 1,500 文字)
【背景技術】
【0002】
従来より、三次元造形物を製造する付加製造技術が知られている。例えば、特許文献1には、照射ヘッドからビームを造形平面に照射し、造形平面の原料粉末を固化させる技術が開示されている。
【先行技術文献】
【特許文献】
【0003】
特開2019-072993号公報
【発明の概要】
【発明が解決しようとする課題】
【0004】
前述の付加製造技術では、微細な構造を柔軟に製造できる。その反面、微細な構造が少しずつ製造されるため生産性の向上が求められる。また、微細な製造であるが故に、高い精度も要求される。
【0005】
ここに開示された技術は、かかる点に鑑みてなされたものであり、その目的とするところは、付加製造において精度及び生産性を向上させることにある。
【課題を解決するための手段】
【0006】
本開示の付加製造方法は、複数のビームを生成することと、粉末床上に前記複数のビームを共通のスキャナによって走査させることによって前記粉末床の原料粉末を固化させることと、前記複数のビームの並ぶ方向を前記複数のビームの走査に連動させて前記スキャナの上流側で調節することによって前記粉末床上での前記複数のビームの複数の照射点の並ぶ方向を調節することとを含む。
【0007】
本開示の付加製造装置は、複数のビームを生成するビーム生成器と、原料粉末によって構成される粉末床を支持するプラットフォームと、前記ビーム生成器からの前記複数のビームを前記粉末床上に走査させる共通のスキャナと、前記ビーム生成器及び前記スキャナを制御する制御装置とを備え、前記ビーム生成器は、前記複数のビームの並ぶ方向を前記スキャナの上流側で変更可能に構成されており、前記制御装置は、前記複数のビームの並ぶ方向を前記スキャナによる前記複数のビームの走査に連動させて調節することによって前記粉末床上での前記複数のビームの複数の照射点の並ぶ方向を調節する。
【発明の効果】
【0008】
前記付加製造方法によれば、付加製造において精度及び生産性を向上させることができる。
【0009】
前記付加製造装置によれば、付加製造において精度及び生産性を向上させることができる。
【図面の簡単な説明】
【0010】
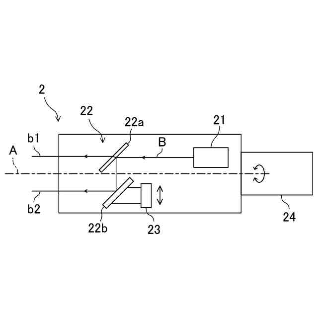
図1は、付加製造装置の構成を示す模式図である。
図2は、ビーム生成器の模式図である。
図3は、複数のビームのうちの一のビームに直交する面内における複数のビームの位置を示す模式図である。
図4は、スキャナの模式図である。
図5は、粉末床における複数の照射点の位置を示す模式図である。
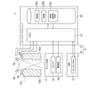
図6は、制御装置の概略的なハードウェア構成を示す図である。
図7は、処理器の制御系統の構成を示すブロック図である。
図8は、粉末床の表面における複数のビームの走査を説明するための模式図である。
図9は、複数のビームが重なっている場合の複数の照射点の軌跡を説明するための模式図である。
図10は、同じ軌跡上を通る複数のビームによる走査を説明するための模式図である。
図11は、不活性ガスの気流が存在する粉末床の表面における複数のビームの走査を説明するための模式図である。
図12は、変形例に係る付加製造装置の構成を示す模式図である。
【発明を実施するための形態】
(【0011】以降は省略されています)
この特許をJ-PlatPat(特許庁公式サイト)で参照する
関連特許
友鉄工業株式会社
錫プレート成形方法
1か月前
芝浦機械株式会社
成形システム
21日前
日本製鉄株式会社
モールドパウダー
29日前
山石金属株式会社
アルミニウム含有粒子
28日前
山石金属株式会社
アルミニウム含有粒子
28日前
JFEミネラル株式会社
Ni合金粉
28日前
芝浦機械株式会社
局部変圧装置及び成形機
16日前
芝浦機械株式会社
溶解保持炉
2日前
愛知製鋼株式会社
継ぎ目なし管の製造方法
2か月前
住友金属鉱山株式会社
金粉の製造方法
1か月前
大陽日酸株式会社
金属積層造形方法
1か月前
住友金属鉱山株式会社
金粉及びその製造方法
1か月前
日本製鉄株式会社
鋼の連続鋳造方法
1か月前
個人
鋼の連続鋳造におけるタンディシュ内溶鋼の加熱装置
1か月前
日本製鉄株式会社
鋼の連続鋳造方法
29日前
芝浦機械株式会社
成形機用コントローラ及び成形機
16日前
山石金属株式会社
アルミニウム含有粒子の製造方法
28日前
UBEマシナリー株式会社
鋳造成形装置
1か月前
UBEマシナリー株式会社
加圧鋳造装置
1か月前
住友金属鉱山株式会社
希土類遷移金属窒素系磁性粉末
29日前
大陽日酸株式会社
還元剤被覆銅ナノ粒子
14日前
品川リフラクトリーズ株式会社
推定方法
2か月前
芝浦機械株式会社
射出装置、成形機及び成形システム
21日前
大陽日酸株式会社
転写型シート状接合材
8日前
大陽日酸株式会社
転写型シート状接合材
8日前
品川リフラクトリーズ株式会社
モールドパウダー
24日前
株式会社木村鋳造所
再生鋳物砂の製造方法
3日前
花王株式会社
鋳型用組成物
2か月前
有限会社 サンエイ・モールド
ダイカスト成型機のガス抜き装置
1か月前
東京窯業株式会社
ガス吹きノズル及びその製造方法
1か月前
川崎重工業株式会社
付加製造方法及び付加製造装置
8日前
川崎重工業株式会社
付加製造方法及び付加製造装置
8日前
株式会社プロテリアル
付加製造装置および付加製造物の製造方法
1か月前
日鉄建材株式会社
モールドパウダーの製造方法
1か月前
三菱重工業株式会社
造形プロセスの監視方法
1か月前
株式会社神戸製鋼所
スラグ流出予兆検知方法
28日前
続きを見る
他の特許を見る