TOP
|
特許
|
意匠
|
商標
特許ウォッチ
Twitter
他の特許を見る
10個以上の画像は省略されています。
公開番号
2025164283
公報種別
公開特許公報(A)
公開日
2025-10-30
出願番号
2024068116
出願日
2024-04-19
発明の名称
情報処理装置、情報処理方法、及び情報処理システム
出願人
沖電気工業株式会社
代理人
個人
,
個人
,
個人
主分類
G06Q
30/0241 20230101AFI20251023BHJP(計算;計数)
要約
【課題】メッセージの通知タイミングをより適正化することが可能な仕組みを提供する。
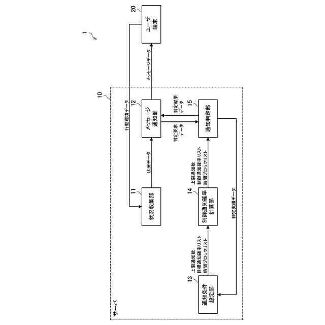
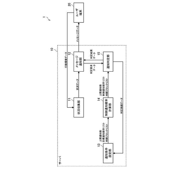
【解決手段】通知対象期間における上限通知数と、前記通知対象期間を分割した時間スロットごとの目標通知確率と、に基づいて、前記通知対象期間を1つ以上の前記時間スロットを含む時間ブロックに分割する通知条件設定部と、対象者への通知を実行するか否かを判定する通知判定部と、を備え、前記通知判定部は、前記対象者の状況データが通知実施基準に合致した時刻が属する前記時間ブロックにおいて、前記通知が未実行である場合に当該時刻が属する前記時間スロットの前記目標通知確率に基づいて前記通知を実行するか否かを判定し、前記通知が実行済みである場合に前記通知を実行しないと判定する、情報処理装置。
【選択図】図1
特許請求の範囲
【請求項1】
通知対象期間における上限通知数と、前記通知対象期間を分割した時間スロットごとの目標通知確率と、に基づいて、前記通知対象期間を1つ以上の前記時間スロットを含む時間ブロックに分割する通知条件設定部と、
対象者への通知を実行するか否かを判定する通知判定部と、
を備え、
前記通知判定部は、前記対象者の状況データが通知実施基準に合致した時刻が属する前記時間ブロックにおいて、前記通知が未実行である場合に当該時刻が属する前記時間スロットの前記目標通知確率に基づいて前記通知を実行するか否かを判定し、前記通知が実行済みである場合に前記通知を実行しないと判定する、
情報処理装置。
続きを表示(約 1,300 文字)
【請求項2】
前記通知判定部は、前記時間スロットごとに設定される制御係数を前記目標通知確率に乗算することで計算される制御通知確率に基づいて前記通知を実行するか否かを判定し、
前記制御係数は、前記時間ブロック内の後ろの前記時間スロットほど大きな値に設定される、
請求項1に記載の情報処理装置。
【請求項3】
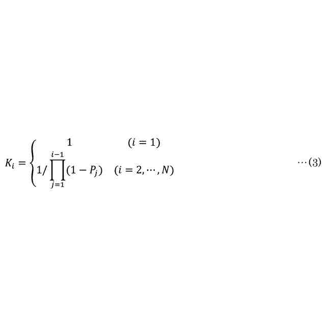
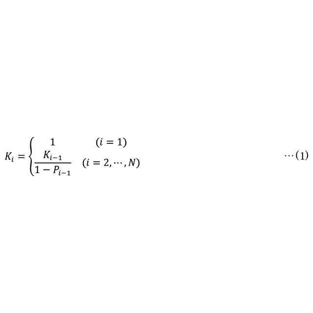
前記制御係数は、次式を満たすよう設定され、
Nは、前記時間ブロックに含まれる前記時間スロットの数であり、
iは、前記時間ブロック内の時間スロットの順番であり、
K
i
は、前記時間ブロック内のi番目の時間スロットの制御係数であり、
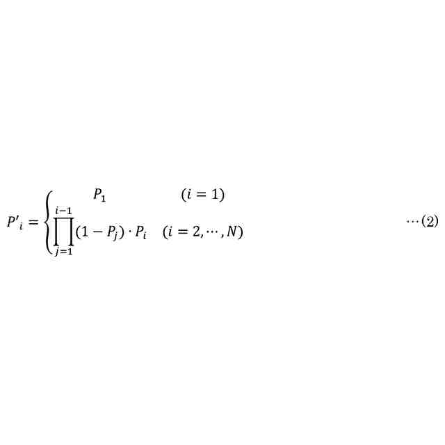
P
i
は、前記時間ブロック内のi番目の時間スロットの目標通知確率である、
請求項2に記載の情報処理装置。
TIFF
2025164283000005.tif
16
146
【請求項4】
前記通知条件設定部は、上限通知確率の累積和が1以上になるまで所定の順番で前記時間スロットを選択し、選択した1つ以上の前記時間スロットの集合を1つの前記時間ブロックに設定し、
前記上限通知確率は、前記上限通知数を前記通知対象期間における前記目標通知確率の総和で割った値を前記目標通知確率に乗算することで計算される、
請求項1に記載の情報処理装置。
【請求項5】
前記通知条件設定部は、連続する1つ以上の前記時間スロットの集合を1つの前記時間ブロックに設定する、
請求項1に記載の情報処理装置。
【請求項6】
前記通知判定部は、前記通知を実行するか否かの判定を、前記時間スロットごとに1回を上限に実施する、
請求項1に記載の情報処理装置。
【請求項7】
前記通知条件設定部は、前記目標通知確率を、前記対象者の状況データが前記通知実施基準に合致した回数で割ることで補正し、
前記通知判定部は、前記通知を実行するか否かの判定を、前記時間スロットごとに上限なく実施する、
請求項1に記載の情報処理装置。
【請求項8】
前記通知条件設定部は、前記時間スロットごとの通知確率の実績値が当該時間スロットの前記目標通知確率よりも少ない場合、当該時間スロットの前記目標通知確率をより大きな値に補正する、
請求項1に記載の情報処理装置。
【請求項9】
前記通知条件設定部は、前記通知対象期間ごとの通知数の実績値の最大値が前記目標通知確率の総和よりも少ない場合、すべての前記時間スロットの前記目標通知確率をより大きな値に補正する、
請求項1に記載の情報処理装置。
【請求項10】
前記通知条件設定部は、前記時間スロットごとの前記通知を実行するか否かを判定した頻度が所定の閾値よりも少ない場合、前記目標通知確率をより大きな値に補正する、
請求項1に記載の情報処理装置。
(【請求項11】以降は省略されています)
発明の詳細な説明
【技術分野】
【0001】
本発明は、情報処理装置、情報処理方法、及び情報処理システムに関する。
続きを表示(約 1,300 文字)
【背景技術】
【0002】
近年、健康行動又は購買行動に関するメッセージをユーザに通知することで、ユーザの意識又は行動の変化を促す技術が開発されている。しかし、ユーザが集中作業を行っている場合など、メッセージが閲覧されにくい状況が有り得る。メッセージが閲覧されにくい状況下でメッセージを通知すると、ユーザに煩わしさを感じさせ、メッセージの閲覧頻度が低下するおそれがある。
【0003】
そこで、下記特許文献1では、メッセージが閲覧されやすい状況を判定し、メッセージが閲覧されやすい状況においてメッセージを通知する技術が提案されている。
【先行技術文献】
【特許文献】
【0004】
特開2018-129004号公報
【発明の概要】
【発明が解決しようとする課題】
【0005】
しかし、上記特許文献1に開示された技術では、不適切なタイミングでメッセージが通知されるおそれがあった。
【0006】
そこで、本発明は、上記問題に鑑みてなされたものであり、本発明の目的とするところは、メッセージの通知タイミングをより適正化することが可能な仕組みを提供することにある。
【課題を解決するための手段】
【0007】
上記課題を解決するために、本発明のある観点によれば、通知対象期間における上限通知数と、前記通知対象期間を分割した時間スロットごとの目標通知確率と、に基づいて、前記通知対象期間を1つ以上の前記時間スロットを含む時間ブロックに分割する通知条件設定部と、対象者への通知を実行するか否かを判定する通知判定部と、を備え、前記通知判定部は、前記対象者の状況データが通知実施基準に合致した時刻が属する前記時間ブロックにおいて、前記通知が未実行である場合に当該時刻が属する前記時間スロットの前記目標通知確率に基づいて前記通知を実行するか否かを判定し、前記通知が実行済みである場合に前記通知を実行しないと判定する、情報処理装置が提供される。
【0008】
前記通知判定部は、前記時間スロットごとに設定される制御係数を前記目標通知確率に乗算することで計算される制御通知確率に基づいて前記通知を実行するか否かを判定し、前記制御係数は、前記時間ブロック内の後ろの前記時間スロットほど大きな値に設定されてもよい。
【0009】
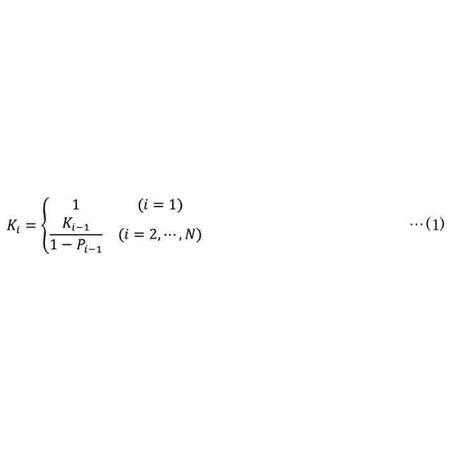
前記制御係数は、数式(1)を満たすよう設定され、Nは、前記時間ブロックに含まれる前記時間スロットの数であり、iは、前記時間ブロック内の時間スロットの順番であり、Kiは、前記時間ブロック内のi番目の時間スロットの制御係数であり、Piは、前記時間ブロック内のi番目の時間スロットの目標通知確率であってもよい。
【0010】
前記通知条件設定部は、上限通知確率の累積和が1以上になるまで所定の順番で前記時間スロットを選択し、選択した1つ以上の前記時間スロットの集合を1つの前記時間ブロックに設定し、前記上限通知確率は、前記上限通知数を前記通知対象期間における前記目標通知確率の総和で割った値を前記目標通知確率に乗算することで計算されてもよい。
(【0011】以降は省略されています)
この特許をJ-PlatPat(特許庁公式サイト)で参照する
関連特許
個人
詐欺保険
18日前
個人
縁伊達ポイン
18日前
個人
RFタグシート
5日前
個人
ペルソナ認証方式
2日前
個人
地球保全システム
1か月前
個人
QRコードの彩色
22日前
個人
自動調理装置
4日前
個人
農作物用途分配システム
17日前
個人
残土処理システム
24日前
個人
タッチパネル操作指代替具
11日前
個人
インターネットの利用構造
1日前
個人
知的財産出願支援システム
25日前
個人
スケジュール調整プログラム
10日前
個人
携帯端末障害問合せシステム
10日前
個人
エリアガイドナビAIシステム
2日前
個人
海外支援型農作物活用システム
1か月前
株式会社キーエンス
受発注システム
1か月前
株式会社キーエンス
受発注システム
1か月前
株式会社キーエンス
受発注システム
1か月前
個人
食品レシピ生成システム
1か月前
キヤノン株式会社
表示システム
1か月前
大同特殊鋼株式会社
疵判定方法
1か月前
エッグス株式会社
情報処理装置
11日前
キヤノン株式会社
印刷システム
10日前
個人
音声・通知・再配達UX制御構造
25日前
個人
未来型家系図構築システム
1か月前
トヨタ自動車株式会社
通知装置
8日前
個人
帳票自動生成型SaaSシステム
25日前
株式会社カネカ
製造工場の管理システム
25日前
トヨタ自動車株式会社
車両
9日前
株式会社竹中工務店
管理システム
1か月前
株式会社キーエンス
製品受発注システム
1か月前
フリー株式会社
情報処理システム
1か月前
中部電力株式会社
学習装置
1か月前
大同特殊鋼株式会社
棒材計数方法
23日前
太陽誘電株式会社
表示装置
8日前
続きを見る
他の特許を見る