TOP
|
特許
|
意匠
|
商標
特許ウォッチ
Twitter
他の特許を見る
10個以上の画像は省略されています。
公開番号
2025165142
公報種別
公開特許公報(A)
公開日
2025-11-04
出願番号
2024069069
出願日
2024-04-22
発明の名称
電極交換装置
出願人
株式会社ダイヘン
代理人
弁理士法人深見特許事務所
主分類
B23K
9/32 20060101AFI20251027BHJP(工作機械;他に分類されない金属加工)
要約
【課題】電極の交換と研磨とを効率よく実行する。
【解決手段】制御装置60は、第1位置において溶接トーチ4から取り外した使用済み電極5を、第2位置に移動させ、第3シリンダ13を駆動し、研磨ユニット6を把持ユニット2へ向けて移動し、使用済み電極5の先端を研磨ユニット6に接触させた後に、研磨ユニット6を用いて当該使用済み電極5の研磨を実行し、研磨ユニット6によって研磨された研磨済み電極5を、第2位置において第4シリンダ14を用いて溶接トーチ4へ挿入する。
【選択図】図3
特許請求の範囲
【請求項1】
溶接トーチの先端に設置される電極を交換するための電極交換装置であって、
電極を把持することが可能な電極把持用の第1シリンダと、
前記第1シリンダごと電極を移動することが可能な電極移動用の第2シリンダと、
前記第1シリンダから開放された電極を把持する把持ユニットと、
電極を研磨する研磨ユニットと、
前記研磨ユニットを前記把持ユニットへ向けて移動する研磨ユニット移動用の第3シリンダと、
電極を前記溶接トーチに挿入することが可能な第4シリンダと、
制御装置とを備え、
前記制御装置は、
第1位置において前記溶接トーチから取り外した使用済み電極を、前記第1シリンダによって把持し、把持した前記使用済み電極を、前記第2シリンダによって第2位置に移動させ、
前記第2位置において前記第1シリンダを開放し、開放された前記使用済み電極を前記把持ユニットによって把持し、
前記第3シリンダを駆動し、前記研磨ユニットを前記把持ユニットへ向けて移動し、
前記使用済み電極の先端部を前記研磨ユニットに接触させた後に、前記研磨ユニットを用いて当該使用済み電極の研磨を実行し、
前記研磨ユニットによって研磨された研磨済み電極を、前記第2位置において前記第4シリンダを用いて前記溶接トーチへ挿入する、電極交換装置。
続きを表示(約 660 文字)
【請求項2】
電極の有無を検知するリミットスイッチをさらに備え、
前記制御装置は、第3位置において前記リミットスイッチによって前記溶接トーチへ前記研磨済み電極が正常に挿入されているかを確認する、請求項1に記載の電極交換装置。
【請求項3】
前記把持ユニットは、弾性部材によって付勢されているクランプ部を含み、
前記電極交換装置は、前記クランプ部を押下げることが可能に構成されたクランプ開放用の第5シリンダをさらに備え、
前記制御装置は、前記第5シリンダを駆動することによって、前記把持ユニットから電極を開放する、請求項1または請求項2に記載の電極交換装置。
【請求項4】
第1プーリと、
前記第1プーリを駆動するモータとをさらに備え、
前記把持ユニットは、前記第1プーリとベルトを介して回転可能に配置される第2プーリを含み、
前記制御装置は、前記モータの駆動によって前記第1プーリを回転することで前記第2プーリを回転し、前記使用済み電極を当該使用済み電極の軸方向に垂直な方向に回転させる、請求項1または請求項2に記載の電極交換装置。
【請求項5】
前記研磨ユニットは、前記使用済み電極の先端部を当該使用済み電極の軸方向に対して斜め方向に研磨し、
前記制御装置は、前記モータと前記研磨ユニットとを同時に動作させることによって、前記使用済み電極の先端部を円錐状に研磨する、請求項4に記載の電極交換装置。
発明の詳細な説明
【技術分野】
【0001】
本開示は、電極交換装置に関する。
続きを表示(約 2,200 文字)
【背景技術】
【0002】
特開平5-285654号公報(特許文献1)には、溶接トーチがアームの先端に取付けられた溶接ロボットが開示されている。特開平5-285654号公報(特許文献1)の溶接ロボットは、溶接トーチの先端に電極を固定し、溶接作業により電極が消耗した際に自動で電極を交換する。
【先行技術文献】
【特許文献】
【0003】
特開平5-285654号公報
【発明の概要】
【発明が解決しようとする課題】
【0004】
特開平5-285654号公報(特許文献1)の溶接ロボットでは、電極交換治具として使用済み電極用の治具と新品の電極用の治具とが別々に設けられている。各電極交換治具には、複数本の電極がセットされる。特開平5-285654号公報(特許文献1)の溶接ロボットは、各電極交換治具とはさらに別の位置に使用済み電極を研磨するための研磨装置が配置されている。
【0005】
しかしながら、特開平5-285654号公報(特許文献1)のような装置においては、複数本の電極がセットされる各電極交換治具とは別の位置に使用済み電極を研磨するための研磨装置が設けられているため、電極の交換と研磨とをスムーズに行なうことが難しい。
【0006】
本開示は、上記の問題を解決するためになされたものであり、その目的は、電極の交換と研磨とを効率よく実行することが可能な電極交換装置を提供することである。
【課題を解決するための手段】
【0007】
本開示は、溶接トーチの先端に設置される電極を交換するための電極交換装置に関する。電極交換装置は、電極を把持することが可能な電極把持用の第1シリンダと、第1シリンダごと電極を移動することが可能な電極移動用の第2シリンダと、第1シリンダから開放された電極を把持する把持ユニットと、電極を研磨する研磨ユニットと、研磨ユニットを把持ユニットへ向けて移動する研磨ユニット移動用の第3シリンダと、電極を溶接トーチに挿入することが可能な第4シリンダと、制御装置とを備える。制御装置は、第1位置において溶接トーチから取り外した使用済み電極を、第1シリンダによって把持し、把持した使用済み電極を、第2シリンダによって第2位置に移動させ、第2位置において第1シリンダを開放し、開放された使用済み電極を把持ユニットによって把持し、第3シリンダを駆動し、研磨ユニットを把持ユニットへ向けて移動し、使用済み電極の先端部を研磨ユニットに接触させた後に、研磨ユニットを用いて当該使用済み電極の研磨を実行し、研磨ユニットによって研磨された研磨済み電極を、第2位置において第4シリンダを用いて溶接トーチへ挿入する。
【発明の効果】
【0008】
本開示の電極交換装置によれば、第1位置において溶接トーチから取り外した使用済み電極を第2位置に移動させ、使用済み電極の先端部を研磨ユニットに接触させた後に研磨を実行し、研磨ユニットによって研磨された研磨済み電極を第2位置において溶接トーチへ挿入する。これによって、電極の交換の過程で電極を研磨することが可能となり、電極の交換と研磨とを効率よく実行することができる。
【図面の簡単な説明】
【0009】
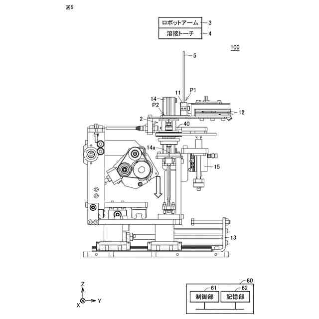
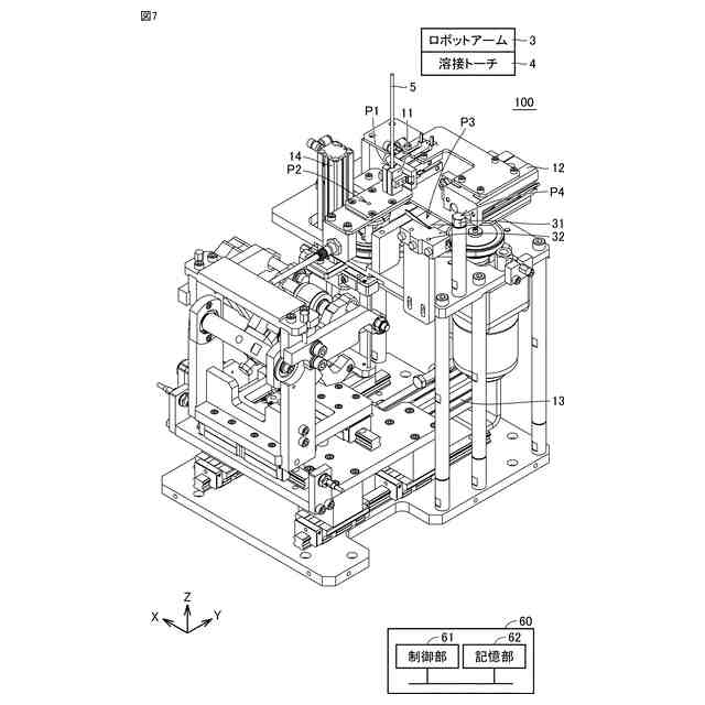
実施の形態における電極交換装置の斜視図である。
実施の形態における電極交換装置を図1の反対方向から見た斜視図である。
電極交換処理を示すフローチャートである。
実施の形態における研磨済み電極の挿入について説明するための側面図である。
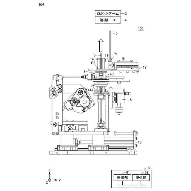
実施の形態における第4シリンダの下降について説明するための側面図である。
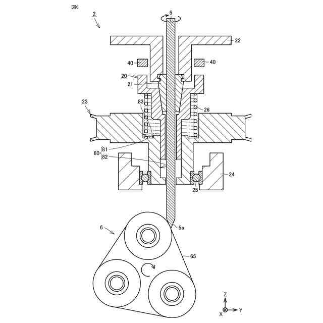
実施の形態における把持ユニットを説明するための図である。
実施の形態における研磨済み電極の点検について説明するための斜視図である。
実施の形態における使用済み電極を電極研磨ポイントに移動する様子を説明するための斜視図である。
実施の形態における第1シリンダが開放される様子を説明するための斜視図である。
実施の形態における第1シリンダを電極リリースポイントに移動する様子を説明するための斜視図である。
実施の形態における第4シリンダを駆動して先端のピンに使用済み電極を接触させる様子を説明するための側面図である。
実施の形態における把持ユニットで使用済み電極を把持する様子を説明するための側面図である。
実施の形態における研磨ユニットを使用済み電極の先端部に接触する様子を説明するための側面図である。
実施の形態における把持ユニットを回転させる様子を説明するための斜視図である。
実施の形態における研磨ベルトを回転させる様子を説明するための側面図である。
実施の形態における研磨ユニットを退避させ第4シリンダを初期位置に戻す様子を説明するための側面図である。
【発明を実施するための形態】
【0010】
以下、本開示の実施の形態について、図面を参照しながら詳細に説明する。なお、図中同一又は相当部分には同一符号を付してその説明は繰り返さない。
(【0011】以降は省略されています)
この特許をJ-PlatPat(特許庁公式サイト)で参照する
関連特許
株式会社ダイヘン
充電装置
26日前
株式会社ダイヘン
充電装置
26日前
株式会社ダイヘン
充電装置
26日前
株式会社ダイヘン
搬送装置
26日前
株式会社ダイヘン
充電装置
26日前
株式会社ダイヘン
制御装置
26日前
株式会社ダイヘン
溶接トーチ
1日前
株式会社ダイヘン
電極交換装置
1日前
株式会社ダイヘン
溶接電源装置
26日前
株式会社ダイヘン
電力変換装置
29日前
株式会社ダイヘン
電力システム
29日前
株式会社ダイヘン
回生ユニット
27日前
株式会社ダイヘン
固相接合装置
1か月前
株式会社ダイヘン
研削システム
1日前
株式会社ダイヘン
レーザ接合装置
1日前
株式会社ダイヘン
プラズマ発生器
1か月前
株式会社ダイヘン
インバータ装置
21日前
株式会社ダイヘン
パルス電源装置
26日前
株式会社ダイヘン
インバータ装置
26日前
株式会社ダイヘン
変圧器組立装置
26日前
株式会社ダイヘン
絶縁紙巻回装置
1か月前
株式会社ダイヘン
熱加工用電源装置
7日前
株式会社ダイヘン
ロボットシステム
1か月前
株式会社ダイヘン
積層造形システム
6日前
株式会社ダイヘン
積層造形システム
6日前
株式会社ダイヘン
積層造形システム
6日前
株式会社ダイヘン
パワーモジュール
26日前
株式会社ダイヘン
パワーモジュール
26日前
株式会社ダイヘン
パワーモジュール
26日前
株式会社ダイヘン
ロボットシステム
1か月前
株式会社ダイヘン
熱加工用電源装置
13日前
株式会社ダイヘン
溶接ワイヤ送給機構
1日前
株式会社ダイヘン
アーク溶接システム
26日前
株式会社ダイヘン
溶接ワイヤ送給装置
1日前
株式会社ダイヘン
直流パルス電源装置
27日前
株式会社ダイヘン
溶接ワイヤ送給機構
1日前
続きを見る
他の特許を見る