TOP
|
特許
|
意匠
|
商標
特許ウォッチ
Twitter
他の特許を見る
10個以上の画像は省略されています。
公開番号
2025163944
公報種別
公開特許公報(A)
公開日
2025-10-30
出願番号
2024067605
出願日
2024-04-18
発明の名称
積層造形システム
出願人
株式会社ダイヘン
代理人
弁理士法人深見特許事務所
主分類
B23K
9/04 20060101AFI20251023BHJP(工作機械;他に分類されない金属加工)
要約
【課題】消耗電極ワイヤを用いる際に溶着ビードを安定して積層する。
【解決手段】積層造形システム1は、溶接トーチ20と、ロボットアーム40と、温度センサ61と、溶接電流として交流を消耗電極ワイヤ51に供給する溶接電源10と、交流のEN比率を制御する制御装置30とを備える。制御装置30は、温度センサ61が検出した溶着ビード70の温度に応じて、溶着ビード70を積層するために適切なEN比率を算出する。
【選択図】図5
特許請求の範囲
【請求項1】
消耗電極ワイヤに溶接電流を供給し、溶着ビードを積層して造形物を造形する積層造形システムであって、
前記消耗電極ワイヤを用いた前記溶着ビードの積層を実行する溶接トーチと、
前記溶接トーチを移動する駆動装置と、
前記溶着ビードを積層させる際に、積層する手前の前記溶着ビードの温度または形状を検出する検出装置と、
前記溶接電流として交流を前記消耗電極ワイヤに供給する溶接電源と、
前記交流のEN比率を制御する制御装置とを備え、
前記制御装置は、前記検出装置が検出した前記溶着ビードの温度または形状の少なくとも一方に応じて、前記溶着ビードを積層するために適切な前記EN比率を算出する、積層造形システム。
続きを表示(約 900 文字)
【請求項2】
前記溶着ビードの温度と前記EN比率との関係を規定する第1対応関係と、前記溶接電流と前記消耗電極ワイヤの溶融速度との関係を前記EN比率毎に規定する第2対応関係とを記憶する記憶部をさらに備え、
前記制御装置は、前記第1対応関係から前記検出装置によって検出された前記溶着ビードの温度に対応する第1EN比率を算出し、前記第2対応関係から前記消耗電極ワイヤの溶融速度を一定としたときの前記第1EN比率に対応する前記溶接電流を算出する、請求項1に記載の積層造形システム。
【請求項3】
前記第1対応関係は、前記溶着ビードの温度が高くなるにつれて前記EN比率が高くなる関係である、請求項2に記載の積層造形システム。
【請求項4】
前記第2対応関係は、前記消耗電極ワイヤの溶融速度を一定としたときに、前記EN比率が高くなるにつれて前記溶接電流が低くなる関係である、請求項2に記載の積層造形システム。
【請求項5】
前記検出装置は、前記溶着ビードを積層させる際に、積層する手前の前記溶着ビードの形状を高さ情報として検出可能であり、
前記高さ情報と前記EN比率との関係を規定する第3対応関係と、前記溶接電流と前記消耗電極ワイヤの溶融速度との関係を前記EN比率毎に示す第2対応関係とを記憶する記憶部をさらに備え、
前記制御装置は、前記第3対応関係から前記検出装置によって検出された前記高さ情報に対応する前記EN比率を算出し、前記第2対応関係から前記溶接電流を一定としたときの前記EN比率に対応する前記消耗電極ワイヤの溶融速度を算出する、請求項1に記載の積層造形システム。
【請求項6】
前記第3対応関係は、前記溶着ビードの高さが高くなるにつれて前記EN比率が低くなる関係である、請求項5に記載の積層造形システム。
【請求項7】
前記第2対応関係は、前記溶接電流を一定としたときに、前記EN比率が高くなるにつれて前記消耗電極ワイヤの溶融速度が高くなる関係である、請求項5に記載の積層造形システム。
発明の詳細な説明
【技術分野】
【0001】
本開示は、積層造形システムに関する。
続きを表示(約 1,700 文字)
【背景技術】
【0002】
特開2022-106172号公報(特許文献1)には、溶着ビードを積層して造形物を造形する技術が開示されている。特開2022-106172号公報(特許文献1)には、溶着ビードの高さが計画高さとずれた場合に溶接条件を変更することが開示されている。
【先行技術文献】
【特許文献】
【0003】
特開2022-106172号公報
【発明の概要】
【発明が解決しようとする課題】
【0004】
特開2022-106172号公報(特許文献1)では、溶着ビードを積層する際に消耗電極を用い、積層の高さに応じて溶接速度を変更している。また、溶接速度以外でも溶加材の送給速度やアークを発生させるための入熱量でもよいとしている。しかしながら、非消耗電極式アーク溶接であれば、溶加材としてのワイヤ送給速度と入熱として溶接電流の値とを個別に制御することができるが、消耗電極式アーク溶接の場合は個別での制御が難しい。
【0005】
消耗電極式ではワイヤ送給速度とワイヤの溶融速度とが同値となることで、溶接が安定となる。そして、ワイヤ送給速度およびワイヤ溶融速度は溶接電流と一対一の関係があり、個別に設定できない。すなわち、特開2022-106172号公報(特許文献1)は、消耗電極を用いる場合を考慮していないため、溶着ビードの高さが計画高さとずれた場合に、最適な溶接条件に変更することができず、溶着ビードを安定して積層することに関して十分とは言えなかった。
【0006】
本開示の目的は、消耗電極ワイヤを用いる際に溶着ビードを安定して積層することのできる技術を提供することである。
【課題を解決するための手段】
【0007】
本開示は、消耗電極ワイヤに溶接電流を供給し、溶着ビードを積層して造形物を造形する積層造形システムに関する。積層造形システムは、消耗電極ワイヤを用いた溶着ビードの積層を実行する溶接トーチと、溶接トーチを移動する駆動装置と、溶着ビードを積層させる際に、積層する手前の溶着ビードの温度または形状を検出する検出装置と、溶接電流として交流を消耗電極ワイヤに供給する溶接電源と、交流のEN比率を制御する制御装置とを備える。制御装置は、検出装置が検出した溶着ビードの温度または形状の少なくとも一方に応じて、溶着ビードを積層するために適切なEN比率を算出する。
【発明の効果】
【0008】
本開示の積層造形システムは、検出装置が検出した溶着ビードの温度または形状の少なくとも一方に応じて、溶着ビードを積層するために適切なEN比率を算出する。溶着ビードの溶着量は、EN比率の変更によって電流に独立して容易に変更することができる。これによって、本開示の積層造形システムは、消耗電極ワイヤを用いる際に溶着ビードを安定して積層することができる。
【図面の簡単な説明】
【0009】
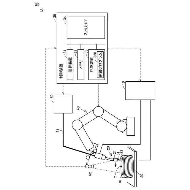
実施の形態1に係る積層造形システムを概略的に示す図である。
EN比率を説明するための図である。
EN比率ごとの溶接電流とワイヤ溶融速度との関係の一例を説明するための図である。
溶着ビードの温度と設定するEN比率との関係を説明するための図である。
実施の形態1に係る制御内容を示すフローチャートである。
実施の形態2に係る積層造形システムを概略的に示す図である。
EN比率ごとの溶接電流とワイヤ溶融速度との関係の一例を説明するための図である。
溶着ビードの高さと設定するEN比率との関係を説明するための図である。
実施の形態2に係る制御内容を示すフローチャートである。
変形例に係る制御内容を示すフローチャートである。
【発明を実施するための形態】
【0010】
以下、本開示の実施の形態について、図面を参照しながら詳細に説明する。なお、図中同一又は相当部分には同一符号を付してその説明は繰り返さない。
(【0011】以降は省略されています)
この特許をJ-PlatPat(特許庁公式サイト)で参照する
関連特許
株式会社ダイヘン
充電装置
24日前
株式会社ダイヘン
充電装置
24日前
株式会社ダイヘン
充電装置
24日前
株式会社ダイヘン
搬送装置
24日前
株式会社ダイヘン
充電装置
24日前
株式会社ダイヘン
制御装置
24日前
株式会社ダイヘン
回生ユニット
25日前
株式会社ダイヘン
溶接電源装置
24日前
株式会社ダイヘン
インバータ装置
19日前
株式会社ダイヘン
パルス電源装置
24日前
株式会社ダイヘン
インバータ装置
24日前
株式会社ダイヘン
変圧器組立装置
24日前
株式会社ダイヘン
パワーモジュール
24日前
株式会社ダイヘン
積層造形システム
4日前
株式会社ダイヘン
積層造形システム
4日前
株式会社ダイヘン
積層造形システム
4日前
株式会社ダイヘン
熱加工用電源装置
5日前
株式会社ダイヘン
熱加工用電源装置
11日前
株式会社ダイヘン
パワーモジュール
24日前
株式会社ダイヘン
パワーモジュール
24日前
株式会社ダイヘン
直流パルス電源装置
25日前
株式会社ダイヘン
アーク溶接システム
24日前
株式会社ダイヘン
制御装置及び研削システム
24日前
株式会社ダイヘン
サブマージアーク溶接システム
24日前
株式会社ダイヘン
サブマージアーク溶接システム
24日前
株式会社ダイヘン
通信システム、および、通信方法
25日前
株式会社ダイヘン
充電装置、および、電力システム
17日前
株式会社ダイヘン
変圧器組立方法及び変圧器組立装置
24日前
株式会社ダイヘン
溶接検査装置、形状計測装置および外観検査装置
25日前
株式会社ダイヘン
ティーチングチップおよびこれを装着した溶接ロボット
4日前
株式会社ダイヘン
タップ切換台
4日前
株式会社ダイヘン
搬送ロボットの教示システム、および搬送ロボットの教示方法
24日前
株式会社ダイヘン
搬送ロボットの教示システム、および搬送ロボットの教示方法
24日前
株式会社ダイヘン
搬送ロボットの教示システム、および搬送ロボットの教示方法
7日前
株式会社ダイヘン
フラットパネル製造システム及びそれに用いられるロボット制御装置
25日前
個人
フライス盤
1か月前
続きを見る
他の特許を見る