TOP
|
特許
|
意匠
|
商標
特許ウォッチ
Twitter
他の特許を見る
10個以上の画像は省略されています。
公開番号
2025165245
公報種別
公開特許公報(A)
公開日
2025-11-04
出願番号
2024069241
出願日
2024-04-22
発明の名称
竪樋支持具および排水システム
出願人
積水化学工業株式会社
代理人
個人
,
個人
,
個人
,
個人
主分類
E04D
13/08 20060101AFI20251027BHJP(建築物)
要約
【課題】効果的に伸縮処理する。
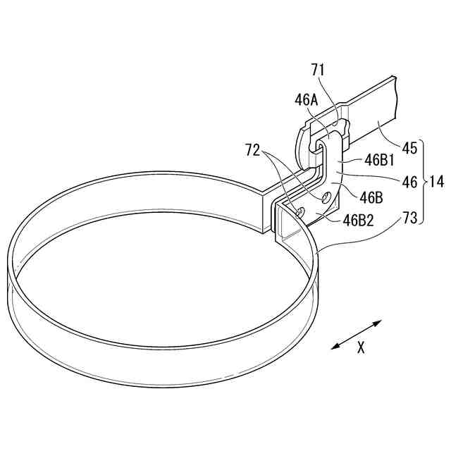
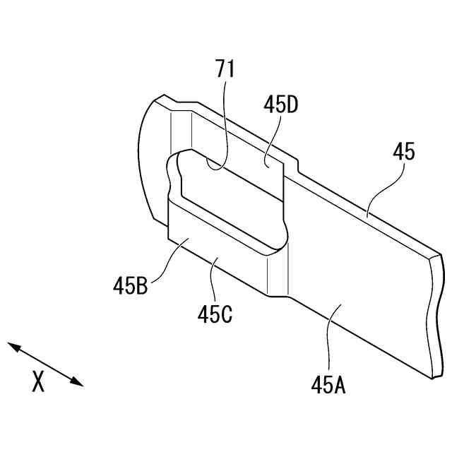
【解決手段】竪樋13を壁2の前方で支持する竪樋支持具14であって、前記壁2に固定される第1部材45と、前記竪樋13を支持するバンド73に接続する第2部材46と、を備え、前記第1部材45と前記第2部材46とが、前後方向に移動可能に連結することを特徴とする竪樋支持具。
【選択図】図4
特許請求の範囲
【請求項1】
竪樋を壁の前方で支持する竪樋支持具であって、
前記壁に固定される第1部材と、
前記竪樋を支持するバンドに接続する第2部材と、を備え、
前記第1部材と前記第2部材とが、前後方向に移動可能に連結することを特徴とする竪樋支持具。
続きを表示(約 650 文字)
【請求項2】
前記第1部材に第1孔が設けられ、
前記第1孔に前記第2部材が前後方向に移動可能に配置されていることを特徴とする請求項1に記載の竪樋支持具。
【請求項3】
前記第1部材は、表裏面が左右方向を向く板状であり、
前記第1部材のうち、前記第1孔に対して上下に位置する部分は左右方向に夫々突出していることを特徴とする請求項2に記載の竪樋支持具。
【請求項4】
前記第2部材は、上端が前記第1部材に連結する第1部分と、前記第1部分の下端から前方に延び、前記バンドに接続する第2部分と、を含むことを特徴とする請求項1に記載の竪樋支持具。
【請求項5】
前記第1部材に第1孔が設けられ、
前記第1孔に前記第1部分が配置され、
前記第2部分に第2孔が設けられ、
前記第1孔は、前記第2孔よりも前後方向に長いことを特徴とする請求項4に記載の竪樋支持具。
【請求項6】
竪樋と、
請求項1から請求項5のいずれかに係る竪樋支持具と、を備え、
前記竪樋支持具は、前記竪樋を壁の前方で支持することを特徴とする排水システム。
【請求項7】
建物の屋根又は壁に、水平方向に間隔をあけて固定された複数の雨樋支持具と、
前記複数の雨樋支持具に支持された雨樋と、を更に備え、
前記竪樋は、前記雨樋から下方に延びる構成を含む、ことを特徴とする請求項6に記載の排水システム。
発明の詳細な説明
【技術分野】
【0001】
本発明は、竪樋支持具および排水システムに関する。
続きを表示(約 1,000 文字)
【背景技術】
【0002】
例えば、特許文献1に記載されたような、排水システムに用いられる竪樋支持具が知られている。
【先行技術文献】
【特許文献】
【0003】
特開平10-339003号公報
【発明の概要】
【発明が解決しようとする課題】
【0004】
この種の雨樋支持具において、例えば、排水システムに関する雨樋支持具以外の部材(例えば、屋根や竪樋など)に対して、温度変化(昼夜の外気温変動や夏期冬期の変動)を起因として生じる熱伸縮の影響を吸収するための対策(すなわち、伸縮処理)をすることが求められている。
【0005】
本発明は、前述した事情に鑑みてなされたものであって、効果的に伸縮処理することを目的とする。
【課題を解決するための手段】
【0006】
上記課題を解決するため、本発明は以下の手段を提供する。
<1>竪樋を壁の前方で支持する竪樋支持具であって、前記壁に固定される第1部材と、前記竪樋を支持するバンドに接続する第2部材と、を備え、前記第1部材と前記第2部材とが、前後方向に移動可能に連結することを特徴とする竪樋支持具。
【0007】
<2>上記<1>に係る竪樋支持具では、前記第1部材に第1孔が設けられ、前記第1孔に前記第2部材が前後方向に移動可能に配置されていることを特徴とする<1>に記載の竪樋支持具。
【0008】
<3>上記<1>に係る竪樋支持具の前記前記第1部材は、表裏面が左右方向を向く板状であり、前記第1部材のうち、前記第1孔に対して上下に位置する部分は左右方向に夫々突出していることを特徴とする<2>に記載の竪樋支持具。
【0009】
<4>上記<3>に係る竪樋支持具では、前記第2部材は、上端が前記第1部材に連結する第1部分と、前記第1部分の下端から前方に延び、前記バンドに接続する第2部分と、を含むことを特徴とする<1>に記載の竪樋支持具。
【0010】
<5>上記<3>に係る竪樋支持具では、前記第1部材に第1孔が設けられ、前記第1孔に前記第1部分が配置され、前記第2部分に第2孔が設けられ、前記第1孔は、前記第2孔よりも前後方向に長いことを特徴とする<4>に記載の竪樋支持具。
(【0011】以降は省略されています)
この特許をJ-PlatPat(特許庁公式サイト)で参照する
関連特許
積水化学工業株式会社
樹脂管
29日前
積水化学工業株式会社
製管装置
23日前
積水化学工業株式会社
集合継手
25日前
積水化学工業株式会社
配管構造
29日前
積水化学工業株式会社
解析方法
29日前
積水化学工業株式会社
積層構造体
29日前
積水化学工業株式会社
雨樋システム
4日前
積水化学工業株式会社
配管の接続構造
17日前
積水化学工業株式会社
両面粘着テープ
29日前
積水化学工業株式会社
両面粘着テープ
29日前
積水化学工業株式会社
更生管の製管装置
23日前
積水化学工業株式会社
防食用粘着テープ
25日前
積水化学工業株式会社
基板積層体の製造方法
1日前
積水化学工業株式会社
樹脂組成物、放熱部材
29日前
積水化学工業株式会社
基板積層体の製造方法
4日前
積水化学工業株式会社
継手構造および接続構造
29日前
積水化学工業株式会社
床の施工方法及び建築物
29日前
積水化学工業株式会社
集合継手及び排水システム
29日前
積水化学工業株式会社
配管構造及びプレハブ配管
22日前
積水化学工業株式会社
配管構造及びプレハブ配管
22日前
積水化学工業株式会社
軒樋支持具および雨樋システム
22日前
積水化学工業株式会社
竪樋支持具および排水システム
4日前
積水化学工業株式会社
集合継手及び集合継手の製造方法
29日前
積水化学工業株式会社
マスターバッチ、及びその製造方法
29日前
積水化学工業株式会社
粒体、地盤改良材及び地盤改良方法
25日前
積水化学工業株式会社
熱膨張性マイクロカプセル用組成物
3日前
積水化学工業株式会社
防火区画貫通処理部材及び防火区画材
29日前
積水化学工業株式会社
防火区画貫通処理シート及び防火区画材
29日前
積水化学工業株式会社
樹脂材料、硬化物及び多層プリント配線板
1か月前
積水化学工業株式会社
光ファイバ担持樹脂成形体及びその製造方法
29日前
積水化学工業株式会社
硬化性樹脂組成物及び基板積層体の製造方法
29日前
積水化学工業株式会社
継手
1日前
積水化学工業株式会社
電気化学システム、及びカルボニル化合物の製造方法
29日前
積水化学工業株式会社
コンクリート試験体、及びコンクリート試験体の製造方法
29日前
積水化学工業株式会社
熱伝導性シート保持体、及び熱伝導性シートの貼り付け方法
29日前
積水化学工業株式会社
施工管理システム
9日前
続きを見る
他の特許を見る