TOP
|
特許
|
意匠
|
商標
特許ウォッチ
Twitter
他の特許を見る
公開番号
2025154269
公報種別
公開特許公報(A)
公開日
2025-10-10
出願番号
2024057178
出願日
2024-03-29
発明の名称
防火区画貫通処理シート及び防火区画材
出願人
積水化学工業株式会社
代理人
個人
,
個人
,
個人
,
個人
主分類
F16L
5/04 20060101AFI20251002BHJP(機械要素または単位;機械または装置の効果的機能を生じ維持するための一般的手段)
要約
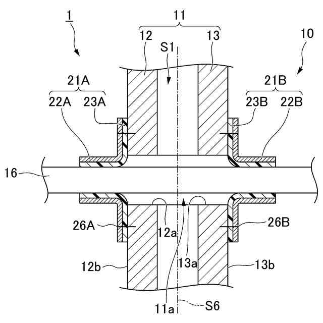
【課題】火災が延焼するのを効率的に抑えた防火区画貫通処理シートを提供する。
【解決手段】防火区画貫通処理シート21Aは、金属で形成された耐熱シート22Aと、耐熱シート22A上に配置された溶融シート23Aを備える。
【選択図】図1
特許請求の範囲
【請求項1】
金属で形成された耐熱シートと、
前記耐熱シート上に配置された溶融シートと、
を備える、防火区画貫通処理シート。
続きを表示(約 900 文字)
【請求項2】
貫通孔が形成された防火区画材本体と、
前記貫通孔に一部が配置された挿通体と、
請求項1に記載の防火区画貫通処理シートである第1防火区画貫通処理シート及び第2防火区画貫通処理シートと、
を備え、
前記第1防火区画貫通処理シートは、前記溶融シートが前記防火区画材本体及び前記挿通体に対向するように、前記防火区画材本体の第1主面及び前記挿通体にそれぞれ接続され、
前記第2防火区画貫通処理シートは、前記溶融シートが前記防火区画材本体及び前記挿通体に対向するように、前記防火区画材本体の第2主面及び前記挿通体にそれぞれ接続されている、防火区画材。
【請求項3】
貫通孔が形成された防火区画材本体と、
前記貫通孔に少なくとも一部が配置された管材と、
前記防火区画材本体における前記貫通孔の開口周縁部と前記管材との間に配置され、前記管材よりも前記管材の軸線方向の両側にそれぞれ突出し、前記管材を全周にわたって覆う請求項1に記載の防火区画貫通処理シートと、
前記管材内に一部が配置された挿通体と、
前記軸線方向の両側において、前記挿通体に接触した前記防火区画貫通処理シートを前記挿通体に固定する固定部材と、
を備え、
前記防火区画貫通処理シートは、前記溶融シートが前記管材に対向するように配置されている、防火区画材。
【請求項4】
貫通孔が形成された防火区画材本体と、
前記貫通孔に少なくとも一部が配置された管材と、
前記防火区画材本体における前記貫通孔の開口周縁部と前記管材との間に配置され、前記管材を全周にわたって覆う請求項1に記載の防火区画貫通処理シートと、
前記管材内に一部が配置された挿通体と、
前記管材の軸線方向の両側において、前記挿通体及び前記防火区画貫通処理シートにそれぞれ貼り付けられた耐熱テープと、
を備え、
前記防火区画貫通処理シートは、前記溶融シートが前記管材に対向するように配置されている、防火区画材。
発明の詳細な説明
【技術分野】
【0001】
本発明は、防火区画貫通処理シート及び防火区画材に関する。
続きを表示(約 1,400 文字)
【背景技術】
【0002】
従来、建築物は、床、壁等の防火区画材を備えている。防火区画材は、火災時に建築物が延焼するのを抑制する。
防火区画材にケーブル、配管等の挿通体を通すために、防火区画材に防火区画貫通部(貫通孔)が設けられることがある。防火区画貫通部の延焼を抑制するために、防火区画貫通措置部材が用いられる(例えば、特許文献1参照)。
【0003】
特許文献1では、防火区画貫通措置部材は、建築物の仕切り部(防火区画材)に形成され、挿通体が通る防火区画貫通部において、延焼を抑えるのに用いられる。防火区画貫通措置部材は、耐火材と、保持材からなる。
耐火材は、耐火性を有する部材である。耐火材は、熱膨張性部材であることが好ましく、シート状の部材とすることができる。
【0004】
保持材は、シート状の第1基材であるとよい。例えば、第1基材は、金属箔、ガラスクロスなどの不燃材料、ポリエチレンや塩化ビニル等の樹脂材料等、もしくはそれらの複合材により形成される。保持材は、耐火材と積層して、積層構造とすることができる。
積層構造は、耐火材が仕切り部及び挿通体に対向するように接続される。
【先行技術文献】
【特許文献】
【0005】
特開2022-126531号公報
【発明の概要】
【発明が解決しようとする課題】
【0006】
しかしながら、特許文献1の防火区画貫通措置部材の延焼抑制性能には、改善の余地がある。
【0007】
本発明は、このような問題点に鑑みてなされたものであって、火災が延焼するのを効率的に抑えた防火区画貫通処理シート、及びこの防火区画貫通処理シートを備える防火区画材を提供することを目的とする。
【課題を解決するための手段】
【0008】
前記課題を解決するために、この発明は以下の手段を提案している。
(1)本発明の態様1は、金属で形成された耐熱シートと、前記耐熱シート上に配置された溶融シートを備える、防火区画貫通処理シートである。
【0009】
この発明では、例えば、貫通孔に挿通体が通された中空壁に対して、溶融シートが中空壁及び挿通体に対向するように、防火区画貫通処理シートを中空壁及び挿通体に接続する。ここで言う対向するとは、互いに間を空けて向き合う意味だけでなく、互いに接触する意味も含む。
例えば、防火区画貫通処理シートに対する中空壁とは反対側である、中空壁に対する第1側に火災が生じると、挿通体、防火区画貫通処理シート、及び中空壁が加熱される。防火区画貫通処理シートの耐熱シートは、火災による熱に耐えて、中空壁における貫通孔の開口周縁部と挿通体との間の隙間の少なくとも一部を塞ぎ続ける。
【0010】
一方で、防火区画貫通処理シートの溶融シートの少なくとも一部は、火災による熱で溶融し、中空壁及び挿通体と、耐熱シートとの間の隙間の少なくとも一部を塞ぐ。
従って、中空壁における貫通孔の開口周縁部と挿通体との間を通して空気が流れ難くなり、火災による炎及び熱が、中空壁に対する第2側に達するのが抑制され、火災が延焼するのを効率的に抑えることができる。
(【0011】以降は省略されています)
この特許をJ-PlatPat(特許庁公式サイト)で参照する
関連特許
積水化学工業株式会社
樹脂管
1日前
積水化学工業株式会社
複層管
8日前
積水化学工業株式会社
段ボール
16日前
積水化学工業株式会社
解析方法
1日前
積水化学工業株式会社
配管構造
1日前
積水化学工業株式会社
積層構造体
1日前
積水化学工業株式会社
耐火処理構造
2日前
積水化学工業株式会社
耐火処理構造
2日前
積水化学工業株式会社
両面粘着テープ
1日前
積水化学工業株式会社
遺伝子導入方法
9日前
積水化学工業株式会社
両面粘着テープ
1日前
積水化学工業株式会社
更生管の製管方法
2日前
積水化学工業株式会社
螺旋管の製管装置
4日前
積水化学工業株式会社
螺旋管の製管装置
4日前
積水化学工業株式会社
熱伝導性樹脂組成物
8日前
積水化学工業株式会社
樹脂組成物、放熱部材
1日前
積水化学工業株式会社
床の施工方法及び建築物
1日前
積水化学工業株式会社
継手構造および接続構造
1日前
積水化学工業株式会社
集合継手及び排水システム
1日前
積水化学工業株式会社
生産管理システムおよび方法
2日前
積水化学工業株式会社
生産管理システムおよび方法
2日前
積水化学工業株式会社
膜付き基材の製造方法及び粉体
4日前
積水化学工業株式会社
プログラム及び情報処理システム
4日前
積水化学工業株式会社
集合継手及び集合継手の製造方法
1日前
積水化学工業株式会社
メタサーフェスシート及び窓構造
4日前
積水化学工業株式会社
継手、配管構造、配管の施工方法
2日前
積水化学工業株式会社
マスターバッチ、及びその製造方法
1日前
積水化学工業株式会社
接着性樹脂組成物、及び、仮固定材
4日前
積水化学工業株式会社
区画貫通処理構造及び区画貫通処理材
9日前
積水化学工業株式会社
区画貫通処理構造及び区画貫通処理材
9日前
積水化学工業株式会社
区画貫通処理構造及び区画貫通処理材
9日前
積水化学工業株式会社
防火区画貫通処理部材及び防火区画材
1日前
積水化学工業株式会社
防火区画貫通処理シート及び防火区画材
1日前
積水化学工業株式会社
鉄道用枕木、及び鉄道用枕木の製造方法
2日前
積水化学工業株式会社
支持部材、蓄電設備及び蓄電設備付き建物
12日前
積水化学工業株式会社
樹脂材料、硬化物及び多層プリント配線板
2日前
続きを見る
他の特許を見る