TOP
|
特許
|
意匠
|
商標
特許ウォッチ
Twitter
他の特許を見る
公開番号
2025165789
公報種別
公開特許公報(A)
公開日
2025-11-05
出願番号
2024070121
出願日
2024-04-23
発明の名称
車両前部構造
出願人
株式会社SUBARU
代理人
個人
主分類
B62D
25/08 20060101AFI20251028BHJP(鉄道以外の路面車両)
要約
【課題】車両前部の剛性を高くしつつ衝突性能を確保する。
【解決手段】車両前部構造Sでは、ロアクラッシュボックス40がフロントサイド部18B2の前側に設けられ、正面視で、車幅方向外側へ向かうに従い上側へ傾斜すると共に、上側へ凸となる円弧状に湾曲している。このため、前面衝突時には、ロアクラッシュボックス40が、フロントサイド部18B2及び外側連結部31を介してクロスメンバ30を押し上げる。これにより、正面衝突時にクロスメンバ30とフロントサイドフレーム10との連結状態を良好に解除することができる。その結果、前面衝突時におけるフロントサイドフレーム10の圧縮変形をクロスメンバ30が阻害することを抑制できる。一方、スモールラップ衝突時には、サブフレーム18、外側連結部31、及びクロスメンバ30から衝突体に対して有効な反力を作用させることができる。
【選択図】図3
特許請求の範囲
【請求項1】
車両の前部の車幅方向両側において車両前後方向に延在された左右一対のフロントサイドフレームと、
前記フロントサイドフレームの車両上側において車幅方向に延在され、左右一対の前記フロントサイドフレームに結合されると共に、車両の前面衝突時に入力される荷重によって前記フロントサイドフレームとの結合状態が解除されるクロスメンバと、
前記クロスメンバの長手方向両端部に設けられ、前記フロントサイドフレームの車幅方向外側において前記クロスメンバから車両下側へ延出された外側連結部と、
前記フロントサイドフレームの車両下側に設けられ、車両前後方向に延在された左右一対のサイド部と、車幅方向に延在され且つ前記サイド部の前端部を連結するフロント部と、を有するサブフレームと、
前記フロント部の車両前側に設けられた左右一対のロアクラッシュボックスと、
を備え、
前記フロント部は、
車幅方向に延在されたフロントセンタ部と、
前記フロントセンタ部の長手方向両端部から車幅方向外側へ延出され、前記外側連結部の下端部が車幅方向外側端部に結合された左右一対のフロントサイド部と、
を含んで構成され、
前記ロアクラッシュボックスが、前記フロントサイド部から車両前側へ延出され、
前記ロアクラッシュボックス及び前記フロントサイド部が、車両前側から見て、車幅方向外側へ向かうに従い車両上側へ傾斜している車両前部構造。
続きを表示(約 230 文字)
【請求項2】
前記ロアクラッシュボックス及び前記フロントサイド部が、車両前側から見て、車両上側へ凸となる円弧状に湾曲している請求項1に記載の車両前部構造。
【請求項3】
前記クロスメンバには、内側連結部が設けられており、
前記内側連結部は、前記フロントサイドフレームの車幅方向内側において、前記クロスメンバから車両下側へ延出され、前記内側連結部の下端部が前記フロントサイド部に結合されている請求項2に記載の車両前部構造。
発明の詳細な説明
【技術分野】
【0001】
本発明は、車両前部構造に関するものである。
続きを表示(約 2,100 文字)
【背景技術】
【0002】
下記特許文献1の車両前部構造では、クロスメンバが、車幅方向に延在されると共に、左右一対のフロントサイドメンバの前端部に架け渡されている。これにより、クロスメンバによって、車両前部の剛性を高くすることができる。また、クロスメンバは、フロントサイドメンバの車幅方向内側に位置しており、クロスメンバの長手方向両端部がフロントサイドメンバの側面に結合されている。このため、フロントサイドメンバの前端部がクロスメンバによって車幅方向内側から支持される。これにより、衝突体がフロントサイドフレームの車幅方向外側に衝突するスモールラップ衝突では、クロスメンバがフロントサイドメンバを車幅方向内側から支持するため、フロントサイドメンバの折れ曲がりを抑制することができる。
【先行技術文献】
【特許文献】
【0003】
特開2020-44911号公報
【発明の概要】
【発明が解決しようとする課題】
【0004】
しかしながら、上記車両用前部構造では、以下に示す点において改善の余地がある。すなわち、上記車両前部構造では、上述のように、クロスメンバがフロントサイドメンバの前端部に結合されている。このため、車両の前面衝突時におけるフロントサイドメンバの前端部の圧縮変形をクロスメンバが阻害する可能性がある。換言すると、車両の正面衝突時に、フロントサイドメンバにおけるクロスメンバと結合された部分が、良好に圧縮変形しない可能性がある。この場合には、フロントサイドメンバによる衝突エネルギー吸収性能が低下する虞がある。
【0005】
本発明は、上記事実を考慮して、車両前部の剛性を高くしつつ衝突性能を確保することができる車両前部構造を提供することを目的とする。
【課題を解決するための手段】
【0006】
本発明の1又はそれ以上の実施形態は、車両の前部の車幅方向両側において車両前後方向に延在された左右一対のフロントサイドフレームと、前記フロントサイドフレームの車両上側において車幅方向に延在され、左右一対の前記フロントサイドフレームに結合されると共に、車両の前面衝突時に入力される荷重によって前記フロントサイドフレームとの結合状態が解除されるクロスメンバと、前記クロスメンバの長手方向両端部に設けられ、前記フロントサイドフレームの車幅方向外側において前記クロスメンバから車両下側へ延出された外側連結部と、前記フロントサイドフレームの車両下側に設けられ、車両前後方向に延在された左右一対のサイド部と、車幅方向に延在され且つ前記サイド部の前端部を連結するフロント部と、を有するサブフレームと、前記フロント部の車両前側に設けられた左右一対のロアクラッシュボックスと、を備え、前記フロント部は、車幅方向に延在されたフロントセンタ部と、前記フロントセンタ部の長手方向両端部から車幅方向外側へ延出され、前記外側連結部の下端部が車幅方向外側端部に結合された左右一対のフロントサイド部と、を含んで構成され、前記ロアクラッシュボックスが、前記フロントサイド部から車両前側へ延出され、前記ロアクラッシュボックス及び前記フロントサイド部が、車両前側から見て、車幅方向外側へ向かうに従い車両上側へ傾斜している車両前部構造である。
【発明の効果】
【0007】
本発明の1又はそれ以上の実施形態によれば、車両前部の剛性を高くしつつ衝突性能を確保することができる。
【図面の簡単な説明】
【0008】
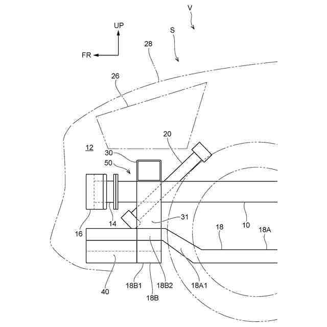
本実施の形態に係る車両前部構造が適用された車両の前部を模式的に示す上側から見た平面図である。
図1に示される車両の前部の車両左側から見た側面図である。
図1に示される車両の前部の車両前側から見た正面図である。
図1に示される車両の前部の車両下側から見た下面図である。
【発明を実施するための形態】
【0009】
以下、図面を用いて、本実施の形態に係る車両前部構造Sが適用された車両(自動車)Vについて説明する。なお、図面では、車両Vの車両前側を矢印FRで示し、車両上側を矢印UPで示し、車両上側から見たときの車両左側(車幅方向一方側)を矢印LHで示している。また、以下の説明において、上下、前後、左右の方向を用いて説明するときには、特に断りのない限り、車両上下方向、車両前後方向、車両左右方向を示すものとする。
【0010】
図1~図4に示されるように、車両前部構造Sは、車両Vの前部に適用されている。車両前部構造Sは、左右一対のフロントサイドフレーム10と、バンパビーム16と、サブフレーム18と、ラジエータコア20と、クロスメンバ30と、左右一対のロアクラッシュボックス40と、を有している。以下、車両前部構造Sの各構成について説明する。
(【0011】以降は省略されています)
この特許をJ-PlatPat(特許庁公式サイト)で参照する
関連特許
株式会社SUBARU
車両
25日前
株式会社SUBARU
車両
1か月前
株式会社SUBARU
車両
1か月前
株式会社SUBARU
車両
9日前
株式会社SUBARU
車両
1か月前
株式会社SUBARU
操作システム
1日前
株式会社SUBARU
車体前部構造
29日前
株式会社SUBARU
車体前部構造
16日前
株式会社SUBARU
車体前部構造
16日前
株式会社SUBARU
車体前部構造
16日前
株式会社SUBARU
整流システム
12日前
株式会社SUBARU
運転支援装置
9日前
株式会社SUBARU
車体後部構造
1か月前
株式会社SUBARU
車両前部構造
3日前
株式会社SUBARU
車両前部構造
3日前
株式会社SUBARU
車両前部構造
3日前
株式会社SUBARU
車両前部構造
3日前
株式会社SUBARU
車体前部構造
2日前
株式会社SUBARU
車体前部構造
2日前
株式会社SUBARU
サイドドア構造
1か月前
株式会社SUBARU
サイドドア構造
1か月前
株式会社SUBARU
車両用制御装置
1か月前
株式会社SUBARU
事故情報収集装置
1か月前
株式会社SUBARU
姿勢推定システム
1か月前
株式会社SUBARU
車両衝突軽減装置
1か月前
株式会社SUBARU
エンジン制御装置
1日前
株式会社SUBARU
電動式全輪駆動車
22日前
株式会社SUBARU
燃料タンク処理装置
1か月前
株式会社SUBARU
ドアロック制御装置
2日前
株式会社SUBARU
車両用空調制御装置
1か月前
株式会社SUBARU
車両の降車補助装置
22日前
株式会社SUBARU
燃料タンク処理装置
1か月前
株式会社SUBARU
車室内異常検知装置
1か月前
株式会社SUBARU
車両用周辺監視装置
16日前
株式会社SUBARU
車両の車高自動調整装置
18日前
株式会社SUBARU
車体構造部材の結合構造
25日前
続きを見る
他の特許を見る