TOP
|
特許
|
意匠
|
商標
特許ウォッチ
Twitter
他の特許を見る
公開番号
2025155332
公報種別
公開特許公報(A)
公開日
2025-10-14
出願番号
2024059117
出願日
2024-04-01
発明の名称
車両
出願人
株式会社SUBARU
代理人
弁理士法人青海国際特許事務所
主分類
F02D
17/00 20060101AFI20251006BHJP(燃焼機関;熱ガスまたは燃焼生成物を利用する機関設備)
要約
【課題】排気流路に凝縮水が滞留することを抑制する。
【解決手段】車両は、エンジンと、前記エンジンに供給される空気が流通する吸気流路と、前記エンジンから排出されたガスが流通する排気流路と、前記吸気流路に設けられるスロットル弁と、前記吸気流路および前記排気流路の少なくともいずれかに設けられ、気体の流れを発生させる通風部と、制御装置と、を備え、制御装置のプロセッサは、動作中の前記エンジンを停止させる条件が成立した場合、前記エンジンが停止したときに、前記吸気弁および前記排気弁の両方が開状態であることを示すバルブオーバーラップ状態となるように、前記エンジンを停止させる特定停止制御を行うことと、前記エンジンの停止後に、前記スロットル弁を開状態にさせることと、を含む処理を実行する。
【選択図】図1
特許請求の範囲
【請求項1】
エンジンと、
前記エンジンに供給される空気が流通する吸気流路と、
前記エンジンから排出されたガスが流通する排気流路と、
前記吸気流路に設けられるスロットル弁と、
前記吸気流路および前記排気流路の少なくともいずれかに設けられ、気体の流れを発生させる通風部と、
制御装置と、
を備え、
前記エンジンは、
前記吸気流路に接続される吸気ポートを開閉可能な吸気弁と、
前記排気流路に接続される排気ポートを開閉可能な排気弁と、
を有し、
前記制御装置は、
1つまたは複数のプロセッサと、
前記プロセッサに接続される1つまたは複数のメモリと、
を有し、
前記プロセッサは、
動作中の前記エンジンを停止させる条件が成立した場合、
前記エンジンが停止したときに、前記吸気弁および前記排気弁の両方が開状態であることを示すバルブオーバーラップ状態となるように、前記エンジンを停止させる特定停止制御を行うことと、
前記エンジンの停止後に、前記スロットル弁を開状態にさせることと、
を含む処理を実行する、車両。
続きを表示(約 770 文字)
【請求項2】
前記通風部は、前記吸気流路に設けられ、前記吸気流路を通じて前記エンジンに空気を送入可能なポンプを含み、
前記プロセッサは、前記エンジンの停止後に、前記ポンプを動作させることを含む処理を実行する、請求項1に記載の車両。
【請求項3】
前記通風部は、前記排気流路に設けられ、走行風を取得することにより前記排気流路に気体の流れを発生させる走行風取得部を含み、
前記プロセッサは、
自車両が走行中であり、かつ、動作中の前記エンジンを停止させる条件が成立した場合、
前記特定停止制御を行うことと、
前記エンジンの停止後に、前記スロットル弁を開状態にさせることと、
を含む処理を実行する、請求項1に記載の車両。
【請求項4】
前記特定停止制御は、
現在のクランク角および現在のクランク角速度に基づいて、前記エンジンが停止したときのクランク角の推定値を示す推定クランク角を導出することと、
前記吸気弁および前記排気弁が前記バルブオーバーラップ状態となるクランク角の範囲を示す特定クランク角範囲の内部に、前記推定クランク角が収まるように、前記スロットル弁の開度を制御することと、
を含む、請求項1に記載の車両。
【請求項5】
前記特定停止制御は、
前記推定クランク角が、前記特定クランク角範囲よりも前記クランク角が小さい方向に外れている場合、前記スロットル弁の開度を、現在の開度よりも大きくすることと、
前記推定クランク角が、前記特定クランク角範囲よりも前記クランク角が大きい方向に外れている場合、前記スロットル弁の開度を、現在の開度よりも小さくすることと、
を含む、請求項4に記載の車両。
発明の詳細な説明
【技術分野】
【0001】
本発明は、車両に関する。
続きを表示(約 1,900 文字)
【背景技術】
【0002】
例えば、特許文献1には、冷却水温が閾値以下のとき、エンジンの燃焼室内に凝縮水が存在している可能性があると判断し、掃気制御を実行するハイブリッド自動車が開示されている。かかるハイブリッド自動車では、掃気制御において、吸気バルブの開弁タイミングおよび排気バルブの閉弁タイミングが上死点となるように、可変バルブ機構を制御することで、燃焼室内の凝縮水が排気管に排出される。
【先行技術文献】
【特許文献】
【0003】
特開2018-80654号公報
【発明の概要】
【発明が解決しようとする課題】
【0004】
動作中のエンジンを停止した場合、エンジンから排出されたガスに含まれる水分が凝縮水となって排気流路に滞留することがある。この凝縮水は、例えば、排気流路に設けられる排気センサに付着することがある。エンジンが再始動され、排気センサを活性化させるために排気センサが加熱された状態で、排気センサに凝縮水が付着すると気化するときの熱衝撃によって、当該排気センサが損傷することがある。
【0005】
そこで、本発明は、排気流路に凝縮水が滞留することを抑制することが可能な車両を提供することを目的とする。
【課題を解決するための手段】
【0006】
上記課題を解決するために、本発明の一実施形態に係る車両は、
エンジンと、
前記エンジンに供給される空気が流通する吸気流路と、
前記エンジンから排出されたガスが流通する排気流路と、
前記吸気流路に設けられるスロットル弁と、
前記吸気流路および前記排気流路の少なくともいずれかに設けられ、気体の流れを発生させる通風部と、
制御装置と、
を備え、
前記エンジンは、
前記吸気流路に接続される吸気ポートを開閉可能な吸気弁と、
前記排気流路に接続される排気ポートを開閉可能な排気弁と、
を有し、
前記制御装置は、
1つまたは複数のプロセッサと、
前記プロセッサに接続される1つまたは複数のメモリと、
を有し、
前記プロセッサは、
動作中の前記エンジンを停止させる条件が成立した場合、
前記エンジンが停止したときに、前記吸気弁および前記排気弁の両方が開状態であることを示すバルブオーバーラップ状態となるように、前記エンジンを停止させる特定停止制御を行うことと、
前記エンジンの停止後に、前記スロットル弁を開状態にさせることと、
を含む処理を実行する。
【発明の効果】
【0007】
本発明によれば、排気流路に凝縮水が滞留することを抑制することが可能となる。
【図面の簡単な説明】
【0008】
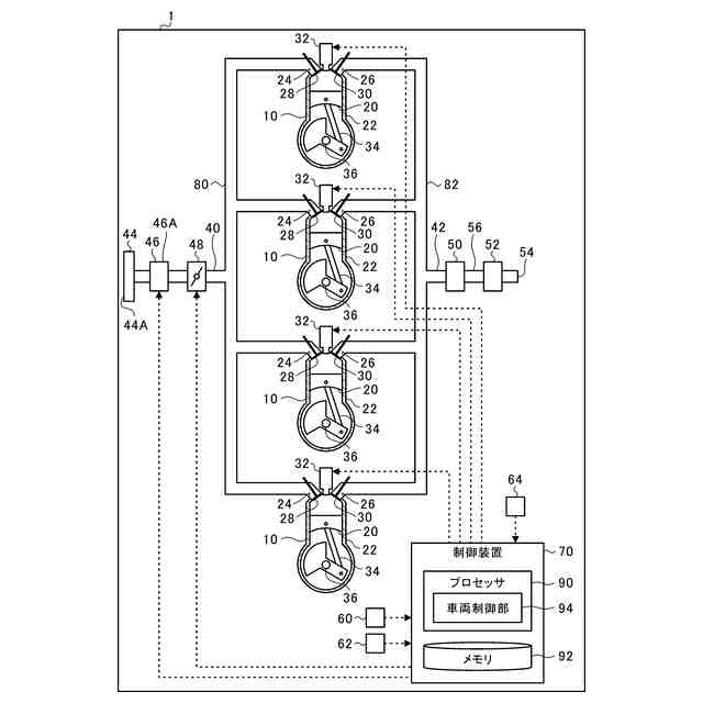
図1は、第1実施形態にかかる車両の構成を示す概略図である。
図2は、第1実施形態における車両制御部の動作の流れの一例を示すフローチャートである。
図3は、特定停止制御の流れを説明するフローチャートである。
図4は、バルブオーバーラップ状態、特定クランク角範囲およびスロットル弁の開度制御について説明する図である。
図5は、第2実施形態の車両の構成を示す概略図である。
図6は、走行風取得部の構成を説明する断面図である。
図7は、第2実施形態における車両制御部の動作の流れの一例を示すフローチャートである。
【発明を実施するための形態】
【0009】
以下に添付図面を参照しながら、本発明の実施形態について詳細に説明する。かかる実施形態に示す具体的な寸法、材料、数値等は、発明の理解を容易にするための例示に過ぎず、特に断る場合を除き、本発明を限定するものではない。なお、本明細書および図面において、実質的に同一の機能、構成を有する要素については、同一の符号を付することにより重複説明を省略し、また本発明に直接関係のない要素は図示を省略する。
【0010】
(第1実施形態)
図1は、第1実施形態にかかる車両1の構成を示す概略図である。車両1は、駆動源としてエンジン10を備えるエンジン自動車であってもよいし、駆動源としてエンジン10とモータジェネレータ(不図示)とを備えるハイブリッド自動車であってもよい。なお、第1実施形態において、車両1のことを、自車両という場合がある。
(【0011】以降は省略されています)
この特許をJ-PlatPat(特許庁公式サイト)で参照する
関連特許
株式会社SUBARU
車両
5日前
株式会社SUBARU
車体前部構造
9日前
株式会社SUBARU
電動式全輪駆動車
2日前
株式会社SUBARU
車両の降車補助装置
2日前
株式会社SUBARU
運転支援装置および車両
2日前
株式会社SUBARU
車体構造部材の結合構造
5日前
株式会社SUBARU
運転支援装置および車両
9日前
株式会社SUBARU
運転支援装置および車両
10日前
株式会社SUBARU
乗物用遮音構造体、及び車両
2日前
株式会社SUBARU
部材の結合構造及び結合方法
9日前
しげる工業株式会社
車両用レジスタ装置
9日前
株式会社SUBARU
乗り心地改善装置、車両および乗り心地改善方法
9日前
個人
バンケル型内燃機関の改良
5日前
スズキ株式会社
車両の制御装置
2日前
本田技研工業株式会社
車両
9日前
本田技研工業株式会社
車両
9日前
トヨタ自動車株式会社
電磁弁
5日前
本田技研工業株式会社
内燃機関
10日前
本田技研工業株式会社
内燃機関
9日前
株式会社クボタ
作業車両
10日前
本田技研工業株式会社
始動制御装置
9日前
本田技研工業株式会社
始動制御装置
9日前
トヨタ自動車株式会社
エンジン制御装置
16日前
トヨタ自動車株式会社
電磁弁の制御装置
5日前
本田技研工業株式会社
内燃機関の吸気構造
10日前
日産自動車株式会社
内燃機関
16日前
大阪瓦斯株式会社
エンジンシステム
9日前
日産自動車株式会社
内燃機関
16日前
本田技研工業株式会社
可変ファンネル装置
9日前
株式会社デンソートリム
エンジン制御装置
16日前
トヨタ自動車株式会社
V型8気筒エンジン
5日前
マツダ株式会社
エンジン
10日前
トヨタ自動車株式会社
内燃機関の燃料供給装置
16日前
株式会社SUBARU
車両
5日前
ヤンマーホールディングス株式会社
エンジン装置
18日前
本田技研工業株式会社
内燃機関の制御装置
10日前
続きを見る
他の特許を見る