TOP
|
特許
|
意匠
|
商標
特許ウォッチ
Twitter
他の特許を見る
公開番号
2025165790
公報種別
公開特許公報(A)
公開日
2025-11-05
出願番号
2024070122
出願日
2024-04-23
発明の名称
車両前部構造
出願人
株式会社SUBARU
代理人
個人
主分類
B62D
25/08 20060101AFI20251028BHJP(鉄道以外の路面車両)
要約
【課題】電気デバイスの保護性能を確保する。
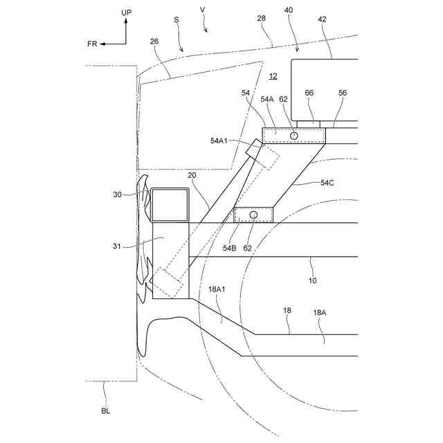
【解決手段】車両前部構造Sでは、支持機構50のフロント支持部54が、ラジエータコア20の上部を支持する下側フロントフレーム54Bと、ラジエータコア20の傾斜方向一方側(後側且つ上側)に配置された上側フロントフレーム54Aと、を有している。車両Vの前面衝突時には、下側フロントフレーム54Bによって、後退するラジエータコア20をガイドして傾斜方向一方側へ移動させ、上側フロントフレーム54Aによって、傾斜方向一方側へ移動するラジエータコア20の上端部を受け止める。これにより、ラジエータコア20が、電気デバイスとしてのインバータ装置42に直接的に衝突することを抑制できる。したがって、ラジエータコア20を斜め配置した場合でも、インバータ装置42の保護性能を確保することができる。
【選択図】図2
特許請求の範囲
【請求項1】
車両の前部の車幅方向両側において車両前後方向に延在された一対のフロントサイドフレームと、
一対の前記フロントサイドフレームの間に配置され、車幅方向から見て車両上側へ向かうに従い車両後側へ傾斜しているラジエータコアと、
前記ラジエータコアの車両後側で且つ車両上側に設けられた電気デバイスと、
前記電気デバイスを車両下側から支持する支持機構と、
を備え、
前記支持機構の前端部を構成するフロント支持部は、前記ラジエータコアの上部を車両下側から支持しており、
前記車両の前面衝突時には、前記フロント支持部によって、車両後方側へ移動する前記ラジエータコアをガイドすると共に、車両後方側へ移動する前記ラジエータコアの上端部を受け止める車両前部構造。
続きを表示(約 870 文字)
【請求項2】
前記フロント支持部は、
車幅方向に延在され、前記ラジエータコアを支持する支持フレームと、
前記支持フレームよりも車両上側において車幅方向に延在する受けフレームと、
を有しており、
前記車両の前面衝突時には、前記支持フレームによって、車両後方側へ移動する前記ラジエータコアをガイドし、前記受けフレームによって、車両後方側へ移動する前記ラジエータコアの上端部を受け止める請求項1に記載の車両前部構造。
【請求項3】
前記支持機構の後端部が、車幅方向を軸方向として車体に回転可能に連結されており、
前記フロント支持部及び前記車体の一方には、車幅方向を軸方向とする誘導軸が設けられ、
前記フロント支持部及び前記車体の他方には、前記誘導軸が挿入されたガイド溝が設けられており、
前記フロント支持部によって車両後方側へ移動する前記ラジエータコアの上端部を受け止めるときには、前記誘導軸が前記ガイド溝に沿って移動して、前記支持機構の前端部が持ち上がる請求項2に記載の車両前部構造。
【請求項4】
前記ガイド溝には、係合部が設けられており、
前記係合部が前記誘導軸と係合することで、前記誘導軸の前記ガイド溝に対する相対移動が制限されており、
前記車両の前面衝突時には、前記誘導軸と前記係合部との係合状態が解除されて、前記誘導軸が前記ガイド溝に沿って移動する請求項3に記載の車両用前部構造。
【請求項5】
前記支持機構は、
前記支持機構の後端部を構成し、車幅方向に延在されたリヤ支持部と、
前記リヤ支持部の車幅方向外側端部と前記フロント支持部の車幅方向外側端部とを連結する一対のサイド支持部と、
を有しており、
前記電気デバイスの前端部が、前記フロント支持部によって支持され、前記電気デバイスの後端部が前記リヤ支持部によって支持されている請求項3又は請求項4に記載の車両前部構造。
発明の詳細な説明
【技術分野】
【0001】
本発明は、車両前部構造に関するものである。
続きを表示(約 1,700 文字)
【背景技術】
【0002】
車両(自動車)では、車両のパワーユニット等を冷却するラジエータコアが、車両の前端部に設けられている(下記、特許文献1参照)。ラジエータコアは、車幅方向から見て、車両上下方向に沿った状態で配置されている。
【0003】
ここで、車幅方向から見てラジエータコアを車両上側へ向かうに従い車両後側へ傾斜した状態に配置することで、上下方向におけるラジエータコアの設置スペースを小さくすることができる。これにより、ラジエータコアの車両上側の空間を活用して、例えば、トランク等を車両の前部に設けることができる。
【先行技術文献】
【特許文献】
【0004】
特開2023-101999号
【発明の概要】
【発明が解決しようとする課題】
【0005】
しかしながら、ラジエータコアを斜め配置した場合には、ラジエータコアを起立状態で配置する場合と比べて、ラジエータコアの上端部が後方側に位置するようになる。一方、車両では、インバータ装置等の電気デバイスが、ラジエータコアの車両後側に配置されている。すなわち、ラジエータコアを斜め配置した場合には、ラジエータコアを起立状態で配置する場合と比べて、ラジエータコアの上端部が、電気デバイスに接近する傾向になる。このため、例えば、車両の前面衝突において後退するラジエータコアの上端部が電気デバイスに衝突すると、電気デバイスの保護性能が低下する。よって、車両用前部構造では、ラジエータコアを斜め配置した場合でも、電気デバイスの保護性能を確保できる構造にすることが望ましい。
【0006】
本発明は、上記事実を考慮して、電気デバイスの保護性能を確保することができる車両前部構造を提供することを目的とする。
【課題を解決するための手段】
【0007】
本発明の1又はそれ以上の実施形態は、車両の前部の車幅方向両側において車両前後方向に延在された一対のフロントサイドフレームと、一対の前記フロントサイドフレームの間に配置され、車幅方向から見て車両上側へ向かうに従い車両後側へ傾斜しているラジエータコアと、前記ラジエータコアの車両後側で且つ車両上側に設けられた電気デバイスと、前記電気デバイスを車両下側から支持する支持機構と、を備え、前記支持機構の前端部を構成するフロント支持部は、前記ラジエータコアの上部を車両下側から支持しており、前記車両の前面衝突時には、前記フロント支持部によって、車両後方側へ移動する前記ラジエータコアをガイドすると共に、車両後方側へ移動する前記ラジエータコアの上端部を受け止める車両前部構造である。
【発明の効果】
【0008】
本発明の1又はそれ以上の実施形態によれば、電気デバイスの保護性能を確保することができる。
【図面の簡単な説明】
【0009】
本実施の形態に係る車両前部構造が適用された車両の前部を模式的に示す上側から見た平面図である。
図1に示される車両の前部の車両左側から見た側面図である。
図1に示される支持機構の左斜め前方から見た斜視図である。
車両の前面衝突時におけるラジエータコアの挙動を説明するための側面図である。
図4に示される衝突体がさらに後方側に侵入したときのラジエータコアの挙動を説明するための側面図である。
【発明を実施するための形態】
【0010】
以下、図面を用いて、本実施の形態に係る車両前部構造Sが適用された車両(自動車)Vについて説明する。なお、図面では、車両Vの車両前側を矢印FRで示し、車両上側を矢印UPで示し、車両上側から見たときの車両左側(車幅方向一方側)を矢印LHで示している。また、以下の説明において、上下、前後、左右の方向を用いて説明するときには、特に断りのない限り、車両上下方向、車両前後方向、車両左右方向を示すものとする。
(【0011】以降は省略されています)
この特許をJ-PlatPat(特許庁公式サイト)で参照する
関連特許
株式会社SUBARU
車両
9日前
株式会社SUBARU
車両
25日前
株式会社SUBARU
車体前部構造
16日前
株式会社SUBARU
車体前部構造
2日前
株式会社SUBARU
車体前部構造
2日前
株式会社SUBARU
車体前部構造
16日前
株式会社SUBARU
車両前部構造
3日前
株式会社SUBARU
車両前部構造
3日前
株式会社SUBARU
車両前部構造
3日前
株式会社SUBARU
車両前部構造
3日前
株式会社SUBARU
車体前部構造
16日前
株式会社SUBARU
運転支援装置
9日前
株式会社SUBARU
操作システム
1日前
株式会社SUBARU
整流システム
12日前
株式会社SUBARU
エンジン制御装置
1日前
株式会社SUBARU
電動式全輪駆動車
22日前
株式会社SUBARU
車両の降車補助装置
22日前
株式会社SUBARU
車両用周辺監視装置
16日前
株式会社SUBARU
ドアロック制御装置
2日前
株式会社SUBARU
運転支援装置および車両
22日前
株式会社SUBARU
車体構造部材の結合構造
25日前
株式会社SUBARU
車両の車高自動調整装置
18日前
株式会社SUBARU
運転補助装置および車両
9日前
株式会社SUBARU
カーテンエアバッグ装置
4日前
株式会社SUBARU
乗物用遮音構造体、及び車両
22日前
株式会社SUBARU
車両および車両用忘れ物防止システム
9日前
テイ・エス テック株式会社
乗物用シート
1日前
個人
カート
4か月前
個人
走行装置
4か月前
個人
三輪バイク
16日前
個人
電動走行車両
4か月前
個人
乗り物
6か月前
個人
発音装置
8か月前
個人
駐輪設備
2か月前
個人
自転車用歩数計
24日前
個人
閂式ハンドル錠
4か月前
続きを見る
他の特許を見る