TOP
|
特許
|
意匠
|
商標
特許ウォッチ
Twitter
他の特許を見る
10個以上の画像は省略されています。
公開番号
2025162034
公報種別
公開特許公報(A)
公開日
2025-10-27
出願番号
2024065124
出願日
2024-04-15
発明の名称
整流システム
出願人
株式会社SUBARU
代理人
弁理士法人太田特許事務所
主分類
B62D
25/20 20060101AFI20251020BHJP(鉄道以外の路面車両)
要約
【課題】車体の床下の境界層に起因する車体の後方の渦を抑制することにより、車体の安定性を向上させる技術を提供する。
【解決手段】整流システムは、車体の床下を流れる気流を整流する整流システムであって、気流の境界層から所定の範囲内に設けられた取込口と境界層よりも車体の後方に設けられた排気口とを含むダクトと、ダクト内に設けられ、且つ、第1の渦を形成する第1の渦制御装置と、を備え、第1の渦は、気流から発生した第2の渦の成長を抑制する。
【選択図】図1
特許請求の範囲
【請求項1】
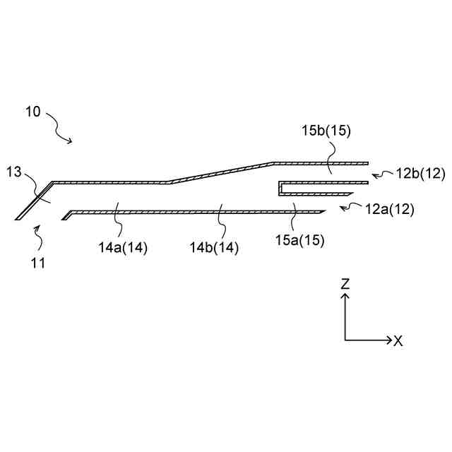
車体の床下を流れる気流を整流する整流システムであって、
前記気流の境界層から所定の範囲内に設けられた取込口と前記境界層よりも前記車体の後方に設けられた排気口とを含むダクトと、
前記ダクト内に設けられ、且つ、第1の渦を形成する第1の渦制御装置と、
を備え、
前記第1の渦は、前記気流から発生した第2の渦の成長を抑制する、
整流システム。
続きを表示(約 460 文字)
【請求項2】
前記第1の渦制御装置は、前記車体の上方に向かって突出し、且つ、前記車体の車幅方向に沿って延在する第1の突起を含む、
請求項1に記載の整流システム。
【請求項3】
前記境界層における前記気流の状態に基づいて、前記第1の突起を前記車体の上下方向に移動させるアクチュエータをさらに備える、
請求項2に記載の整流システム。
【請求項4】
前記ダクト外であって、且つ、前記車体の床下に、前記第2の渦を制御する第2の渦制御装置をさらに備え、
前記第2の渦制御装置は、前記車体の後方のディフューザから連続して前記車体の下方に向かって突出し、且つ、前記車体の車幅方向に沿って延在する第2の突起を含む、
請求項1に記載の整流システム。
【請求項5】
前記排気口は、前記車体のディフューザの下端部に設けられた第1の排気口と、前記第1の排気口よりも前記車体の上方に設けられた第2の排気口と、を含む、
請求項1に記載の整流システム。
発明の詳細な説明
【技術分野】
【0001】
本開示は、整流システムに関する。
続きを表示(約 1,300 文字)
【背景技術】
【0002】
従来、車体の床下の空気の流れを制御する技術が知られている。
【0003】
例えば特許文献1には、車両の後部床下に、略三角形状の翼部材を、頂点を前方にして、車幅方向中心線に対して対称に、水平方向に対して略0°又は後方が上となるように傾斜させた姿勢で、床下面と間隔をあけて配置したことを特徴とする車両後部構造が開示されている。
【0004】
また特許文献2には、車両の床下における前輪の中心線よりも前方に設けられ、前記車両の車幅方向に沿って配置された複数の突起及び複数の穴の少なくとも一方を含む高周波渦発生部と、前記床下における前記車両の重心位置よりも後方に設けられ、前記車幅方向に沿って配置された複数のフィンを含む渦整流部と、を備え、前記高周波渦発生部は、前記車幅方向の中央部において、前記車幅方向の前記中央部以外の部分よりも密に配置されている、車両床下構造が開示されている。
【0005】
また特許文献3には、車両の下部に取付けられ、浸入した異物を排出するための一つ以上の開口を有する床下カバーにおいて、前記開口の車両前方側に車両下方側へ突出形成されて、車両下方を流れる気流を乱流化して三次元渦を形成するボルテックスジェネレータを設けたことを特徴とする床下カバーが開示されている。
【0006】
また特許文献4には、車両の表面の、走行時に乱流境界層の生じる位置に設けられた可動壁と、上記可動壁の内側に設けられこの可動壁を振動させる加振手段とを有することを特徴とする空気抵抗低減装置が開示されている。
【先行技術文献】
【特許文献】
【0007】
特開2006-282076号公報
特開2024-000302号公報
特開2013-212752号公報
特開平09-118270号公報
【発明の概要】
【発明が解決しようとする課題】
【0008】
電気自動車のプラットフォーム構造においては、車体の床下に排気管等が配設されるガソリン車等のプラットフォーム構造に比べて、車体の床下のフラット化を実現することができる。そのため、電気自動車は、ガソリン車等よりも空力抵抗を低減することができる。しかしながら、車体の床下において発生する境界層に起因して車体の後方において渦が発生してしまい、車体の安定性に影響を及ぼす恐れがあることがわかった。
【0009】
かかる事情に鑑みてなされた本開示の目的は、車体の床下の境界層に起因する車体の後方の渦を抑制することにより、車体の安定性を向上させる技術を提供することにある。
【課題を解決するための手段】
【0010】
本開示の一実施形態に係る整流システムは、車体の床下を流れる気流を整流する整流システムであって、気流の境界層から所定の範囲内に設けられた取込口と境界層よりも車体の後方に設けられた排気口とを含むダクトと、ダクト内に設けられ、且つ、第1の渦を形成する第1の渦制御装置と、を備え、第1の渦は、気流から発生した第2の渦の成長を抑制する。
【発明の効果】
(【0011】以降は省略されています)
この特許をJ-PlatPat(特許庁公式サイト)で参照する
関連特許
株式会社SUBARU
車両
9日前
株式会社SUBARU
操作システム
1日前
株式会社SUBARU
車体前部構造
2日前
株式会社SUBARU
車体前部構造
2日前
株式会社SUBARU
車両前部構造
3日前
株式会社SUBARU
車両前部構造
3日前
株式会社SUBARU
車両前部構造
3日前
株式会社SUBARU
車両前部構造
3日前
株式会社SUBARU
運転支援装置
9日前
株式会社SUBARU
整流システム
12日前
株式会社SUBARU
エンジン制御装置
1日前
株式会社SUBARU
ドアロック制御装置
2日前
株式会社SUBARU
カーテンエアバッグ装置
4日前
株式会社SUBARU
運転補助装置および車両
9日前
株式会社SUBARU
車両および車両用忘れ物防止システム
9日前
テイ・エス テック株式会社
乗物用シート
1日前
個人
カート
4か月前
個人
走行装置
4か月前
個人
三輪バイク
16日前
個人
電動走行車両
4か月前
個人
乗り物
6か月前
個人
発音装置
8か月前
個人
駐輪設備
2か月前
個人
自転車用歩数計
24日前
個人
閂式ハンドル錠
4か月前
個人
電動モビリティ
8か月前
個人
折り畳み自転車
11か月前
個人
ボギー・フレーム
2か月前
個人
三輪電動車両
24日前
個人
ルーフ付きトライク
3か月前
個人
体重掛けリフト台車
11か月前
個人
“zen-go.”
3か月前
個人
自由方向乗車自転車
8か月前
個人
ルーフ付きトライク
2か月前
井関農機株式会社
作業車両
9日前
個人
車の室内高温防止屋根
2日前
続きを見る
他の特許を見る