TOP
|
特許
|
意匠
|
商標
特許ウォッチ
Twitter
他の特許を見る
10個以上の画像は省略されています。
公開番号
2025158572
公報種別
公開特許公報(A)
公開日
2025-10-17
出願番号
2024061251
出願日
2024-04-05
発明の名称
車両の降車補助装置
出願人
株式会社SUBARU
代理人
弁理士法人i-MIRAI
,
個人
,
個人
,
個人
主分類
B60N
5/00 20060101AFI20251009BHJP(車両一般)
要約
【課題】車両の反対側から乗降する際のドライバまたは助手の労力を軽減する。
【解決手段】車両の降車補助装置の制御部は、ドライバ用ドアが開閉可能であるか否かと、助手用ドアが開閉可能であるか否かと、を判断する。制御部は、ドライバ用ドアが開閉可能でない場合、または、助手用ドアが開閉可能でない場合、第一アクチュエータによりコンソール部材の少なくとも上部を前後方向の後方へ後退させる。
【選択図】図7
特許請求の範囲
【請求項1】
車両の車室においてドライバシートと助手シートの間に設けられるコンソール部材と、
前記コンソール部材についての少なくとも上部を、前記車両の前後方向へ後退させる第一アクチュエータと、
前記第一アクチュエータを制御する制御部と、
前記車両のドライバシートへの乗員の乗降の際に開閉されるドライバ用ドアの開閉範囲内の車外の障害物を検出するドライバ側センサと、
前記車両の助手シートへの乗員の乗降の際に開閉される助手用ドアの開閉範囲内の車外の障害物を検出する助手側センサと、
を有し、
前記制御部は、
前記車両の停止時に、前記ドライバ側センサの検出に基づいて、前記ドライバ用ドアが開閉可能であるか否かと、前記助手側センサの検出に基づいて、前記助手用ドアが開閉可能であるか否かと、を判断し、
前記ドライバ用ドアが開閉可能でない場合、または、前記助手用ドアが開閉可能でない場合、
前記第一アクチュエータにより、前記コンソール部材の少なくとも上部を、前記前後方向の後方へ後退させる、
車両の降車補助装置。
続きを表示(約 2,000 文字)
【請求項2】
前記制御部は、
前記ドライバ用ドアが開閉可能であるか否かを判断し、
前記ドライバ用ドアが開閉可能でない場合に、前記助手用ドアが開閉可能であるか否かを判断し、
前記助手用ドアが開閉可能である場合には、前記第一アクチュエータにより、前記コンソール部材の少なくとも上部を、前記前後方向の後方へ後退させ、
前記助手用ドアが開閉可能でない場合には、前記第一アクチュエータにより、前記コンソール部材の少なくとも上部を、前記前後方向の後方へ後退させない、
請求項1記載の、車両の降車補助装置。
【請求項3】
前記ドライバシートを前記車両の前後方向へ後退させる第二アクチュエータと、前記助手シートを前記車両の前後方向へ後退させる第三アクチュエータと、を有し、
前記制御部は、
前記ドライバ用ドアが開閉可能でなく、かつ、前記助手用ドアが開閉可能である場合には、前記第一アクチュエータから前記第三アクチュエータにより、前記コンソール部材の少なくとも上部とともに、前記ドライバシートおよび前記助手シートを、前記前後方向の後方へ後退させ、
前記ドライバ用ドアが開閉可能でなく、かつ、前記助手用ドアが開閉可能でない場合には、前記第一アクチュエータから前記第三アクチュエータにより、前記コンソール部材の少なくとも上部とともに、前記ドライバシートおよび前記助手シートを、前記前後方向の後方へ後退させない、
請求項2記載の、車両の降車補助装置。
【請求項4】
前記制御部は、
前記ドライバ用ドアが開閉可能である場合に、前記助手用ドアが開閉可能であるか否かと、前記車両に設けられる前記助手シートの乗員の有無と、を判断し、
前記助手用ドアが開閉可能でなく、かつ、前記助手シートに乗員がいる場合には、前記第一アクチュエータから前記第三アクチュエータにより、前記コンソール部材の少なくとも上部とともに、前記ドライバシートおよび前記助手シートを、前記前後方向の後方へ後退させ、
前記助手用ドアが開閉可能でなく、かつ、前記助手シートに乗員がいない場合には、前記第二アクチュエータにより、前記ドライバシートのみを、前記前後方向の後方へ後退させ、
前記助手用ドアが開閉可能であり、かつ、前記助手シートに乗員がいる場合には、前記第二アクチュエータおよび前記第三アクチュエータにより、前記ドライバシートおよび前記助手シートのみを、前記前後方向の後方へ後退させ、
前記助手用ドアが開閉可能であり、かつ、前記助手シートに乗員がいない場合には、前記第二アクチュエータにより、前記ドライバシートのみを、前記前後方向の後方へ後退させる、
請求項3記載の、車両の降車補助装置。
【請求項5】
前記制御部は、
前記コンソール部材が、前記助手シートおよび前記助手シートより前へ突出しているか否かを判断し、
前記コンソール部材が前記助手シートおよび前記助手シートより前へ突出している場合に、前記ドライバ用ドアが開閉可能であるか否かと、前記助手用ドアが開閉可能であるか否かと、を判断し、
前記コンソール部材が前記助手シートおよび前記助手シートより前へ突出していない場合には、前記車両に設けられる前記助手シートの乗員の有無、を判断し、
前記助手シートに乗員がいる場合には、前記第二アクチュエータおよび前記第三アクチュエータにより、前記ドライバシートおよび前記助手シートのみを、前記前後方向の後方へ後退させ、
前記助手シートに乗員がいない場合には、前記第二アクチュエータにより、前記ドライバシートのみを、前記前後方向の後方へ後退させる、
請求項1から4のいずれか一項記載の、車両の降車補助装置。
【請求項6】
前記制御部は、
前記第一アクチュエータにより後退させる前記コンソール部材の少なくとも上部の前端が、前記ドライバシートのシートバックおよび前記助手シートのシートバックより後側に位置するように、前記コンソール部材の少なくとも上部を、前記車両の前後方向の後方へ後退させる、
請求項5記載の、車両の降車補助装置。
【請求項7】
前記制御部は、
前記コンソール部材の少なくとも上部、前記ドライバシートおよび前記助手シートのいずれかを、前記前後方向の後方へ後退させている状態で、前記車両を走行可能な状態にするための操作がなされた場合、
前記第一アクチュエータから前記第三アクチュエータにより、後退させている前記コンソール部材の少なくとも上部、前記ドライバシートまたは前記助手シートを、前記車両の前後方向の前側へ前進させる、
請求項6記載の、車両の降車補助装置。
発明の詳細な説明
【技術分野】
【0001】
本発明は、車両の降車補助装置に関する。
続きを表示(約 2,900 文字)
【背景技術】
【0002】
自動車といった車両では、ドライバなどの乗員が乗降する。
特許文献1は、車両の外部の乗降スペースをメモリに記録して、二列目シートからの乗降を補助する機能を開示する。
特許文献2は、障害物検出センサによりドアと車外の障害物との距離を検出しながらドアを開扉することを開示する。
特許文献3は、コンソール体が、車体フロアの車両前後方向に敷設したスライドレールに沿って車両前後方向にスライド可能であることを開示する。
【先行技術文献】
【特許文献】
【0003】
特開2020-128151号公報
特開2005-009157号公報
特開2006-256487号公報
【発明の概要】
【発明が解決しようとする課題】
【0004】
ところで、ドライバや助手は、車両を所定の駐車スペースなどに駐車させた状態でドアを開閉して車両から降りる。また、ドライバや助手は、駐車スペースなどに駐車させている車両のドアを開閉して車両に乗車する。
【0005】
しかしながら、駐車スペースのサイズや周辺の状況によっては、ドライバや助手は、各々のドアを開閉することができないことがある。
たとえば、ドライバ用ドアの開閉範囲内に、壁などが存在する場合、ドライバは、ドライバ用ドアを開閉して車両へ乗降することができない。この場合、ドライバは、ドライバシートから助手シートへ移動して、助手用ドアを開閉して車両へ乗降する必要がある。
また、助手用ドアの開閉範囲内に、壁などが存在する場合、助手は、助手用ドアを開閉して車両へ乗降することができない。この場合、助手は、助手シートからドライバシートへ移動して、ドライバ用ドアを開閉して車両へ乗降する必要がある。
【0006】
その一方で、車両の車室には、ドライバシートと助手シートの間にコンソール部材が設けられている。その結果、たとえばドライバが、ドライバシートから助手シートへ移動する際に、それらの間で突出しているコンソール部材により移動が阻害されてしまう。助手についての、助手シートからドライバシートへの移動についても、ドライバシートと助手シートの間に突出して設けられているコンソール部材により阻害される。車両から乗降しようとするドライバや助手は、突出しているコンソール部材を避けるように車内で足を折り畳んだりしながら車内を移動する必要に迫られ得る。場合によっては、ドライバなどは、足を手で持って、突出して設けられているコンソール部材の反対側まで運んでから、シートの間を移動しなければならない。また、助手シートに子供が着座している場合、子供は、突出しているコンソール部材の反対側へ移動するために、シートの上を歩いたり、這いつくばるように移動したりする必要がある。
【0007】
このように、車両では、車両の反対側から乗降する際のドライバまたは助手の労力を軽減することが求められる。
【課題を解決するための手段】
【0008】
本発明の実施の一形態に係る車両の降車補助装置は、車両の車室においてドライバシートと助手シートの間に設けられるコンソール部材と、前記コンソール部材についての少なくとも上部を、前記車両の前後方向へ後退させる第一アクチュエータと、前記第一アクチュエータを制御する制御部と、前記車両のドライバシートへの乗員の乗降の際に開閉されるドライバ用ドアの開閉範囲内の車外の障害物を検出するドライバ側センサと、前記車両の助手シートへの乗員の乗降の際に開閉される助手用ドアの開閉範囲内の車外の障害物を検出する助手側センサと、を有し、前記制御部は、前記車両の停止時に、前記ドライバ側センサの検出に基づいて、前記ドライバ用ドアが開閉可能であるか否かと、前記助手側センサの検出に基づいて、前記助手用ドアが開閉可能であるか否かと、を判断し、前記ドライバ用ドアが開閉可能でない場合、または、前記助手用ドアが開閉可能でない場合、前記第一アクチュエータにより、前記コンソール部材の少なくとも上部を、前記前後方向の後方へ後退させる、ものである。
【発明の効果】
【0009】
本発明において、制御部は、車両の停止時に、ドライバ側センサの検出に基づいて、ドライバ用ドアが開閉可能であるか否かと、助手側センサの検出に基づいて、助手用ドアが開閉可能であるか否かと、を判断する。
そして、ドライバ用ドアが開閉可能でない場合、制御部は、第一アクチュエータにより、コンソール部材の少なくとも上部を、前後方向の後方へ後退させる。コンソール部材の少なくとも上部が前後方向の後方へ後退していることにより、ドライバは、ドライバシートから助手シートへ容易に移動することができる。ドライバは、突出しているコンソール部材を避けるように車内で足を折り畳んだりすることなく、容易にドライバシートから助手シートへ移動することができる。
また、助手用ドアが開閉可能でない場合、制御部は、第一アクチュエータにより、コンソール部材の少なくとも上部を、前後方向の後方へ後退させる。コンソール部材の少なくとも上部が前後方向の後方へ後退していることにより、助手は、助手シートからドライバシートへ容易に移動することができる。助手は、突出しているコンソール部材を避けるように車内で足を折り畳んだりすることなく、容易に助手シートからドライバシートへ移動することができる。
このように、本発明によれば、車両の反対側から乗降する際のドライバまたは助手の労力を軽減することができる。
【図面の簡単な説明】
【0010】
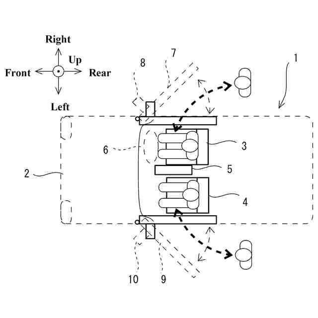
図1は、本発明の実施形態に係る自動車の車室を、上から透視した模式的な平面図である。
図2は、図1の自動車の左外に壁がある状態での、ドライバおよび助手の乗降の仕方の説明図である。
図3は、図1の自動車の降車補助装置の主な構成の説明図である。
図4は、図3の制御装置による、ドライバおよび助手の降車時制御の主たる処理のフローチャートである。
図5は、図4の降車時制御の残りの処理についての、フローチャートである。
図6は、ドライバがドライビングポジションにいる場合での、ドライバシートの位置およびコンソールボックスの位置の説明図である。
図7は、ドライバおよび助手が降車する際の、ドライバシートの位置およびコンソールボックスの位置の説明図である。
図8は、図3の制御装置による、ドライバおよび助手の乗車時制御の主たる処理のフローチャートである。
図9は、変形例に係る、上下二分割のコンソールボックスの説明図である。
図10は、図9の上下二分割のコンソールボックスの上部部材が、コンソールボックスの下部部材に対して最も後退している状態の説明図である。
【発明を実施するための形態】
(【0011】以降は省略されています)
この特許をJ-PlatPat(特許庁公式サイト)で参照する
関連特許
株式会社SUBARU
車両
6日前
株式会社SUBARU
電動式全輪駆動車
3日前
株式会社SUBARU
車両の降車補助装置
3日前
株式会社SUBARU
運転支援装置および車両
3日前
株式会社SUBARU
車体構造部材の結合構造
6日前
株式会社SUBARU
乗物用遮音構造体、及び車両
3日前
しげる工業株式会社
車両用レジスタ装置
10日前
個人
カーテント
4か月前
個人
タイヤレバー
2か月前
個人
前輪キャスター
1か月前
個人
上部一体型自動車
17日前
個人
車輪清掃装置
4か月前
個人
ルーフ付きトライク
2か月前
個人
タイヤ脱落防止構造
1か月前
個人
ホイルのボルト締結
3か月前
井関農機株式会社
作業車両
4か月前
個人
キャンピングトライク
4か月前
個人
マスタシリンダ
24日前
個人
車両通過構造物
2か月前
日本精機株式会社
表示装置
2か月前
日本精機株式会社
表示装置
2か月前
日本精機株式会社
表示装置
2か月前
日本精機株式会社
表示装置
2か月前
井関農機株式会社
作業車両
4か月前
個人
キャンピングトレーラー
4か月前
個人
車両用スリップ防止装置
3か月前
個人
ワイパーゴム性能保持具
5か月前
個人
アクセルのソフトウェア
3か月前
個人
乗合路線バスの客室装置
3か月前
日本精機株式会社
車室演出装置
1か月前
株式会社豊田自動織機
産業車両
2か月前
個人
車載小物入れ兼雨傘収納具
3か月前
株式会社ニフコ
収納装置
1か月前
日本精機株式会社
車載表示装置
3か月前
株式会社ニフコ
照明装置
2か月前
個人
音声ガイド、音声サービス
2か月前
続きを見る
他の特許を見る