TOP
|
特許
|
意匠
|
商標
特許ウォッチ
Twitter
他の特許を見る
公開番号
2025168488
公報種別
公開特許公報(A)
公開日
2025-11-07
出願番号
2025146057,2023172038
出願日
2025-09-03,2019-09-30
発明の名称
雨樋用曲がり配管及び雨樋システム
出願人
積水化学工業株式会社
代理人
個人
,
個人
,
個人
,
個人
主分類
E04D
13/08 20060101AFI20251030BHJP(建築物)
要約
【課題】デザイン性に優れた雨樋用曲がり配管を提供することを目的とする。
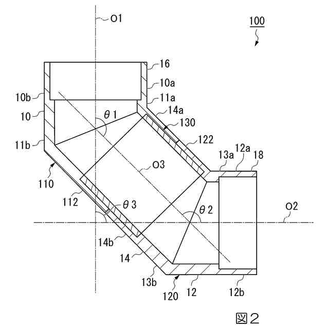
【解決手段】片側に第1受口部16を有する第1直管部10と、片側に第2受口部18を有する第2直管部12と、一端が第1直管部10の第1受口部16と反対側と繋がり、他端が第2直管部12の第2受口部18と反対側と繋がっている第3直管部14と、を備え、第1直管部10の軸線O1と第3直管部14の軸線O3とが交差し、かつ第2直管部12の軸線O2と第3直管部14の軸線O3とが交差している、雨樋用曲がり配管100。
【選択図】図2
特許請求の範囲
【請求項1】
片側に第1受口部を有する第1直管部と、
片側に第2受口部を有する第2直管部と、
一端が前記第1直管部の前記第1受口部と反対側と繋がり、他端が前記第2直管部の前記第2受口部と反対側と繋がっている第3直管部と、を備え、
前記第1直管部の軸線と前記第3直管部の軸線とが交差し、かつ前記第2直管部の軸線と前記第3直管部の軸線とが交差しており、
前記第1受口部の内径は、前記第1直管部の前記第1受口部以外の部分の内径よりも大きく、
前記第2受口部の内径は、前記第2直管部の前記第2受口部以外の部分の内径よりも大きく、
前記第1直管部の前記第1受口部以外の部分、前記第3直管部、及び前記第2直管部の前記第2受口部以外の部分の内面に段差を有しない、雨樋用曲がり配管。
続きを表示(約 400 文字)
【請求項2】
前記第1直管部の軸線、前記第2直管部の軸線、及び前記第3直管部の軸線が同一平面上にある、請求項1に記載の雨樋用曲がり配管。
【請求項3】
前記第1直管部及び前記第3直管部の前記第1直管部側の一部を有する屈曲した第1管部材と、前記第2直管部及び前記第3直管部の前記第2直管部側の残部を有する屈曲した第2管部材とが接続され、前記第3直管部に分割線を有する、請求項1又は2に記載の雨樋用曲がり配管。
【請求項4】
雨水を横引きする直管と、雨水を縦引きする直管と、請求項1~3のいずれか一項に記載の雨樋用曲がり配管と、を備え、
雨水を横引きする直管の挿口が、前記雨樋用曲がり配管の第1受口部内に受け入れられて接続され、
雨水を縦引きする直管の挿口が、前記雨樋用曲がり配管の第2受口部内に受け入れられて接続されている、雨樋システム。
発明の詳細な説明
【技術分野】
【0001】
本発明は、雨樋用曲がり配管及び雨樋システムに関する。
続きを表示(約 1,500 文字)
【背景技術】
【0002】
一般に、建築物には、屋根から流れ落ちる雨水を受け止め、地上へと流し込むための雨樋が設けられている。雨樋は、軒樋、集水器、竪樋、直管、曲がり配管(エルボ)等の部材が複数組み合わされて構成されている。
【0003】
雨樋において、雨水を横配管から縦配管に導く部分や、縦配管から横配管に導く部分には、直管同士を接続するための継手として曲がり配管が用いられる。例えば、特許文献1の図4には、サイフォン雨樋システムに用いる曲がり配管として、曲線的に90°曲がった曲管部を有するエルボが開示されている。また、特許文献1の図6には、曲線的に45°曲がった曲管部を有するエルボを組み合わせた組み合わせエルボが開示されている。
【先行技術文献】
【特許文献】
【0004】
特許第6279794号公報
【発明の概要】
【発明が解決しようとする課題】
【0005】
しかし、特許文献1の図4や図6に記載されているような従来の雨樋用曲がり配管は、凹凸が多数あり美観が悪く、デザイン性が乏しい。
【0006】
本発明は、デザイン性に優れた雨樋用曲がり配管を提供することを目的とする。
【課題を解決するための手段】
【0007】
本発明は、以下の態様を有する。
[1]片側に第1受口部を有する第1直管部と、
片側に第2受口部を有する第2直管部と、
一端が前記第1直管部の前記第1受口部と反対側と繋がり、他端が前記第2直管部の前記第2受口部と反対側と繋がっている第3直管部と、を備え、
前記第1直管部の軸線と前記第3直管部の軸線とが交差し、かつ前記第2直管部の軸線と前記第3直管部の軸線とが交差している、雨樋用曲がり配管。
[2]前記第1直管部の軸線、前記第2直管部の軸線、及び前記第3直管部の軸線が同一平面上にある、[1]に記載の雨樋用曲がり配管。
[3]前記第1直管部及び前記第3直管部の前記第1直管部側の一部を有する屈曲した第1管部材と、前記第2直管部及び前記第3直管部の前記第2直管部側の残部を有する屈曲した第2管部材とが接続され、前記第3直管部に分割線を有する、[1]又は[2]に記載の雨樋用曲がり配管。
【発明の効果】
【0008】
本発明によれば、デザイン性に優れた雨樋用曲がり配管を提供できる。
【図面の簡単な説明】
【0009】
本発明の雨樋用曲がり配管の第1実施形態を説明する正面図である。
図1の雨樋用曲がり配管の縦断面図である。
本発明の雨樋用曲がり配管の第2実施形態を説明する縦断面図である。
本発明の雨樋用曲がり配管の第1実施形態を説明する正面図である。
図1の雨樋用曲がり配管の縦断面図である。
本発明の雨樋用曲がり配管を備えるサイフォン雨樋システムの一実施形態例を説明する概略構成図である。
【発明を実施するための形態】
【0010】
本発明の雨樋用曲がり配管は、例えば、サイフォン雨樋システムに用いることができる。
以下、本発明の雨樋用曲がり配管の実施形態について、図面を参照して説明する。なお、以下の説明において例示される図の寸法等は一例であって、本発明はそれらに必ずしも限定されるものではなく、その要旨を変更しない範囲で適宜変更して実施することが可能である。
(【0011】以降は省略されています)
この特許をJ-PlatPat(特許庁公式サイト)で参照する
関連特許
積水化学工業株式会社
集合継手
25日前
積水化学工業株式会社
製管装置
23日前
積水化学工業株式会社
雨樋システム
4日前
積水化学工業株式会社
配管の接続構造
17日前
積水化学工業株式会社
更生管の製管装置
23日前
積水化学工業株式会社
基板積層体の製造方法
1日前
積水化学工業株式会社
基板積層体の製造方法
4日前
積水化学工業株式会社
配管構造及びプレハブ配管
22日前
積水化学工業株式会社
配管構造及びプレハブ配管
22日前
積水化学工業株式会社
竪樋支持具および排水システム
4日前
積水化学工業株式会社
軒樋支持具および雨樋システム
22日前
積水化学工業株式会社
熱膨張性マイクロカプセル用組成物
3日前
積水化学工業株式会社
継手
1日前
積水化学工業株式会社
防食用粘着テープ
15日前
積水化学工業株式会社
施工管理システム
9日前
積水化学工業株式会社
集合継手及び配管構造
1日前
積水化学工業株式会社
電気融着継手、配管システム、配管付き電気融着継手、及び配管更生構造
4日前
積水化学工業株式会社
集合継手および継手構造
22日前
積水化学工業株式会社
雨樋用曲がり配管及び雨樋システム
1日前
積水化学工業株式会社
フレキシブルGHLC素子用シール剤
22日前
積水化学工業株式会社
排水口用保護具及びルーフドレーンの施工方法
22日前
積水化学工業株式会社
導電性粒子、ソケット、導電材料及び接続構造体
15日前
積水化学工業株式会社
補強用接着シートおよびその巻回体並びに風力発電用ブレードの補修方法および風力発電用ブレード
10日前
積水化学工業株式会社
調光素子用シール剤、硬化性樹脂組成物の調光素子用シール剤としての使用、調光素子、及び、合わせガラス
23日前
積水化学工業株式会社
区画貫通処理構造、区画貫通処理材及び区画貫通処理構造の施工方法
25日前
積水化学工業株式会社
区画貫通処理構造、区画貫通処理材、及び区画貫通処理構造の施工方法
9日前
積水化学工業株式会社
ポリオール組成物、難燃性ウレタン樹脂組成物、及びポリウレタン発泡体
25日前
積水化学工業株式会社
ポリオール含有組成物、発泡性ウレタン樹脂組成物、及びポリウレタン発泡体
15日前
積水化学工業株式会社
アレルゲン低減化剤、アレルゲン低減化溶液、アレルゲン低減化塗料、樹脂組成物、アレルゲン低減化製品及びアレルゲン低減化方法
18日前
積水化学工業株式会社
調光素子用シール剤、硬化性樹脂組成物の調光素子用シール剤としての使用、調光素子、及び、合わせガラス
11日前
個人
接合構造
1か月前
個人
屋台
1か月前
個人
タッチミー
1か月前
個人
野良猫ハウス
2か月前
個人
転落防止用手摺
2か月前
個人
フェンス
2か月前
続きを見る
他の特許を見る