TOP
|
特許
|
意匠
|
商標
特許ウォッチ
Twitter
他の特許を見る
公開番号
2024180208
公報種別
公開特許公報(A)
公開日
2024-12-26
出願番号
2023109659
出願日
2023-06-16
発明の名称
光造形装置
出願人
シーメット株式会社
代理人
主分類
B29C
64/25 20170101AFI20241219BHJP(プラスチックの加工;可塑状態の物質の加工一般)
要約
【課題】適切な湿度でない環境下でも、造形不具合を起こさない光造形装置を提供する。
【解決手段】光造形装置を槽21を含む遮断領域と、それ以外の非遮断領域に分け、遮断領域を隔壁で仕切ることで、外気の流入を遮断し、外部湿度によらず一定の湿度で光造形を行うことができ、品質の高い光造形物を得ることができる。
【選択図】図2
特許請求の範囲
【請求項1】
構成する部品が非遮断領域と遮断領域に区分され、非遮断領域と遮断領域の間が隔壁によって仕切られ遮断領域が外気から密閉されることによって、外気の湿度が変化しても遮断領域の湿度の変化が抑えられた光造形装置
続きを表示(約 170 文字)
【請求項2】
遮断領域の中に、調湿装置を設置することで、遮断領域の湿度が外気の湿度に近づくことを防ぐことができる請求項1に記載の光造形装置
【請求項3】
調湿装置が、光造形装置と独立に制御される請求項2に記載の光造形装置
【請求項4】
調湿装置が、光造形装置の一部として制御される請求項2に記載の光造形装置
発明の詳細な説明
【技術分野】
【0001】
本発明は、液槽光重合法(Vat Photopolymerization)または光造形法と呼ばれる方式の3Dプリンターに関する。より詳しくは、造形物を製造する際に、外気の湿度に造形品質が影響されないことを目的とした調湿機構を備える光造形装置に関する。
続きを表示(約 2,100 文字)
【背景技術】
【0002】
近年、三次元CADに入力されたデータに基づいて光造形用樹脂(液状の光硬化性樹脂組成物)を立体的に光学造形する方法が、金型などを作製することなく目的とする立体造形物を良好な寸法精度で製造し得ることから、広く採用されるようになっている。
光造形法の代表的な例のひとつとしては、容器に入れた光造形用樹脂の液面に所望のパターンが得られるようにコンピューターで制御された紫外線レーザを選択的に照射して所定厚みを硬化させ、ついで該硬化層の上に1層分の光造形用樹脂を供給し、同様に紫外線レーザで照射硬化させ、連続した硬化層を得る積層操作を繰り返すことによって最終的に光造形物を得る方法を挙げることができる。
【0003】
紫外線レーザの代わりに青色レーザを用いたり、DLPなどのデバイスや光マスクなどを用いて直接1層のパターンを照射して硬化する、所謂面露光という方式を用いても良い。
【0004】
光造形用樹脂としてはアクリル樹脂が用いられてきたが、アクリル樹脂は硬化収縮が大きいため得られる光造形物の寸法精度が反りなどによって悪化する。そこで硬化収縮率の少ないエポキシ樹脂を加えた、エポキシ-アクリル混合樹脂(ハイブリッド樹脂)が使われるようになった(例えば、非特許文献1および2を参照)。
【0005】
しかしカチオン重合するエポキシ樹脂を含む光造形用樹脂では、水分の含有量が多くなると光硬化感度が大きく低下し、造形性が不良になったり、得られる光造形物の特性が不良になる。一方で水分が全く含まれない場合にも光硬化感度が低下して光造形性が悪くなることが知られていて(非特許文献2を参照)、光硬化感度、光造形性を良好に維持するためには、カチオン重合性有機化合物を含む光造形用樹脂は、0.3~1質量%(3000~10000ppm)程度の水分を含有する必要があると言われている。
我国においては、梅雨どきや夏場の湿度の高い季節には、光造形用樹脂は、外部からの水分を多量に含んだ空気中から徐々に水が樹脂に溶け込んで、その水分含量は1質量%またはそれ以上になっていることがあり、光硬化感度が低下して光造形性が悪くなる。一方、冬場などの乾燥期には、光学的立体造形用樹脂組成物中の水分含量は0.3質量%以下になっていることが多い。そのため、カチオン重合性有機化合物を含む光造形用樹脂では、夏場の湿度の高い季節には、低下した光硬化感度を補うために照射する光の量を上げたり、冬場などの乾燥期には、組成物に外部からいちいち水を添加して光造形用樹脂の水分含量を前記した0.3~1質量%に調整して光造形に用いる必要があり、光造形用樹脂における水分含量の管理および調整に手間がかかっている。
【0006】
また、組成物に外部から水を添加しても、外気が著しく湿度が低い場合には、光造形装置に収納された光造形用樹脂の全体での水分量が適切な範囲にあっても、表層、例えば1mmの光造形用樹脂の水分含量が低くなる。実際に光造形装置に収納された光造形用樹脂をよく攪拌してサンプリングすると水分量が0.5%であっても、表層の光造形用樹脂のみをサンプリングした場合の水分量は0.2%であり、造形に不具合を起こしていた。
【0007】
光造形用樹脂の水分含量を一定にする方法として、光造形装置の設置されている部屋の湿度を空調装置によって恒温恒湿に保つことが考えられる。しかし光造形装置の設置されている部屋は工場の一部のような場所が多く、広い空間を共用していることが多い。そのため温度を一定に保つことはできても、湿度を一定に保つことは困難で、夏場は相対湿度が80%を超え、冬場は20%を下回るようなことが恒常的に起こり、恒湿な環境を用意することは極めて困難である。
【0008】
そこで、市販の加湿器や除湿機を稼働させても、性能が不十分で光造形装置周囲の湿度を一定に保つことはできず、光造形用樹脂の水分含量が光硬化感度、光造形性が低下するまでの時間を長くすることしかできなかった。
【0009】
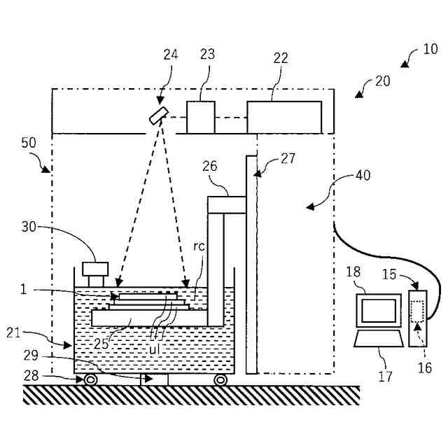
また、水分量を一定に保った状態で造形を行うために、光造形装置を外気と十分に遮断し、内部の湿度を一定にすることが考えられる。しかし数百kgの光造形用樹脂を搭載した光造形装置は、キャスターの付いた樹脂槽が、光造形用装置の中に収納される形態となっており、特に装置下部は空間が連通している。そのため、外装カバーは紫外線レーザなどが外部に漏れ出さない程度の密閉性しかなく、気密性はほとんど有していなかった。
【0010】
さらに、加湿器を造形機の内部に設置した場合、光造形装置は気密性をほとんど有していないために、補給用の水が速やかに消費され、夜間運転時は深夜に補給用の水が枯渇するため、長時間の連続運転をすることは困難であった。
【先行技術文献】
(【0011】以降は省略されています)
この特許をJ-PlatPat(特許庁公式サイト)で参照する
関連特許
個人
気泡緩衝材減容装置
11日前
東レ株式会社
吹出しノズル
10か月前
豊田鉄工株式会社
金型
2か月前
シーメット株式会社
光造形装置
9か月前
CKD株式会社
型用台車
9か月前
個人
射出ミキシングノズル
12か月前
東レ株式会社
フィルムの製造方法
3か月前
東レ株式会社
フィルムの製造方法
6か月前
東レ株式会社
フィルムの製造方法
2か月前
グンゼ株式会社
ピン
9か月前
株式会社日本製鋼所
押出機
12か月前
個人
樹脂可塑化方法及び装置
8か月前
日機装株式会社
加圧システム
5か月前
株式会社FTS
ロッド
8か月前
東レ株式会社
フィルムの製造方法。
2か月前
株式会社カワタ
計量混合装置
4か月前
東レ株式会社
樹脂フィルムの製造方法
4か月前
トヨタ自動車株式会社
射出装置
7か月前
NOK株式会社
樹脂ゴム複合体
1か月前
株式会社漆原
シートの成形方法
4か月前
株式会社FTS
成形装置
9か月前
株式会社シロハチ
真空チャンバ
11か月前
株式会社不二越
射出成形機
6か月前
株式会社不二越
射出成形機
6か月前
株式会社コスメック
射出成形装置
4か月前
株式会社不二越
射出成形機
6か月前
株式会社FTS
セパレータ
8か月前
東レ株式会社
炭素繊維シートの製造方法
5か月前
株式会社不二越
射出成形機
1か月前
株式会社不二越
射出成形機
4か月前
株式会社神戸製鋼所
混練機
7か月前
株式会社リコー
画像形成システム
10か月前
三和合板株式会社
化粧板の製造装置
1か月前
株式会社ニフコ
樹脂製品の製造方法
11か月前
コイト電工株式会社
フレーム成形品
26日前
東レ株式会社
繊維強化プラスチック構造体
1か月前
続きを見る
他の特許を見る