TOP
|
特許
|
意匠
|
商標
特許ウォッチ
Twitter
他の特許を見る
公開番号
2025054971
公報種別
公開特許公報(A)
公開日
2025-04-08
出願番号
2023164232
出願日
2023-09-27
発明の名称
射出成形機
出願人
株式会社不二越
代理人
個人
,
個人
主分類
B29C
45/76 20060101AFI20250401BHJP(プラスチックの加工;可塑状態の物質の加工一般)
要約
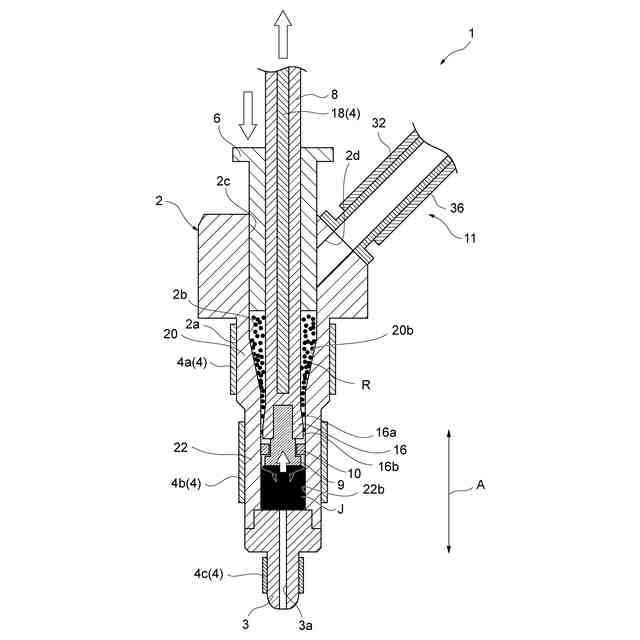
【課題】バレル内に充填された成形材料の量の算出精度を向上することができる射出成形機を提供する。
【解決手段】射出成形機1は、バレル2と、ノズル3と、プランジャ6と、トーピード16を有するロッド8と、ヘッド9と、バレルの内部に供給された成形材料を加熱するヒータ4と、バレル2の内部におけるトーピード16とノズル3との間に充填された可塑化した樹脂原料を充填樹脂として、軸方向Aにおけるロッド8の位置と、充填樹脂からロッド8へかかる荷重と、ヒータ4の温度とに基づいて、充填樹脂の充填率を算出する制御装置12とを備える。
【選択図】図1
特許請求の範囲
【請求項1】
一方向に延在する中空のバレルと、
前記バレルの前記一方向における一端側に設けられ、前記バレル内で可塑化した成形材料を射出するノズルと、
前記バレルの内部に供給された前記成形材料を前記ノズル側へ押し出す押出部と、
前記押出部を貫通して前記バレルの前記一方向に延在し、前記押出部よりも前記ノズル側の端部にトーピードを有するロッドと、
前記ロッドにおける前記ノズル側の端部に設けられたヘッドと、
前記バレルの内部に供給された前記成形材料を加熱する加熱部と、
前記バレルの内部における前記トーピードと前記ノズルとの間に充填された可塑化した前記成形材料を充填材料として、前記一方向における前記ロッドの位置と、前記充填材料から前記ロッドへかかる荷重と、前記加熱部の温度とに基づいて、前記充填材料の充填量に関する情報を算出する制御装置と、
を備えることを特徴とする射出成形機。
続きを表示(約 930 文字)
【請求項2】
前記制御装置は、前記充填材料の充填量に関する情報として、前記充填材料の充填率を算出することを特徴とする請求項1に記載の射出成形機。
【請求項3】
前記ロッドへかかる荷重は、前記押出部により前記成形材料を前記トーピードと前記ノズルとの間に前記充填材料として押し出した際に、前記ロッドが前記充填材料から受ける荷重であることを特徴とする請求項1又は2に記載の射出成形機。
【請求項4】
前記加熱部は、前記バレルに対して設けられた第1加熱部と、前記ノズルに対して設けられた第2加熱部と、前記ロッドに対して設けられた第3加熱部とを有しており、
前記制御装置は、前記加熱部の温度として、前記第1加熱部と、前記第2加熱部と、前記第3加熱部との各温度を用い、前記充填材料の充填量に関する情報を算出することを特徴とする請求項1又は2に記載の射出成形機。
【請求項5】
前記制御装置は、前記充填材料の充填量に関する情報に基づいて、前記バレルへ供給する可塑化前の前記成形材料の供給量を設定することを特徴とする請求項1又は2に記載の射出成形機。
【請求項6】
一方向に延在する中空のバレルと、
前記バレルの前記一方向における一端側に設けられ、前記バレル内で可塑化した成形材料を射出するノズルと、
前記バレルの内部に供給された前記成形材料を前記ノズル側へ押し出す押出部と、
前記押出部を貫通して前記バレルの前記一方向に延在し、前記押出部よりも前記ノズル側の端部にトーピードを有するロッドと、
前記ロッドにおける前記ノズル側の端部に設けられたヘッドと、
前記バレルの内部に供給された前記成形材料を加熱する加熱部と、
前記加熱部の温度を検出する温度センサと、
前記一方向における前記ロッドの位置を検出する位置センサと、
前記バレルの内部における前記トーピードと前記ノズルとの間に充填された可塑化した前記成形材料を充填材料として、前記充填材料から前記ロッドへかかる荷重を検出する荷重センサと、
を備えることを特徴とする射出成形機。
発明の詳細な説明
【技術分野】
【0001】
本発明は、射出成形機に関する。
続きを表示(約 1,300 文字)
【背景技術】
【0002】
例えば自動車等の樹脂製部品の中には、樹脂原料等の成形材料を金型に射出する射出成形機を用いて成形されているものがある。射出成形機においては、射出した樹脂量と供給する樹脂量とのバランスにより、材料過多や材料不足が生じる可能性がある。
【0003】
例えば特許文献1においては、プランジャのバレル内の位置を検出して樹脂の量を把握することが開示されている。
【先行技術文献】
【特許文献】
【0004】
特開昭60-87030号公報
【発明の概要】
【発明が解決しようとする課題】
【0005】
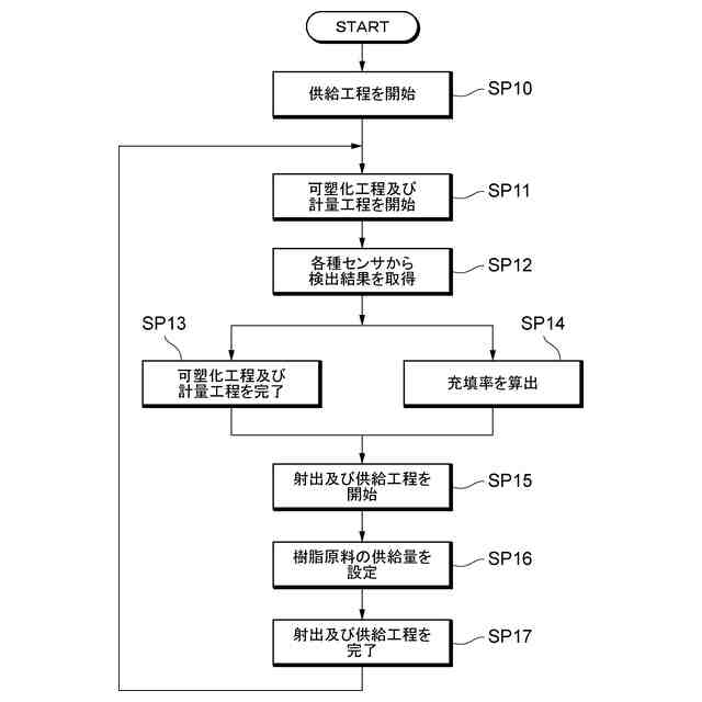
しかしながら、例えば使用する樹脂原料の種類を切り替える場合、樹脂原料は、種類や大きさが変化することとなる。可塑化前の樹脂原料は例えばペレット状となっていることから、隙間や溶融性等が樹脂原料によって異なる。このため、樹脂量としては等しくても、プランジャの位置が樹脂原料により異なることが考えられ、材料過多や材料不足が生じる可能性がある。
【0006】
上記課題に鑑み、本発明は、バレル内に充填された成形材料の量の算出精度を向上することができる射出成形機を提供することを目的とする。
【課題を解決するための手段】
【0007】
上記課題を解決するために、本発明に係る射出成形機は、一方向に延在する中空のバレルと、前記バレルの前記一方向における一端側に設けられ、前記バレル内で可塑化した成形材料を射出するノズルと、前記バレルの内部に供給された前記成形材料を前記ノズル側へ押し出す押出部と、前記押出部を貫通して前記バレルの前記一方向に延在し、前記押出部よりも前記ノズル側の端部にトーピードを有するロッドと、前記ロッドにおける前記ノズル側の端部に設けられたヘッドと、前記バレルの内部に供給された前記成形材料を加熱する加熱部と、前記バレルの内部における前記トーピードと前記ノズルとの間に充填された可塑化した前記成形材料を充填材料として、前記一方向における前記ロッドの位置と、前記充填材料から前記ロッドへかかる荷重と、前記加熱部の温度とに基づいて、前記充填材料の充填量に関する情報を算出する制御装置と、を備える。
【0008】
また、前記制御装置は、前記充填材料の充填量に関する情報として、前記充填材料の充填率を算出する。
【0009】
また、前記ロッドへかかる荷重は、前記押出部により前記成形材料を前記トーピードと前記ノズルとの間に前記充填材料として押し出した際に、前記ロッドが前記充填材料から受ける荷重である。
【0010】
また、前記加熱部は、前記バレルに対して設けられた第1加熱部と、前記ノズルに対して設けられた第2加熱部と、前記ロッドに対して設けられた第3加熱部とを有しており、前記制御装置は、前記加熱部の温度として、前記第1加熱部と、前記第2加熱部と、前記第3加熱部との各温度を用い、前記充填材料の充填量に関する情報を算出する。
(【0011】以降は省略されています)
この特許をJ-PlatPat(特許庁公式サイト)で参照する
関連特許
株式会社不二越
ドリル
1か月前
株式会社不二越
硬質材料
13日前
株式会社不二越
ブローチ盤
1か月前
株式会社不二越
転がり軸受
1か月前
株式会社不二越
ブローチ盤
13日前
株式会社不二越
射出成形機
1か月前
株式会社不二越
電磁切替弁
1か月前
株式会社不二越
駆動伝達装置
1か月前
株式会社不二越
熱処理システム
23日前
株式会社不二越
保持器付き軸受
1か月前
株式会社不二越
アクチュエータ
23日前
株式会社不二越
ノンリーク三方弁
3日前
株式会社不二越
油圧駆動システム
1か月前
株式会社不二越
ロボット操作装置
29日前
株式会社不二越
ロボットシステム
1か月前
株式会社不二越
ロボットシステム
24日前
株式会社不二越
ロボットシステム
21日前
株式会社不二越
エッジ仕上げ装置
13日前
株式会社不二越
ロボットシステム
1か月前
株式会社不二越
垂直多関節ロボット
14日前
株式会社不二越
スカイビング加工機
1か月前
株式会社不二越
スカイビング加工機
1か月前
株式会社不二越
複合アクチュエータ
3日前
株式会社不二越
協働ロボットシステム
2か月前
株式会社不二越
移動ロボットシステム
3日前
株式会社不二越
可変容量制御ピストンポンプ
3日前
株式会社不二越
X線回折測定装置及びプログラム
3日前
株式会社不二越
X線回折測定装置及びプログラム
1か月前
株式会社不二越
センサ及びセンサを備えるロボット
29日前
株式会社不二越
マルテンサイト系ステンレス鋼焼結体
1か月前
株式会社不二越
マルテンサイト系ステンレス鋼焼結体
1か月前
株式会社不二越
データ修復機能を有する回路システム
27日前
株式会社不二越
マルテンサイト系ステンレス鋼焼結体
1か月前
株式会社不二越
ロボット制御装置及びロボット制御方法
1か月前
株式会社不二越
物体検出システム及びロボットシステム
1か月前
株式会社不二越
歯車加工用合金鋼およびそれを用いた歯車
13日前
続きを見る
他の特許を見る