TOP
|
特許
|
意匠
|
商標
特許ウォッチ
Twitter
他の特許を見る
10個以上の画像は省略されています。
公開番号
2025007040
公報種別
公開特許公報(A)
公開日
2025-01-17
出願番号
2023108174
出願日
2023-06-30
発明の名称
鉄筋コンクリート構造物の製造方法
出願人
鉄建建設株式会社
代理人
個人
,
個人
,
個人
主分類
B28B
23/02 20060101AFI20250109BHJP(セメント,粘土,または石材の加工)
要約
【課題】鉄筋コンクリート構造物を構築する型枠に対する所定位置への管体の保持及び保持の解消を容易に行うことができる鉄筋コンクリート構造物の製造方法を提供することを目的とする。
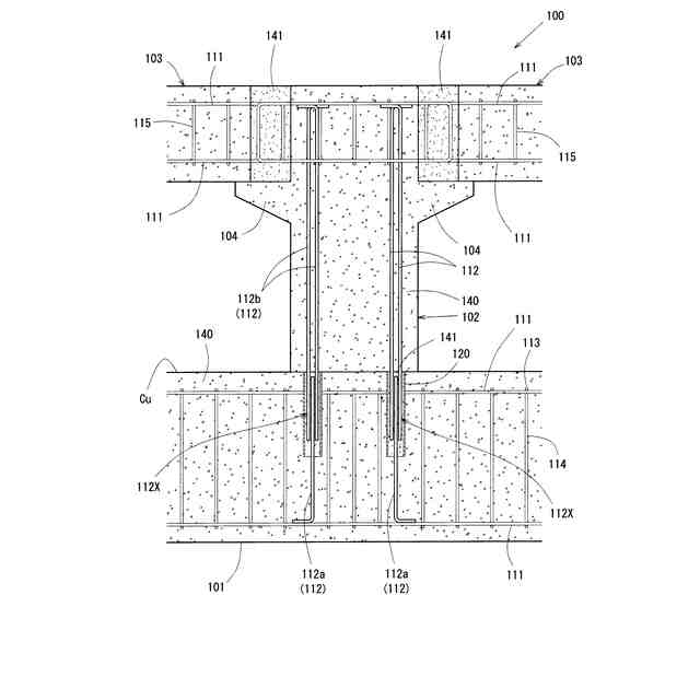
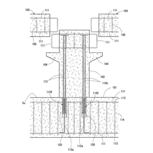
【解決手段】コンクリート140と、内部に配筋される鉛直方向軸鉄筋112と、鉛直方向軸鉄筋112における継手部112Xに外嵌する鋼管120とが埋設された鉄筋コンクリート構造物100は、鉛直方向軸鉄筋112を構成する下側鉛直方向軸鉄筋112aが埋設された基礎部101と、鉛直方向軸鉄筋112を構成する上側鉛直方向軸鉄筋112bが埋設された柱部102とで構成するとともに、鋼管120は基礎部101において上部が開口可能に上端に配置され、フレッシュコンクリートを打設して基礎部101を構築する型枠130に対する所定位置に鋼管固定器具1で脱着可能に鋼管120を保持する。
【選択図】図3
特許請求の範囲
【請求項1】
コンクリートと、該コンクリートの内部に配筋される軸方向鉄筋と、該軸方向鉄筋における継手箇所の少なくとも一部に外嵌する所定長さの管体とが埋設された鉄筋コンクリート構造物の製造方法であって、
前記鉄筋コンクリート構造物は、下方に配置され、前記軸方向鉄筋を構成する第1軸方向鉄筋が埋設された第1コンクリート部材と、前記第1コンクリート部材の上方に配置され、前記軸方向鉄筋を構成する第2軸方向鉄筋が埋設された第2コンクリート部材とで構成するとともに、前記管体は前記第1コンクリート部材において上部が開口可能に上端に配置され、
フレッシュコンクリートを打設して前記第1コンクリート部材を構築する型枠に対する所定位置に保持部材で脱着可能に前記管体を保持し、
前記保持部材で前記管体を保持した状態で前記フレッシュコンクリートを前記型枠の内部に打設し、
前記フレッシュコンクリートの硬化後に前記保持部材による前記管体の保持を解消する
鉄筋コンクリート構造物の製造方法。
続きを表示(約 760 文字)
【請求項2】
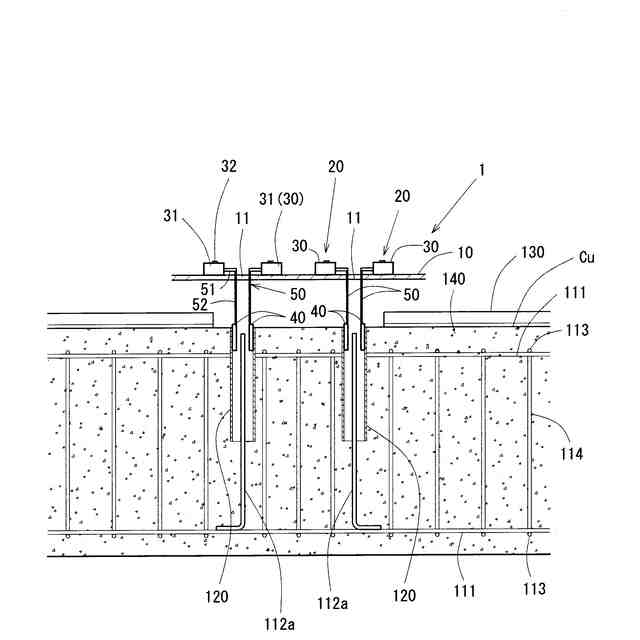
前記型枠の上方に支持台を設けるとともに、
前記保持部材に、
前記支持台に載置する固定部と、
前記管体を保持する保持部本体と、
前記固定部から前記保持部本体を吊り下げるアームとが備えられ、
前記支持台に載置された前記固定部から前記アームを介して吊り下げられた前記保持部本体で前記管体を吊り下げ保持する
請求項1に記載の鉄筋コンクリート構造物の製造方法。
【請求項3】
前記管体の内周面に対して周方向に所定間隔を隔てて複数の前記保持部本体で保持する
請求項2に記載の鉄筋コンクリート構造物の製造方法。
【請求項4】
前記保持部本体は、磁気をON/OFF切り替え可能な磁石である
請求項2に記載の鉄筋コンクリート構造物の製造方法。
【請求項5】
前記保持部本体に磁気のON/OFF切り替えを操作する操作部が設けられた
請求項4に記載の鉄筋コンクリート構造物の製造方法。
【請求項6】
前記固定部に磁気のON/OFF切り替えを操作する操作部が設けられた
請求項4に記載の鉄筋コンクリート構造物の製造方法。
【請求項7】
前記保持部本体は、前記管体の内周面に対して周方向に所定間隔を隔てて当接する複数の当接部を有し、
複数の前記当接部を前記管体の内周面に対して周方向に所定間隔を隔てて当接させて保持する
請求項4に記載の鉄筋コンクリート構造物の製造方法。
【請求項8】
前記支持台は、コンクリート天端に対して所定の間隔を隔てて配置された
請求項2乃至請求項7のうちいずれかに記載の鉄筋コンクリート構造物の製造方法。
発明の詳細な説明
【技術分野】
【0001】
この発明は、例えば、異形鉄筋などの軸方向鉄筋が埋設された鉄筋コンクリート構造物の製造方法に関する。
続きを表示(約 1,500 文字)
【背景技術】
【0002】
従来より、圧縮力に対する耐力は高いものの、引張力に対する耐力が低いコンクリートの内部に、引張強度が高い鉄筋を配置した鉄筋コンクリート構造物がたくさん建造されている。このような鉄筋コンクリート構造物は、各鉄筋コンクリート部材で構成されている。
【0003】
鉄筋コンクリート部材では、コンクリート内部に、設計荷重によって応力が算定された、部材長手方向に延びる軸方向鉄筋(主筋ともいう)、軸方向鉄筋に対して直角に配置され、応力を分散させる配力筋、軸方向鉄筋を取り囲む横方向鉄筋であるスターラップ、あるいは軸方向鉄筋の座屈防止とせん断補強のために、軸方向鉄筋を取り囲んで直角に配置される帯鉄筋などが配筋されている。
【0004】
このような構造の鉄筋コンクリート部材において、例えば、柱部などのように高さのある鉄筋コンクリート部材の場合、鉄筋コンクリート部材を上下に分断して構築することがある。この場合、軸方向鉄筋も分断し、専用の継手部品を用いて応力伝達可能に軸方向鉄筋を接続する。
【0005】
例えば、特許文献1に記載のコンクリート部材の接合構造では、継手部分に専用品を用いることなく、鉄筋の軸方向に沿って作用する引張方向の力に対する強度を確保することが提案されている。
詳しくは、特許文献1コンクリート部材の接合構造は、開口部を有する中空状の管体(補強部材)と、管体の内側に端部が突出するように埋設された第1鉄筋とを備えた第1コンクリート部材と、第2接合面から端部が突出するように埋設された第2鉄筋を備えた第2コンクリート部材とを対向させて、第2鉄筋の端部が開口部から管体の内側に挿入され、第1鉄筋の端部と第2鉄筋の端部とが管体の軸方向に沿って重なった状態で管体の内側に充填した硬化剤が硬化することで接合するものである。
【0006】
上述の接合構造では、第2コンクリート部材の第2接合面から突出する第2鉄筋を、第1コンクリート部材に設け、第1鉄筋が埋設された中空状の管体(補強部材)に挿入するため、第1コンクリート部材に対して中空状の管体(補強部材)を所定の位置に精度よく設置する必要があった。
【0007】
そのため、フレッシュコンクリートを打設して第1コンクリート部材を構築する型枠に対して管体(補強部材)を、所定位置に配置できるように形成されたガイドプレートに溶接等であらかじめ固定していた。そして、型枠にフレッシュコンクリートを打設し、打設したフレッシュコンクリートが硬化してからガイドプレートを撤去することで、第1コンクリート部材に対する所定位置に中空状の管体(補強部材)を所定の位置に精度よく設置していた。
【0008】
しかしながら、ガイドプレートに対して溶接等で管体(補強部材)を固定する作業も、フレッシュコンクリートの硬化後に溶接部分を切断してガイドプレートを撤去する作業も、非常に手間も時間も要するため、鉄筋コンクリート部材を効率よく製造することはできなかった。
【先行技術文献】
【特許文献】
【0009】
特開2020-29721号公報
【発明の概要】
【発明が解決しようとする課題】
【0010】
この発明は、上述した問題を鑑み、鉄筋コンクリート構造物を構築する型枠に対する所定位置への管体の保持及び保持の解消を容易に行うことができる鉄筋コンクリート構造物の製造方法を提供することを目的とする。
【課題を解決するための手段】
(【0011】以降は省略されています)
この特許をJ-PlatPat(特許庁公式サイト)で参照する
関連特許
鉄建建設株式会社
立坑の構築装置、及び立坑の構築方法
1か月前
鉄建建設株式会社
立坑の構築装置、及び立坑の構築方法
1か月前
鉄建建設株式会社
切羽面評価支援システム、及び切羽面評価支援方法
1か月前
東日本旅客鉄道株式会社
深礎基礎および深礎基礎の施工方法
4日前
峰岸株式会社
ドリルビット
8か月前
株式会社大林組
形成方法
9か月前
株式会社丸高工業
湿式穿孔工具
8か月前
株式会社大林組
積層材成型方法
2か月前
ジャパンライフ株式会社
段差形成治具
11か月前
株式会社大林組
形成方法及び形成装置
8か月前
株式会社コンセック
ワイヤーソー装置
10か月前
株式会社大林組
構造体の製造方法
4か月前
株式会社大林組
構造体の製造方法
4か月前
株式会社シブヤ
穿孔装置
3か月前
個人
石膏板の製造方法
1か月前
株式会社エアテックジャパン
粗面加工工具
12か月前
セレンディクス株式会社
建築物の製造方法
2か月前
モリ技巧株式会社
コンクリートスラリー処理装置
10か月前
セレンディクス株式会社
構造物の製造方法
1か月前
株式会社奥村組
積層コンクリート集合体の養生方法
5か月前
株式会社マキタ
作業機
9か月前
芝浦メカトロニクス株式会社
基板分離装置
5か月前
戸田建設株式会社
打設現場におけるスランプの調整方法
4か月前
株式会社Polyuse
造形物の製造方法
8か月前
株式会社Polyuse
構造物の製造方法
8か月前
シンクス株式会社
室内ボード面の穴開け加工装置
11か月前
本多産業株式会社
コンクリート離型剤
2か月前
株式会社熊谷組
骨材管理システムおよび骨材管理方法
2か月前
株式会社エンプラス
流体取扱装置
10か月前
カヤバ株式会社
ミキサドラム制御装置
9か月前
鹿島建設株式会社
フレッシュコンクリートの製造方法
5か月前
カヤバ株式会社
ミキサドラムの制御装置
6か月前
株式会社大林組
構造物形成方法及び構造物形成システム
4か月前
鹿島建設株式会社
境界ブロックの製作方法および境界ブロック
3か月前
株式会社冨士機
生コンクリート製造プラント
9か月前
三井金属鉱業株式会社
構造体製造装置及び構造体製造方法
11か月前
続きを見る
他の特許を見る