TOP
|
特許
|
意匠
|
商標
特許ウォッチ
Twitter
他の特許を見る
10個以上の画像は省略されています。
公開番号
2025059782
公報種別
公開特許公報(A)
公開日
2025-04-10
出願番号
2023170082
出願日
2023-09-29
発明の名称
基板分離装置
出願人
芝浦メカトロニクス株式会社
代理人
弁理士法人iX
主分類
B28D
5/04 20060101AFI20250403BHJP(セメント,粘土,または石材の加工)
要約
【課題】チャックと基板との間に液体が侵入するのを抑制することができる基板分離装置を提供することである。
【解決手段】実施形態に係る基板分離装置は、一対の基板が貼り合わされた貼合基板の一方の面を吸着保持する第1のチャックと、前記貼合基板の他方の面を吸着保持する第2のチャックと、前記第1のチャック、および前記第2のチャックに接続された排気部と、前記第1のチャック、および前記第2のチャックを回転させる駆動部と、前記貼合基板の側面に液体を噴射するノズルと、を備えている。前記第1のチャックは、前記排気部に接続された第1の凹部と、第2の凹部と、有している。前記第1の凹部は、前記第1のチャックの前記貼合基板側の第1の面に開口している。前記第2の凹部は、前記第1の面の、前記第1の凹部が開口する領域と、前記第1の面の周縁と、の間の領域に開口している。
【選択図】図2
特許請求の範囲
【請求項1】
一対の基板が貼り合わされた貼合基板の一方の面を吸着保持する第1のチャックと、
前記貼合基板の他方の面を吸着保持する第2のチャックと、
前記第1のチャック、および前記第2のチャックに接続された排気部と、
前記第1のチャック、および前記第2のチャックを回転させる駆動部と、
前記貼合基板の側面に液体を噴射するノズルと、
を備え、
前記第1のチャックは、前記排気部に接続された第1の凹部と、第2の凹部と、有し、
前記第1の凹部は、前記第1のチャックの前記貼合基板側の第1の面に開口し、
前記第2の凹部は、前記第1の面の、前記第1の凹部が開口する領域と、前記第1の面の周縁と、の間の領域に開口している基板分離装置。
続きを表示(約 790 文字)
【請求項2】
前記第1のチャックは、一方の端部が前記第2の凹部に接続され、他方の端部が前記第1のチャックの側面に開口する孔をさらに有する請求項1記載の基板分離装置。
【請求項3】
前記第2の凹部は、枠状を呈し、前記第1の凹部が開口する領域を囲んでいる請求項1または2に記載の基板分離装置。
【請求項4】
前記第2の凹部は、前記第1の面の周縁に沿って延びている請求項1または2に記載の基板分離装置。
【請求項5】
前記第2の凹部と、前記第1の面の周縁と、の間の距離は、前記第2の凹部と、前記第1の凹部と、の間の距離よりも短い請求項1または2に記載の基板分離装置。
【請求項6】
前記第2のチャックは、前記排気部に接続された第3の凹部と、第4の凹部と、有し、
前記第3の凹部は、前記第2のチャックの前記貼合基板側の第2の面に開口し、
前記第4の凹部は、前記第2の面の、前記第3の凹部が開口する領域と、前記第2の面の周縁と、の間の領域に開口している請求項1記載の基板分離装置。
【請求項7】
前記第2のチャックは、一方の端部が前記第4の凹部に接続され、他方の端部が前記第2のチャックの側面に開口する孔をさらに有する請求項6記載の基板分離装置。
【請求項8】
前記第4の凹部は、枠状を呈し、前記第3の凹部が開口する領域を囲んでいる請求項6または7に記載の基板分離装置。
【請求項9】
前記第4の凹部は、前記第2の面の周縁に沿って延びている請求項6または7に記載の基板分離装置。
【請求項10】
前記第4の凹部と、前記第2の面の周縁と、の間の距離は、前記第4の凹部と、前記第3の凹部と、の間の距離よりも短い請求項6または7に記載の基板分離装置。
発明の詳細な説明
【技術分野】
【0001】
本発明の実施形態は、基板分離装置に関する。
続きを表示(約 1,700 文字)
【背景技術】
【0002】
例えば、一対の基板を貼り合わせ、貼り合わされた一対の基板を分離して、一方の基板に形成された層を、他方の基板に写し取る技術が提案されている。この様な技術は、例えば、3次元構造を有する半導体装置などの製造に用いられている。
【0003】
この場合、貼り合わされた基板の分離に、液体噴射装置が用いられる場合がある。例えば、貼り合わされた基板を一対のチャックによって挟み、チャックを回転させることで貼り合わされた基板を回転させ、回転する基板の側面に高圧の液体を噴射して、貼り合わされた基板を分離している。
この場合、貼り合わされた基板は、チャックにバキューム吸着されている。そのため、貼り合わされた基板の位置がズレるのを抑制することができる。
【0004】
ところが、貼り合わされた基板の側面に噴射された液体が、チャックと基板との間に侵入する場合がある。基板はチャックにバキューム吸着されているので、チャックと基板との間に液体が侵入すると、基板を保持する力が低下して、貼り合わされた基板の位置がズレるおそれがある。貼り合わされた基板の位置がズレると、均一な分離が阻害されて分離効率が低下したり、基板に破損が生じたりするおそれがある。
そこで、チャックと基板との間に液体が侵入するのを抑制することができる基板分離装置の開発が望まれていた。
【先行技術文献】
【特許文献】
【0005】
特開平11-005064号公報
【発明の概要】
【発明が解決しようとする課題】
【0006】
本発明が解決しようとする課題は、チャックと基板との間に液体が侵入するのを抑制することができる基板分離装置を提供することである。
【課題を解決するための手段】
【0007】
実施形態に係る基板分離装置は、一対の基板が貼り合わされた貼合基板の一方の面を吸着保持する第1のチャックと、前記貼合基板の他方の面を吸着保持する第2のチャックと、前記第1のチャック、および前記第2のチャックに接続された排気部と、前記第1のチャック、および前記第2のチャックを回転させる駆動部と、前記貼合基板の側面に液体を噴射するノズルと、を備えている。前記第1のチャックは、前記排気部に接続された第1の凹部と、第2の凹部と、有している。前記第1の凹部は、前記第1のチャックの前記貼合基板側の第1の面に開口している。前記第2の凹部は、前記第1の面の、前記第1の凹部が開口する領域と、前記第1の面の周縁と、の間の領域に開口している。
【発明の効果】
【0008】
本発明の実施形態によれば、チャックと基板との間に液体が侵入するのを抑制することができる基板分離装置が提供される。
【図面の簡単な説明】
【0009】
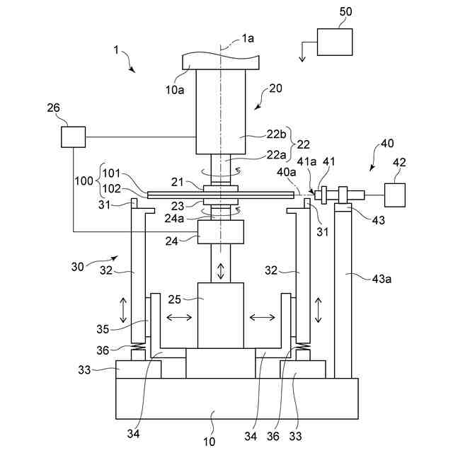
本実施の形態に係る基板分離装置を例示するための模式図である。
チャックの構成を例示するための模式斜視図である。
図2におけるチャックの、A-A線方向の模式断面図である。
他の実施形態に係るチャックの構成を例示するための模式斜視図である。
図4におけるチャックの、B-B線方向の模式断面図である。
(A)、(B)は、他の実施形態に係るチャックの構成を例示するための模式断面図である。
(A)~(H)は、基板分離装置の作用を例示するための模式図である。
貼合基板の分離手順を例示するためのフローチャートである。
貼合基板の分離を例示するための模式図である。
貼合基板の分離を例示するための模式図である。
貼合基板の分離を例示するための模式図である。
【発明を実施するための形態】
【0010】
以下、図面を参照しつつ、実施の形態について例示をする。なお、各図面中、同様の構成要素には同一の符号を付して詳細な説明は適宜省略する。
(【0011】以降は省略されています)
この特許をJ-PlatPat(特許庁公式サイト)で参照する
関連特許
峰岸株式会社
ドリルビット
8か月前
株式会社大林組
形成方法
9か月前
株式会社丸高工業
湿式穿孔工具
8か月前
株式会社大林組
積層材成型方法
1か月前
ジャパンライフ株式会社
段差形成治具
11か月前
株式会社コンセック
ワイヤーソー装置
10か月前
株式会社大林組
形成方法及び形成装置
8か月前
株式会社大林組
構造体の製造方法
4か月前
個人
石膏板の製造方法
1か月前
株式会社大林組
構造体の製造方法
4か月前
株式会社シブヤ
穿孔装置
2か月前
セレンディクス株式会社
構造物の製造方法
1か月前
株式会社エアテックジャパン
粗面加工工具
12か月前
モリ技巧株式会社
コンクリートスラリー処理装置
10か月前
セレンディクス株式会社
建築物の製造方法
2か月前
株式会社マキタ
作業機
9か月前
第一セラモ株式会社
セッター及び焼結体の製造方法
12か月前
株式会社奥村組
積層コンクリート集合体の養生方法
5か月前
芝浦メカトロニクス株式会社
基板分離装置
5か月前
株式会社Polyuse
構造物の製造方法
8か月前
シンクス株式会社
室内ボード面の穴開け加工装置
11か月前
株式会社Polyuse
造形物の製造方法
8か月前
戸田建設株式会社
打設現場におけるスランプの調整方法
4か月前
本多産業株式会社
コンクリート離型剤
2か月前
カヤバ株式会社
ミキサドラム制御装置
9か月前
株式会社エンプラス
流体取扱装置
10か月前
株式会社熊谷組
骨材管理システムおよび骨材管理方法
1か月前
鹿島建設株式会社
フレッシュコンクリートの製造方法
5か月前
鹿島建設株式会社
境界ブロックの製作方法および境界ブロック
3か月前
株式会社大林組
構造物形成方法及び構造物形成システム
4か月前
カヤバ株式会社
ミキサドラムの制御装置
6か月前
株式会社冨士機
生コンクリート製造プラント
9か月前
三井金属鉱業株式会社
構造体製造装置及び構造体製造方法
11か月前
株式会社エコシステム
混合ユニット、及び、混練物製造プラント
23日前
太平洋マテリアル株式会社
吹付用ノズル
1日前
鉄建建設株式会社
鉄筋コンクリート構造物の製造方法
8か月前
続きを見る
他の特許を見る