TOP
|
特許
|
意匠
|
商標
特許ウォッチ
Twitter
他の特許を見る
公開番号
2025013230
公報種別
公開特許公報(A)
公開日
2025-01-24
出願番号
2024107595
出願日
2024-07-03
発明の名称
収納具および収納具製造方法
出願人
個人
代理人
主分類
A45C
1/02 20060101AFI20250117BHJP(手持品または旅行用品)
要約
【課題】高級感のある外観を維持しつつ軽量化を図ることができる収納具を提供する
【解決手段】収納具1は、平面視直角三角形状であり厚さ方向に重ねて配置された6枚の三角片と、平面視矩形状であり三角片の隣辺部分に連続し重畳方向において隣り合う2つの三角片同士を接続する接続片と、を有し、重畳方向における両端に位置する三角片以外の三角片が、重畳方向における一方の三角片と斜辺部分で連続し且つ他方の三角片と隣辺部分で接続片を介して接続された一対の蛇腹部材11と、一対の蛇腹部材11それぞれの隣り合う2つの三角片の間に介在した状態で隣り合う2つの三角片に逢着される3枚のシート部材131と、一対の蛇腹部材11の並び方向において隣り合う2つの三角片同士を連結する連結部材14と、を備える。
【選択図】図1
特許請求の範囲
【請求項1】
平面視直角三角形状であり厚さ方向に重ねて配置された2N個(Nは2以上の正の整数)の三角片と、平面視矩形状であり前記三角片の隣辺部分に連続し重畳方向において隣り合う2つの三角片同士を接続する接続片と、を有し、重畳方向における両端に位置する三角片以外の三角片は、重畳方向における一方の三角片と斜辺部分で連続し且つ他方の三角片と隣辺部分で前記接続片を介して接続された一対の蛇腹部材と、
前記一対の蛇腹部材がそれぞれ2N個の前記三角片それぞれの前記接続片に連続する隣辺部分が互いに対向する蛇腹部材側とは反対側に位置するように配置された状態で、前記一対の蛇腹部材それぞれの隣り合う2つの三角片の間に介在した状態で隣り合う2つの三角片に逢着され、隣り合う2つの三角片の間に収容領域を形成する少なくともN枚のシート部材と、
前記一対の蛇腹部材の並び方向において隣り合う2つの三角片同士を連結する連結部材と、を備える、
収納具。
続きを表示(約 1,300 文字)
【請求項2】
板状であり長手方向における中央部の両側を同一方向へ折り曲げられてなる2つの外殻片を有する外殻体を更に備え、
2N個の前記三角片の重畳方向における両端に位置する三角片は、重畳方向において隣り合う1つの三角片と斜辺部分において連続し且つ前記2つの外殻片のいずれか一方に少なくとも隣辺部分で接続されている、
請求項1に記載の収納具。
【請求項3】
前記シート部材は、
矩形シート状であり厚さ方向において重ねて配置される2つの主片と、
長尺の矩形シート状であり短手方向における両端縁それぞれの長手方向における全体において前記主片に連続し、短手方向における中央部を通り且つ長手方向に延在する仮想直線で少なくとも長手方向における両端部で2つに折り畳まれた状態で、2つの前記主片それぞれに逢着された連結片と、を有する、
請求項1または2に記載の収納具。
【請求項4】
対向する2つの頂部が直角である平面視菱形状または平面視正方形状であり、直角の2つの頂部を除く2つの頂部のうちの隣り合う2辺のなす角度が他方で隣り合う2辺のなす角度以下である一方が1つの基点を囲繞するように配置された複数の四角片部と、前記複数の四角片のうち前記複数の四角片の並び方向における両端それぞれに配置された四角片の一辺に隣片部分が隣り合うように配置された平面視直角三角形状の2つの三角片部と、平面視矩形状であり対向する2辺それぞれにおいて、前記複数の四角片部の並び方向で隣り合う2つの四角片部または前記三角片部と前記四角片部とに連続する複数の接続片部と、を有し、蛇腹部材の基となる基材について、複数の前記接続片部それぞれについて前記接続片部の短手方向の中心部を通り且つ前記接続片部の長手方向へ延在する仮想山折り線で山折りにし、複数の前記四角片部それぞれにおける直角の2つの頂部を除く2つの頂部同士を結ぶ仮想谷折り線で谷折りにすることにより、平面視直角三角形状であり厚さ方向に重ねて配置された2N個(Nは2以上の正の整数)の三角片と、平面視矩形状であり前記三角片の隣辺部分に連続し重畳方向において隣り合う2つの三角片同士を接続する接続片と、を有し、重畳方向における両端に位置する三角片以外の三角片は、重畳方向における一方の三角片と斜辺部分で連続し且つ他方の三角片と隣辺部分で前記接続片を介して接続された一対の蛇腹部材を準備する第1工程と、
前記一対の蛇腹部材がそれぞれ2N個の前記三角片それぞれの前記接続片に連続する隣辺部分が互いに対向する蛇腹部材側とは反対側に位置するように配置する第2工程と、
前記第2工程の後、前記一対の蛇腹部材それぞれの隣り合う2つの三角片の間に介在した状態で隣り合う2つの三角片にN枚のシート部材それぞれを逢着することにより、隣り合う2つの三角片の間に収容領域を形成する第3工程と、
前記第3工程の後、前記一対の蛇腹部材の並び方向において隣り合う2つの三角片同士を連結部材で連結する第4工程と、を含む、
収納具製造方法。
発明の詳細な説明
【技術分野】
【0001】
本発明は、収納具および収納具製造方法に関する。
続きを表示(約 2,500 文字)
【背景技術】
【0002】
折曲げ可能な屈曲部により開閉可能な基台部材を備え、基台部材を折曲げて閉状態となり、基台部材を折曲げ解除して開状態となるカードケースが提案されている(例えば特許文献1参照)。このカードケースは、帯状であり、複数の山折部と谷折部とを有し、山折部と谷折部との間に切込部が形成された一対の帯部材を、一方の山折部が他方の谷折部に対向し且つ一方の谷折部が他方の山折部に対向した状態で一方の切込部が他方の切込部に差込まれることで互いに組み合わせることで複数のカード収容部が形成された蛇腹収容体を有する。
【先行技術文献】
【特許文献】
【0003】
特開2020-54695号公報
【発明の概要】
【発明が解決しようとする課題】
【0004】
ところで、特許文献1に記載されたカードケースのような収納具には、少なくとも外側に露出した部分に天然皮革を使用することで高級感のある外観を呈することを特徴とするものがある。このような天然皮革を使った収納具には、高級感のある外観を維持しつつ、使用する天然皮革を極力少なくすることで、収納具全体として軽量化することで利用者の使い勝手を良くすることが要請されている。
【0005】
本発明は、上記事由に鑑みてなされたものであり、高級感のある外観を維持しつつ軽量化を図ることができる収納具および収納具製造方法を提供することを目的とする。
【課題を解決するための手段】
【0006】
上記目的を達成するために、本発明に係る収納具は、
平面視直角二等辺三角形状であり厚さ方向に重ねて配置された2N個(Nは2以上の正の整数)の三角片と、平面視矩形状であり前記三角片の隣辺部分に連続し重畳方向において隣り合う2つの三角片同士を接続する接続片と、を有し、重畳方向における両端に位置する三角片以外の三角片は、重畳方向における一方の三角片と斜辺部分で連続し且つ他方の三角片と隣辺部分で前記接続片を介して接続された一対の蛇腹部材と、
前記一対の蛇腹部材がそれぞれ2N個の前記三角片それぞれの前記接続片に連続する隣辺部分が互いに対向する蛇腹部材側とは反対側に位置するように配置された状態で、前記一対の蛇腹部材それぞれの隣り合う2つの三角片の間に介在した状態で隣り合う2つの三角片に逢着され、隣り合う2つの三角片の間に収容領域を形成する少なくともN枚のシート部材と、
前記一対の蛇腹部材の並び方向において隣り合う2つの三角片同士を連結する連結部材と、を備える。
【発明の効果】
【0007】
本発明によれば、高級感のある外観を維持しつつ軽量化を図ることができる。
【図面の簡単な説明】
【0008】
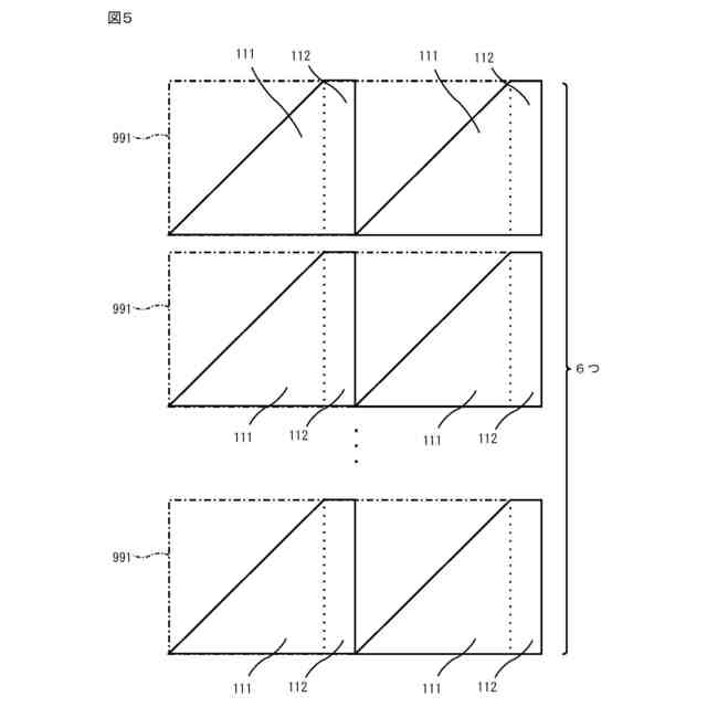
本発明の実施の形態に係る収納具の概略図である。
(A)は実施の形態に係る蛇腹部材を示す斜視図であり、(B)は実施の形態に係るシート部材を示す斜視図である。
実施の形態に係る蛇腹部材の基となる基材の平面図である。
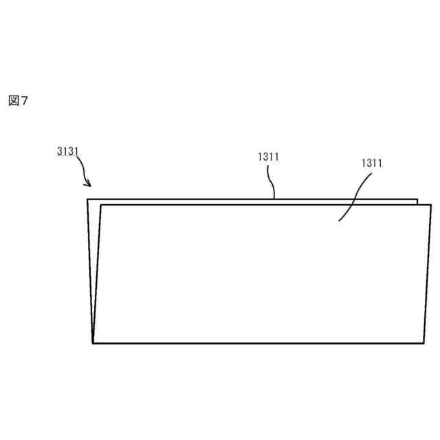
実施の形態に係る蛇腹部材にシート部材を挿入する様子を示す斜視図である。
実施の形態に係る蛇腹部材の特徴を説明するための図である。
変形例に係る蛇腹部材の基となる基材の平面図である。
変形例に係るシート部材を示す斜視図である。
変形例に係る収納具の一例を示す写真である。
【発明を実施するための形態】
【0009】
以下、本発明の一実施の形態に係る収納具について図面を参照して詳細に説明する。本実施の形態に係る収納具は、一対の蛇腹部材と、シート部材と、連結部材と、を備える。一対の蛇腹部材は、それぞれ、平面視直角二等辺三角形状であり厚さ方向に重ねて配置された2N個(Nは2以上の正の整数)の三角片と、平面視矩形状であり前記三角片の隣辺部分に連続し重畳方向において隣り合う2つの三角片同士を接続する接続片と、を有する。そして、各蛇腹部材は、三角片の重畳方向における両端に位置する三角片以外の三角片は、重畳方向における一方の三角片と斜辺部分で連続し且つ他方の三角片と隣辺部分で接続片を介して接続されている。シート部材は、少なくともN枚存在し、一対の蛇腹部材がそれぞれ2N個の三角片それぞれの接続片に連続する隣辺部分が互いに対向する蛇腹部材側とは反対側に位置するように配置された状態で、一対の蛇腹部材それぞれの隣り合う2つの三角片の間に介在した状態で隣り合う2つの三角片に逢着され、隣り合う2つの三角片の間に収容領域を形成している。連結部材は、一対の蛇腹部材の並び方向において隣り合う2つの三角片同士を連結する。
【0010】
図1に示すように、本実施の形態に係る収納具1は、例えば鞄であり、一対の蛇腹部材11と、外殻体12と、シート部材131、132と、連結部材14と、一対の係止金具151、152と、2つの把手16と、を備える。一対の蛇腹部材11は、それぞれ、図2(A)に示すように、平面視直角二等辺三角形状であり厚さ方向に重ねて配置された6枚の三角片111と、平面視矩形状であり三角片111の隣辺部分に連続し重畳方向において隣り合う2つの三角片111同士を接続する6枚の接続片112と、を有する。一対の蛇腹部材11は、例えば天然皮革から形成されている。そして、各蛇腹部材11は、三角片111の重畳方向における両端に位置する三角片111以外の三角片111が、重畳方向における一方の三角片111と斜辺部分で連続し且つ他方の三角片111と隣辺部分で接続片112を介して接続されている。一対の蛇腹部材11は、それぞれ6枚の三角片111それぞれの接続片112に連続する隣辺部分が互いに対向する蛇腹部材11側とは反対側に位置するように配置されている。一対の蛇腹部材11それぞれの隣り合う2つの三角片の間に収容領域S1が形成されている。
(【0011】以降は省略されています)
この特許をJ-PlatPat(特許庁公式サイト)で参照する
関連特許
個人
包み箱
1か月前
個人
傘
1か月前
個人
杖
3か月前
個人
傘
6か月前
個人
折り畳み傘
3か月前
個人
財布
4か月前
個人
二重把手袋
6か月前
個人
眼鏡ホルダー
2か月前
個人
バッグ
3か月前
個人
シール
5か月前
個人
シート状パック
6か月前
個人
刺抜き具
7か月前
個人
美容用具
2か月前
個人
肩ベルトカバー
1か月前
個人
傘
8か月前
個人
傘の先端キャップ
5か月前
個人
補助持ち手付き傘
4か月前
個人
滑らないヘアピン
8か月前
ベス工業株式会社
整髪具
4か月前
個人
電動爪削り器
9か月前
個人
香りカプセル
10か月前
株式会社文殊
巾着袋
2か月前
個人
リュックサック
10か月前
個人
手提げ袋携帯ホルダー
7か月前
個人
折りたたみ式提げ手。
6か月前
大忠株式会社
バッグ
7か月前
個人
スマートフォンカバー
6か月前
コクヨ株式会社
バッグ
6か月前
株式会社イケテイ
袋物
4か月前
株式会社バンビ
長財布
7か月前
個人
傘の折り畳み式滴受け具
11か月前
個人
エクステプレート
1か月前
個人
髪処理装置
11か月前
個人
傘巻き取り補助具
16日前
株式会社バンビ
長財布
1日前
個人
ポンチョになるエコバック
6か月前
続きを見る
他の特許を見る