TOP
|
特許
|
意匠
|
商標
特許ウォッチ
Twitter
他の特許を見る
10個以上の画像は省略されています。
公開番号
2025022645
公報種別
公開特許公報(A)
公開日
2025-02-14
出願番号
2023127417
出願日
2023-08-03
発明の名称
バッグ
出願人
大忠株式会社
代理人
個人
主分類
A45C
7/00 20060101AFI20250206BHJP(手持品または旅行用品)
要約
【課題】 バッグ内の収容空間の容積を増加させることができるバッグを提供する。
【解決手段】 バッグ1は、天蓋部2、第1側面部3、第2側面部4、第3側面部5、第4側面部6、底面部7、第1ファスナF1、第2ファスナF2、第3ファスナF3、第1拡張部8、第2拡張部9、第1把持部10、および第2把持部11を含む。底面部7は、直線状に延びる薄肉部15a,15bを備える。
【選択図】 図2
特許請求の範囲
【請求項1】
2つの帯状部分を有する長方形状の天蓋部と、
前記天蓋部の一方の長辺部に接続される第1側面部と、
前記天蓋部の他方の長辺部に接続される第2側面部と、
前記天蓋部の一方の短辺部に接続される第3側面部と、
前記天蓋部の他方の短辺部に接続される第4側面部と、
前記第1側面部、前記第2側面部、前記第3側面部、および前記第4側面部に接続される底面部と、
前記第1側面部の前記第3側面部寄りの一端部と前記第3側面部の前記第1側面部寄りの一端部との間、前記底面部の一方の短辺部と前記第3側面部の前記底面部寄りの一端部との間、および前記第2側面部の前記第3側面部寄りの一端部と前記第3側面部の前記第2側面部寄りの他端部との間にわたって接続される第1拡張部と、
前記第1側面部の前記第4側面部寄りの他端部と前記第4側面部の前記第1側面部寄りの一端部との間、前記底面部の他方の短辺部と前記第4側面部の前記底面部寄りの他端部との間、および前記第4側面部の前記第2側面部寄りの他端部と前記第2側面部の前記第4側面部寄りの他端部との間にわたって接続される第2拡張部と、
前記2つの帯状部分を並列に接続する第1ファスナと、
前記第1拡張部を囲むように設けられ、前記第1側面部の前記一端部と前記第3側面部の前記一端部との間、前記底面部の前記一方の短辺部と前記第3側面部の前記一端部との間、および前記第3側面部の前記他端部と前記第2側面部の前記一端部との間を接続する第2ファスナと、
前記第2拡張部を囲むように設けられ、前記第1側面部の前記他端部と前記第4側面部の前記一端部との間、前記底面部の前記他方の短辺部と前記第4側面部の前記底面部寄りの他端部との間、および前記第4側面部の前記第2側面部寄りの他端部と前記第2側面部の前記第4側面部寄りの他端部との間を接続する第3ファスナと、
前記第1側面部に両端部が接続される第1把持部と、
前記第2側面部に両端部が接続される第2把持部と、
前記底面部に設けられ、直線状に延びる薄肉部と、を含むことを特徴とするバッグ。
続きを表示(約 430 文字)
【請求項2】
2つの帯状部分を有する長方形状の天蓋部と、
前記天蓋部の一方の長辺部に接続される第1側面部と、
前記天蓋部の他方の長辺部に接続される第2側面部と、
前記天蓋部の一方の短辺部に接続される第3側面部と、
前記天蓋部の他方の短辺部に接続される第4側面部と、
前記第1側面部、前記第2側面部、前記第3側面部、および前記第4側面部に接続される底面部と、
前記2つの帯状部分を並列に接続するファスナと、
前記第3側面部に接続される一端部と、前記第4側面部に接続される他端部とを有する帯状の把持部と、
前記底面部に設けられ、直線状に延びる薄肉部と、を含むことを特徴とするバッグ。
【請求項3】
前記底面部は、外部シートと、前記外部シートに積層される内部シートと、前記外部シートと前記内部シートとの間に介在される芯地と、を含むことを特徴とする請求項1または2に記載のバッグ。
発明の詳細な説明
【技術分野】
【0001】
本発明は、たとえばボストンバッグとして好適に実施することができるバッグに関する。
続きを表示(約 3,000 文字)
【背景技術】
【0002】
従来技術のバッグは、たとえば特許文献1に記載されている。この従来技術のボストンバッグは、開口を有するボックス状のバッグ基体と、バッグ基体の開口の周縁に両開きファスナによって連設された天蓋体とを備える。バッグ基体の正面構成部と背面構成部の上縁近傍には、持ち手がそれぞれ固定され、バッグ基体の左右側面構成部には、ショルダベルトの取付部が設けられる。両開きファスナを全開にして天蓋体をバッグ基体の内側に移動させることによって、トートバッグとして利用できる構成が記載されている。
【先行技術文献】
【特許文献】
【0003】
実用新案登録第3145204号公報
【発明の概要】
【発明が解決しようとする課題】
【0004】
前述の特許文献1の従来技術のバックは、物体を収容可能な容積を増加できる構成は備えていない。したがって物体が増えたときに容積を増加することができるバッグが求められている。また従来技術のバッグは、折畳んで小形化できる構成を備えていない。したがって未使用時などにバッグを折畳んで小形化することができるバッグが求められている。
【課題を解決するための手段】
【0005】
本発明は、2つの帯状部分を有する長方形状の天蓋部と、
前記天蓋部の一方の長辺部に接続される第1側面部と、
前記天蓋部の他方の長辺部に接続される第2側面部と、
前記天蓋部の一方の短辺部に接続される第3側面部と、
前記天蓋部の他方の短辺部に接続される第4側面部と、
前記第1側面部、および前記第2側面部に接続される底面部と、
前記第1側面部の前記第3側面部寄りの一端部と前記第3側面部の前記第1側面部寄りの一端部との間、前記底面部の一方の短辺部と前記第3側面部の前記底面部寄りの一端部との間、および前記第2側面部の前記第3側面部寄りの一端部と前記第3側面部の前記第2側面部寄りの他端部との間にわたって接続される第1拡張部と、
前記第1側面部の前記第4側面部寄りの他端部と前記第4側面部の前記第1側面部寄りの一端部との間、前記底面部の他方の短辺部と前記第4側面部の前記底面部寄りの他端部との間、および前記第4側面部の前記第2側面部寄りの他端部と前記第2側面部の前記第4側面部寄りの他端部との間にわたって接続される第2拡張部と、
前記2つの帯状部分を並列に接続する第1ファスナと、
前記第1拡張部を囲むように設けられ、前記第1側面部の前記一端部と前記第3側面部の前記一端部との間、前記底面部の前記一方の短辺部と前記第3側面部の前記一端部との間、および前記第3側面部の前記他端部と前記第2側面部の前記一端部との間を接続する第2ファスナと、
前記第2拡張部を囲むように設けられ、前記第1側面部の前記他端部と前記第4側面部の前記一端部との間、前記底面部の前記他方の短辺部と前記第4側面部の前記底面部寄りの他端部との間、および前記第4側面部の前記第2側面部寄りの他端部と前記第2側面部の前記第4側面部寄りの他端部との間を接続する第3ファスナと、
前記第1側面部に両端部が接続される第1把持部と、
前記第2側面部に両端部が接続される第2把持部と、
前記底面部に設けられ、直線状に延びる薄肉部と、を含むことを特徴とするバッグである。
【0006】
また本発明は、2つの帯状部分を有する長方形状の天蓋部と、
前記天蓋部の一方の長辺部に接続される第1側面部と、
前記天蓋部の他方の長辺部に接続される第2側面部と、
前記天蓋部の一方の短辺部に接続される第3側面部と、
前記天蓋部の他方の短辺部に接続される第4側面部と、
前記第1側面部、および前記第2側面部に接続される底面部と、
前記2つの帯状部分を並列に接続するファスナと、
前記第3側面部に接続される一端部と、前記第4側面部に接続される他端部とを有する帯状の把持部と、
前記底面部に設けられ、直線状に延びる薄肉部と、を含むことを特徴とするバッグである。
【0007】
また本発明は、前記底面部は、外部シートと、前記外部シートに積層される内部シートと、前記外部シートと前記内部シートとの間に介在される芯地と、を含むことを特徴とする。
【発明の効果】
【0008】
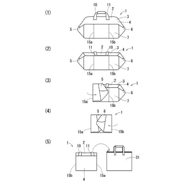
本発明によれば、バッグは、天蓋部、第1側面部、第2側面部、第3側面部、第4側面部、底面部、第1ファスナ、第2ファスナ、第3ファスナ、第1拡張部、第2拡張部、第1把持部、および第2把持部を備える。第2ファスナを開放することによって、第3側面部は、第1側面部、底面部および第2側面部に対する拘束状態が解除され、第3側面部を第1側面部、底面部および第2側面部から離反させることができる。第3側面部を第1側面部、底面部および第2側面部から離反させることによって、第3側面部は天蓋部に接続された状態で、第1側面部、底面部および第2側面部から第1拡張部が拡張され、バッグ内の収容空間を底面部側で広く拡張させて、収容空間の容積を増加させることができる。また、第3ファスナを開放することによって、第4側面部を第1側面部、底面部および第2側面部に対する拘束状態が解除され、第4側面部を第1側面部、底面部および第2側面部から離反させることができる。第4側面部を第1側面部、底面部および第2側面部から離反させることによって、第4側面部は天蓋部に接続された状態で、第1側面部、底面部および第2側面部から第2拡張部が拡張され、バッグ内の収容空間を底面部側で広く拡張させて、収容空間の容積を増加させることができる。
【0009】
また、底面部には、直線状の薄肉部が設けられる。薄肉部は、薄肉部以外の領域よりも曲げ剛性が小さいので、薄肉部を中心にして薄肉部に連なる部分を容易に折曲げて、バッグを折畳み、小形化することができる。これによって、物体を収容しないときは、バッグを折畳み、小形化した状態で持ち運ぶことができ、携帯性に優れたバッグを提供することができる。またバッグを折畳むことができるので、家屋内の所定の保管場所または店舗における所定の展示場所に大きな占有空間を必要とせず、省スペース化を図ることができる。
【0010】
また本発明によれば、バッグは、天蓋部、第1側面部、第2側面部、第3側面部、第4側面部、底面部、第1ファスナ、第2ファスナ、拡張部、および把持部を含む。底面部には、薄肉部が設けられる。薄肉部は、薄肉部以外の領域よりも曲げ剛性が小さいので、薄肉部を中心して薄肉部に連なる部分を容易に折曲げて、バッグを折畳み、小形化することができる。これによって、物体を収容しないときは、バッグを折畳み、小形化した状態で持ち運ぶことができ、携帯性に優れたバッグを提供することができる。またバッグを折畳むことができるので、家屋内における所定の保管場所および店舗における所定の展示場所に大きな占有空間を必要とせず、省スペース化を図ることができる。
(【0011】以降は省略されています)
この特許をJ-PlatPat(特許庁公式サイト)で参照する
関連特許
大忠株式会社
バッグ
8か月前
個人
包み箱
1か月前
個人
杖
3か月前
個人
傘
6か月前
個人
傘
1か月前
個人
財布
4か月前
個人
折り畳み傘
3か月前
個人
二重把手袋
6か月前
個人
眼鏡ホルダー
2か月前
個人
シール
5か月前
個人
バッグ
3か月前
個人
シート状パック
6か月前
個人
刺抜き具
7か月前
個人
美容用具
2か月前
個人
肩ベルトカバー
1か月前
個人
傘
8か月前
個人
補助持ち手付き傘
4か月前
個人
傘の先端キャップ
5か月前
個人
滑らないヘアピン
8か月前
ベス工業株式会社
整髪具
4か月前
個人
電動爪削り器
9か月前
個人
香りカプセル
10か月前
個人
リュックサック
10か月前
株式会社文殊
巾着袋
2か月前
大忠株式会社
バッグ
8か月前
個人
スマートフォンカバー
6か月前
個人
手提げ袋携帯ホルダー
7か月前
個人
折りたたみ式提げ手。
6か月前
個人
傘の折り畳み式滴受け具
11か月前
個人
エクステプレート
1か月前
株式会社イケテイ
袋物
5か月前
個人
傘巻き取り補助具
20日前
コクヨ株式会社
バッグ
6か月前
個人
髪処理装置
11か月前
株式会社バンビ
長財布
5日前
株式会社バンビ
長財布
7か月前
続きを見る
他の特許を見る