TOP
|
特許
|
意匠
|
商標
特許ウォッチ
Twitter
他の特許を見る
10個以上の画像は省略されています。
公開番号
2025112816
公報種別
公開特許公報(A)
公開日
2025-08-01
出願番号
2024007306
出願日
2024-01-22
発明の名称
巾着袋
出願人
株式会社文殊
代理人
個人
主分類
A45C
3/00 20060101AFI20250725BHJP(手持品または旅行用品)
要約
【課題】簡素な製造工程によって製造可能な、区分された複数の領域を内部に有する巾着袋を提供する。
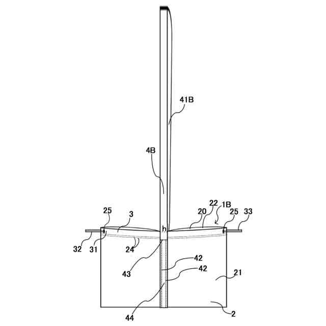
【解決手段】上記課題解決のため、巾着袋1は、前面部21と背面部22とを備え、前面部21の下部と背面部22の下部と、前面部21の右端部と背面部22の右端部と、前面部21の左端部と背面部22の左端部とが夫々連結して形成された、上部に開口20を有する袋部2と、開口20を紐状部材32で絞って閉じる開閉部3とを備える。この巾着袋1は、前面部21と背面部22とが、その左右方向の中途位置において、上下方向に沿って互いに取り付けられ、袋部2の内部100が複数の領域に区分されている。
【選択図】図1
特許請求の範囲
【請求項1】
前面部と背面部とを備え、前記前面部の下部と前記背面部の下部と、前記前面部の右端部と前記背面部の右端部と、前記前面部の左端部と前記背面部の左端部とが夫々連結して形成された、上部に開口を有する袋部と、前記開口を紐状部材で絞って閉じる開閉部とを備えた巾着袋であって、
前記前面部と前記背面部とが、その左右方向の中途位置において、上下方向に沿って互いに取り付けられて、前記袋部の内部が複数の領域に区分されている、
ことを特徴とする巾着袋。
続きを表示(約 650 文字)
【請求項2】
前記開口は、前記複数の領域に亘って形成され、前記開口を前記紐状部材で絞って閉じた場合に、前記複数の領域全てが閉じられる、
ことを特徴とする請求項1に記載の巾着袋。
【請求項3】
前記袋部から突出するように、ユーザの身体に掛ける又はユーザが把持するための持ち手を備えた、
ことを特徴とする請求項1又は2に記載の巾着袋。
【請求項4】
前記持ち手は紐状であり、その一部分が前記前面部に配置され、他の部分が前記背面部における前記一部分に対応する位置に配置され、前記一部分、前記他の部分、前記前面部、及び前記背面部が一体的に縫い合わされることで、前記前面部と前記背面部が互いに取り付けられて、前記袋部の内部が複数の領域に区分されるとともに、前記持ち手が前記袋部に取り付けられる、
ことを特徴とする請求項3に記載の巾着袋。
【請求項5】
前記持ち手は、輪状に形成されており、前記袋部の底部において屈曲されることで、前記持ち手の前記一部分が前記前面部に配置され、前記持ち手の前記他の部分が前記背面部における前記一部分に対応する位置に配置される、
ことを特徴する請求項4に記載の巾着袋。
【請求項6】
前記袋部は、伸縮性がある、
ことを特徴する請求項1又は2に記載の巾着袋。
【請求項7】
前記袋部は、伸縮性の編構造を有する、
ことを特徴とする請求項6に記載の巾着袋。
発明の詳細な説明
【技術分野】
【0001】
本発明は、巾着袋に関し、特に内部領域を複数の領域に区分するための構造に特徴を有するものである。
続きを表示(約 1,200 文字)
【背景技術】
【0002】
従来、特許文献1に示すような、袋の内側に複数のポケットが縫い付けられた巾着袋が知られている。複数のポケットが縫い付けられることで、袋の内部に複数の領域(収納領域)を有し、小物類等の収納物を分けて収納することができるようになっている。
【先行技術文献】
【特許文献】
【0003】
実用新案登録第3057838号公報
【発明の概要】
【発明が解決しようとする課題】
【0004】
上述した従来の巾着袋では、製造工程において内部へのポケットの取り付け作業が必要となり、製造工程が煩雑であった。
【0005】
そこで、本発明の課題は、簡素な製造工程によって製造可能な、区分された複数の領域を内部に有する巾着袋を提供することである。
【課題を解決するための手段】
【0006】
(1)上記課題を解決するために、本発明に係る巾着袋は、前面部と背面部とを備え、前記前面部の下部と前記背面部の下部と、前記前面部の右端部と前記背面部の右端部と、前記前面部の左端部と前記背面部の左端部とが夫々連結して形成された、上部に開口を有する袋部と、前記開口を紐状部材で絞って閉じる開閉部とを備えた巾着袋であって、前記前面部と前記背面部とが、その左右方向の中途位置において、上下方向に沿って互いに取り付けられて、前記袋部の内部が複数の領域に区分されていること、を特徴とする。
【0007】
上記(1)に記載の構成によれば、前面部と背面部とを、その左右方向の中途位置において、上下方向に沿って互いに取り付けるだけで、袋部の内部が複数の領域に区分することができる。なお、この取り付けは、縫い付けや、接着剤等による貼り付け等で行うことが出来る。この構成によれば、袋の内部に袋部とは別布でポケットを縫い付ける従来技術に比較して、簡易な構成となり、簡素な製造工程によって、複数の領域(収納領域)を有する巾着袋を形成することができる。なお、前面部と背面部との「連結」は、前面部と背面部とを縫い付け、接着等によって取り付ける構成だけでなく、布を途中で屈曲させて前面部と背面部とを形成する構成も含む。
【0008】
(2)上記開口は、前記複数の領域に亘って形成され、前記開口を前記紐状部材で絞って閉じた場合に、前記複数の領域全てが閉じられてもよい。
【0009】
上記(2)の構成によれば、複数の領域に亘って形成された開口を紐状部材で絞ることで、全ての複数の領域を閉じて封じることが可能になる。
【0010】
(3)上記袋部から突出するように、ユーザの身体に掛ける又はユーザが把持するための持ち手を備えてもよい。
(【0011】以降は省略されています)
この特許をJ-PlatPat(特許庁公式サイト)で参照する
関連特許
株式会社文殊
巾着袋
2か月前
個人
包み箱
1か月前
個人
傘
27日前
個人
杖
3か月前
個人
傘
5か月前
個人
財布
3か月前
個人
二重把手袋
5か月前
個人
折り畳み傘
2か月前
個人
バッグ
2か月前
個人
シール
5か月前
個人
眼鏡ホルダー
1か月前
個人
シート状パック
5か月前
個人
耳カバー
12か月前
個人
肩ベルトカバー
1か月前
個人
刺抜き具
6か月前
個人
傘
8か月前
個人
美容用具
2か月前
個人
傘の先端キャップ
4か月前
個人
補助持ち手付き傘
4か月前
個人
滑らないヘアピン
8か月前
ベス工業株式会社
整髪具
4か月前
個人
香りカプセル
10か月前
個人
電動爪削り器
9か月前
個人
リュックサック
9か月前
大忠株式会社
バッグ
7か月前
個人
手提げ袋携帯ホルダー
7か月前
個人
スマートフォンカバー
6か月前
個人
折りたたみ式提げ手。
6か月前
株式会社文殊
巾着袋
2か月前
コクヨ株式会社
バッグ
5か月前
株式会社イケテイ
袋物
4か月前
個人
髪処理装置
11か月前
個人
傘巻き取り補助具
7日前
株式会社バンビ
長財布
7か月前
個人
傘の折り畳み式滴受け具
10か月前
個人
エクステプレート
27日前
続きを見る
他の特許を見る