TOP
|
特許
|
意匠
|
商標
特許ウォッチ
Twitter
他の特許を見る
公開番号
2025021008
公報種別
公開特許公報(A)
公開日
2025-02-13
出願番号
2023124685
出願日
2023-07-31
発明の名称
トランス
出願人
国立大学法人信州大学
代理人
個人
主分類
H01F
37/00 20060101AFI20250205BHJP(基本的電気素子)
要約
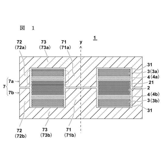
【課題】低磁気結合でありながら交流抵抗の小さなトランスを提供することを目的とする。
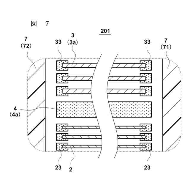
【解決手段】トランス1は、一次巻線2と、二次巻線3と、一次巻線2と二次巻線3とが間を開けて巻回されている中央脚部71、並びに、一次巻線2及び二次巻線3の外周側に設けられている側脚部72を有するコア7とを備え、一次巻線2の巻線材表面の少なくとも一部に接して配置された、磁性紛及びマトリックス材を含む磁性複合材で形成された第1磁性部材21と、二次巻線3の巻線材表面の少なくとも一部に接して配置された、磁性紛及びマトリックス材を含む磁性複合材で形成された第2磁性部材31と、一次巻線2と二次巻線3との間に配置された、磁性紛及びマトリックス材を含む磁性複合材で形成された第3磁性部材4とを備える。
【選択図】図1
特許請求の範囲
【請求項1】
一次巻線と、
二次巻線と、
前記一次巻線と前記二次巻線とが間を開けて巻回されている中央脚部、並びに、前記一次巻線及び前記二次巻線の外周側に設けられている側脚部を有するコアとを備えるトランスであって、
前記一次巻線の巻線材表面の少なくとも一部に接して配置された、磁性紛及びマトリックス材を含む磁性複合材で形成された第1磁性部材と、
前記二次巻線の巻線材表面の少なくとも一部に接して配置された、磁性紛及びマトリックス材を含む磁性複合材で形成された第2磁性部材と、
一次巻線と二次巻線との間に配置された、磁性紛及びマトリックス材を含む磁性複合材で形成された第3磁性部材とを、備えることを特徴とするトランス。
続きを表示(約 700 文字)
【請求項2】
前記一次巻線の巻線材表面に接してその巻線材表面を覆うように前記第1磁性部材が層状に付されていて隣接し合う層状の前記第1磁性部材同士が接触しないように設けられており、
前記二次巻線の巻線材表面に接してその巻線材表面を覆うように前記第2磁性部材が層状に付されていて隣接し合う層状の前記第2磁性部材同士が接触しないように設けられていることを特徴とする請求項1に記載のトランス。
【請求項3】
前記一次巻線を封止するように前記第1磁性部材が設けられており、
前記二次巻線を封止するように前記第2磁性部材が設けられていることを特徴とする請求項1に記載のトランス。
【請求項4】
前記一次巻線の巻線材表面の外周部側及び内周部側の端部に接して前記第1磁性部材が設けられており、
前記二次巻線の巻線材表面の外周部側及び内周部側の端部に接して前記第2磁性部材が設けられていることを特徴とする請求項1に記載のトランス。
【請求項5】
前記第3磁性部材が、前記中央脚部及び前記側脚部に接触しないように設けられていることを特徴とする請求項1に記載のトランス。
【請求項6】
前記二次巻線が、前記一次巻線を間に挟む位置関係で配置されるように2分割されて構成されており、
2分割されたうちの一方の前記二次巻線と前記一次巻線との間に第1の前記第3磁性部材が配置され、
2分割されたうちの他方の前記二次巻線と前記一次巻線との間に第2の前記第3磁性部材が配置されていることを特徴とする請求項1に記載のトランス。
発明の詳細な説明
【技術分野】
【0001】
本発明は、例えばリーケージトランスのような低磁気結合のトランスに関する。
続きを表示(約 1,700 文字)
【0002】
トランスは種々の電気回路に用いられている。例えば、電気回路としてDC-DC(直流-直流)コンバータなどの電源回路が挙げられる。DC-DCコンバータの小型化には、スイッチング周波数の高周波化が有効である。シリコン系パワーデバイスを超える特性を有する窒化ガリウム(GaN)系や炭化ケイ素(SiC)系のパワーデバイスの開発により、DC-DCコンバータは、より高いスイッチング周波数で機能することが可能になった。パワーデバイスは、周波数が高くなるにつれてスイッチング損失が発生する。LLC共振型DC-DCコンバータは、ソフトスイッチングにより高周波でのスイッチング損失を低減できる低損失なDC-DCコンバータである。LLC共振型DC-DCコンバータは、2つのL(インダクタ)と1つのC(キャパシタ)による共振を利用することからこの名前が付いている。
【0003】
LLC共振型DC-DCコンバータには、共振用インダクタ及びトランスが使用される。この共振用インダクタ及びトランスとして、低磁気結合のトランスであるリーケージトランスが使用されている(例えば、特許文献1)。リーケージトランスのリーケージインダクタンス(漏れインダクタンス)を共振用インダクタとして代用できるからである。リーケージトランスを使用すると、共振用インダクタを部品として備えなくてもよいため、部品点数を削減でき、コンバータの小型化が可能となる。
【先行技術文献】
【特許文献】
【0004】
特開平10-12554号公報
【発明の概要】
【発明が解決しようとする課題】
【0005】
リーケージトランスのような低磁気結合のトランスには、一次巻線と二次巻線の結合係数が小さいため、高い漏れ磁束を生じ、この漏れ磁束がトランスの巻線導体を貫通すると導体内部で発生する渦電流によって交流抵抗が増加するという問題がある。このため、交流抵抗の増加を抑制することが課題となっている。
【0006】
本発明は、前記の課題を解決するためになされたもので、低磁気結合でありながら交流抵抗の小さなトランスを提供することを目的とする。
【課題を解決するための手段】
【0007】
請求項1に記載のトランスは、一次巻線と、二次巻線と、前記一次巻線と前記二次巻線とが間を開けて巻回されている中央脚部、並びに、前記一次巻線及び前記二次巻線の外周側に設けられている側脚部を有するコアとを備えるトランスであって、前記一次巻線の巻線材表面の少なくとも一部に接して配置された、磁性紛及びマトリックス材を含む磁性複合材で形成された第1磁性部材と、前記二次巻線の巻線材表面の少なくとも一部に接して配置された、磁性紛及びマトリックス材を含む磁性複合材で形成された第2磁性部材と、一次巻線と二次巻線との間に配置された、磁性紛及びマトリックス材を含む磁性複合材で形成された第3磁性部材とを、備えることを特徴とする。
【0008】
請求項2に記載のトランスは、請求項1に記載のものであり、前記一次巻線の巻線材表面に接してその巻線材表面を覆うように前記第1磁性部材が層状に付されていて隣接し合う層状の前記第1磁性部材同士が接触しないように設けられており、前記二次巻線の巻線材表面に接してその巻線材表面を覆うように前記第2磁性部材が層状に付されていて隣接し合う層状の前記第2磁性部材同士が接触しないように設けられていることを特徴とする。
【0009】
請求項3に記載のトランスは、請求項1に記載のものであり、前記一次巻線を封止するように前記第1磁性部材が設けられており、記二次巻線を封止するように前記第2磁性部材が設けられていることを特徴とする。
【0010】
請求項4に記載のトランスは、請求項1に記載のものであり、前記一次巻線の巻線材表面の外周部側及び内周部側の端部に接して前記第1磁性部材が設けられており、前記二次巻線の巻線材表面の外周部側及び内周部側の端部に接して前記第2磁性部材が設けられていることを特徴とする。
(【0011】以降は省略されています)
この特許をJ-PlatPat(特許庁公式サイト)で参照する
関連特許
国立大学法人信州大学
食品鮮度センサー
1か月前
国立大学法人信州大学
卵巣機能調節用組成物
13日前
国立大学法人信州大学
遺伝子疾患の検出方法
4日前
国立大学法人信州大学
固定子及び可変磁束モータ
1か月前
国立大学法人信州大学
複合材料の製造方法及び複合材料
5日前
国立大学法人信州大学
複合材料の製造方法及び複合材料
5日前
国立大学法人信州大学
複合材料の製造方法及び複合材料
5日前
国立大学法人信州大学
股関節用アシスト機構及びアシスト装置
5日前
国立大学法人信州大学
無線通信ネットワーク内隠れ端末特定方法
3か月前
国立大学法人信州大学
苗育成用灌水装置および苗育成用灌水方法
2か月前
国立大学法人信州大学
反芻動物反芻胃からのメタンガス発生量推定方法
25日前
株式会社ENEOSマテリアル
重合体の製造方法
1か月前
株式会社タクマ
脱水濃縮装置、及び二酸化炭素回収設備
2か月前
国立大学法人京都大学
二酸化炭素を回収する方法および装置
2か月前
住友金属鉱山株式会社
水素生成活性光触媒及びその製造方法
1か月前
国立大学法人信州大学
紐状物およびその製造方法、ならびに農業用誘引紐および梱包用紐
4日前
日本特殊陶業株式会社
微粒子分離装置、及び微粒子分離回収装置
3か月前
日本特殊陶業株式会社
微粒子分離装置、及び微粒子分離回収装置
3か月前
国立大学法人信州大学
紐状物およびその製造方法、ならびに農業用誘引紐および梱包用紐
4日前
株式会社ユーグレナ
パラミロン-セルロース混合繊維及びその製造方法
1か月前
国立大学法人信州大学
フッ素イオン濃度測定用試薬、フッ素イオン濃度測定方法、フッ素イオン濃度測定装置
22日前
国立大学法人信州大学
経口摂取用コリンエステル含有組成物
7日前
株式会社アドマテックス
グラフェン包接多孔質粒子材料の製造方法及び分離膜の製造方法
3か月前
国立大学法人信州大学
触媒及びその製造方法、触媒前駆体及びその製造方法、並びに光反射防止材及びその製造方法
1か月前
オーミケンシ株式会社
セルロース系繊維、及びセルロース系繊維の製造方法
2か月前
国立大学法人信州大学
心理状態改善用組成物、心理状態改善用組成物の製造方法および心理状態改善のためのナスの果実の使用
19日前
丸善製薬株式会社
エストロゲン受容体β mRNA発現促進剤、III型コラーゲン mRNA発現促進剤、エラスチン mRNA発現促進剤、マトリックスメタロプロテアーゼ-1 mRNA発現抑制剤及びマトリックスメタロプロテアーゼ-3 mRNA発現抑制剤
27日前
個人
フレキシブル電気化学素子
4日前
日本発條株式会社
積層体
15日前
ローム株式会社
半導体装置
13日前
ローム株式会社
半導体装置
6日前
ローム株式会社
半導体装置
13日前
ローム株式会社
半導体装置
13日前
株式会社ユーシン
操作装置
4日前
ローム株式会社
半導体装置
11日前
個人
防雪防塵カバー
15日前
続きを見る
他の特許を見る