TOP
|
特許
|
意匠
|
商標
特許ウォッチ
Twitter
他の特許を見る
10個以上の画像は省略されています。
公開番号
2025142709
公報種別
公開特許公報(A)
公開日
2025-10-01
出願番号
2024042220
出願日
2024-03-18
発明の名称
半導体装置
出願人
ローム株式会社
代理人
個人
主分類
H01L
21/52 20060101AFI20250924BHJP(基本的電気素子)
要約
【課題】 半導体素子の接合強度を高めることが可能な半導体装置を提供すること。
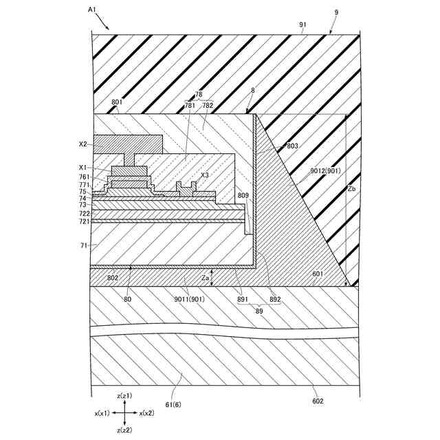
【解決手段】 半導体装置A1は、アイランドリード6と、搭載された半導体素子8と、接合材901と、封止樹脂9とを備える。アイランドリード6は、第1方向zの第1側z1を向く主面601を有する。半導体素子8は、支持層71、複数の機能層73,74,75および絶縁層78を含む素子本体80と金属層89と、を有する。素子本体80は、素子主面801、素子裏面802および1以上の素子側面803を有する。素子側面803は、支持層71および絶縁層78によって構成された部分を含む。金属層89は、底部891と、1以上の側部892と、を含む。接合材901は、底部891および主面601の間に介在する第1部9011と、側部892および主面601の間に介在する第2部9012と、を含む。
【選択図】 図13
特許請求の範囲
【請求項1】
アイランドリードと、
前記アイランドリードに搭載された半導体素子と、
前記アイランドリードおよび前記半導体素子の間に介在する接合材と、
前記半導体素子および前記接合材と前記アイランドリードの少なくとも一部とを覆う封止樹脂とを備え、
前記アイランドリードは、第1方向の第1側を向く主面を有し、
前記半導体素子は、支持層、前記支持層上に積層された複数の機能層および前記複数の機能層を覆う絶縁層を含む素子本体と金属層と、を有し、
前記素子本体は、前記第1方向の第1側を向く素子主面、第2側を向く素子裏面および前記第1方向と交差する方向を向く1以上の素子側面を有し、
前記素子側面は、前記支持層および前記絶縁層によって構成された部分を含み、
前記金属層は、前記素子裏面の少なくとも一部を覆う底部と、各々が前記1以上の素子側面のうち前記支持層および前記絶縁層によって構成された部分の少なくとも一部ずつを覆う1以上の側部と、を含み、
前記接合材は、前記底部および前記主面の間に介在する第1部と、前記側部および前記主面の間に介在する1以上の第2部と、を含む、半導体装置。
続きを表示(約 620 文字)
【請求項2】
前記半導体素子は、前記素子主面に配置されたドレイン電極、ソース電極およびゲート電極を含むHEMT構造である、請求項1に記載の半導体装置。
【請求項3】
前記複数の機能層は、窒化物半導体を含む、請求項2に記載の半導体装置。
【請求項4】
前記側部は、前記素子側面のうち前記支持層によって構成された部分のすべてを覆う、請求項1に記載の半導体装置。
【請求項5】
前記側部は、前記素子側面のうち前記絶縁層によって構成された部分のすべてを覆う、請求項4に記載の半導体装置。
【請求項6】
前記側部は、前記素子側面および前記素子主面の境界に接する、請求項5に記載の半導体装置。
【請求項7】
前記側部は、前記前記素子側面のうち前記絶縁層によって構成された部分の一部を覆う、請求項4に記載の半導体装置。
【請求項8】
前記第2部は、前記側部のすべてを覆う、請求項1に記載の半導体装置。
【請求項9】
前記第2部は、前記側部の一部を覆う、請求項1に記載の半導体装置。
【請求項10】
前記素子本体は、前記第1方向の第2側に凹み且つ前記第1方向と交差する方向に開く凹部を有し、
前記凹部には、前記絶縁層の一部が充填されている、請求項1に記載の半導体装置。
(【請求項11】以降は省略されています)
発明の詳細な説明
【技術分野】
【0001】
本開示は、半導体装置に関する。
続きを表示(約 1,700 文字)
【背景技術】
【0002】
特許文献1に開示された半導体装置は、第1リード、半導体素子および封止樹脂を備える。半導体素子は、第1リードに導電性接合材を介して接合されている。
【先行技術文献】
【特許文献】
【0003】
特開2023-073509号公報
【0004】
[概要]
半導体素子および第1リードの接合強度が不十分であると、不具合の原因となりうる。
【0005】
本開示は、上記した事情のもとで考え出されたものであって、半導体素子の接合強度を高めることが可能な半導体装置を提供することをその課題とする。
【0006】
本開示によって提供される半導体装置は、アイランドリードと、前記アイランドリードに搭載された半導体素子と、前記アイランドリードおよび前記半導体素子の間に介在する接合材と、前記半導体素子および前記接合材と前記アイランドリードの少なくとも一部とを覆う封止樹脂とを備え、前記アイランドリードは、第1方向の第1側を向く主面を有し、前記半導体素子は、支持層、前記支持層上に積層された複数の機能層および前記複数の機能層を覆う絶縁層を含む素子本体と金属層と、を有し、前記素子本体は、前記第1方向の第1側を向く素子主面、第2側を向く素子裏面および前記第1方向と交差する方向を向く1以上の素子側面を有し、前記素子側面は、前記支持層および前記絶縁層によって構成された部分を含み、前記金属層は、前記素子裏面の少なくとも一部を覆う底部と、各々が前記1以上の素子側面のうち前記支持層および前記絶縁層によって構成された部分の少なくとも一部ずつを覆う側部と、を含み、前記接合材は、前記底部および前記主面の間に介在する第1部と、前記側部および前記主面の間に介在する1以上の第2部と、を含む。
【0007】
本開示のその他の特徴および利点は、添付図面を参照して以下に行う詳細な説明によって、より明らかとなろう。
【図面の簡単な説明】
【0008】
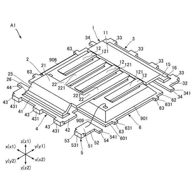
図1は、本開示の第1実施形態に係る半導体装置を示す部分分解斜視図である。
図2は、本開示の第1実施形態に係る半導体装置を示す平面図である。
図3は、本開示の第1実施形態に係る半導体装置を示す部分平面図である。
図4は、本開示の第1実施形態に係る半導体装置を示す底面図である。
図5は、本開示の第1実施形態に係る半導体装置を示す正面図である。
図6は、本開示の第1実施形態に係る半導体装置を示す背面図である。
図7は、本開示の第1実施形態に係る半導体装置を示す左側面図である。
図8は、本開示の第1実施形態に係る半導体装置を示す右側面図である。
図9は、図2のIX-IX線に沿う断面図である。
図10は、図2のX-X線線に沿う断面図である。
図11は、図2のXI-XI線に沿う断面図である。
図12は、図2のXII-XII線に沿う断面図である。
図13は、本開示の第1実施形態に係る半導体装置を示す部分拡大断面図である。
図14は、本開示の第1実施形態に係る半導体装置の第1変形例を示す部分拡大断面図である。
図15は、本開示の第1実施形態に係る半導体装置の第2変形例を示す部分拡大断面図である。
図16は、本開示の第2実施形態に係る半導体装置を示す部分拡大断面図である。
図17は、本開示の第3実施形態に係る半導体装置を示す部分拡大断面図である。
図18は、本開示の第4実施形態に係る半導体装置を示す平面図である。
【0009】
[詳細な説明]
以下、本開示の好ましい実施の形態につき、図面を参照して具体的に説明する。
【0010】
本開示における「第1」、「第2」、「第3」等の用語は、単に識別のために用いたものであり、それらの対象物に順列を付することを意図していない。
(【0011】以降は省略されています)
この特許をJ-PlatPat(特許庁公式サイト)で参照する
関連特許
ローム株式会社
電子装置
2日前
ローム株式会社
監視回路
2日前
ローム株式会社
発振回路
2日前
ローム株式会社
半導体装置
2日前
ローム株式会社
半導体装置
今日
ローム株式会社
半導体装置
今日
ローム株式会社
半導体装置
今日
ローム株式会社
半導体装置
2日前
ローム株式会社
半導体装置
今日
ローム株式会社
縦型ホール素子
2日前
ローム株式会社
TVSダイオード
今日
ローム株式会社
TVSダイオード
今日
ローム株式会社
半導体モジュール
2日前
ローム株式会社
振幅制限回路及びオペアンプ
2日前
ローム株式会社
半導体装置及びデータドライバ
2日前
ローム株式会社
集積回路の異常処理回路および集積回路
2日前
ローム株式会社
受信回路、半導体装置、および表示装置
2日前
ローム株式会社
半導体装置および半導体装置の製造方法
2日前
ローム株式会社
半導体装置、および半導体装置の製造方法
2日前
ローム株式会社
半導体装置、および、半導体装置の製造方法
2日前
ローム株式会社
半導体装置および半導体装置を備える電子機器
2日前
ローム株式会社
半導体装置および半導体装置を備える電子機器
2日前
ローム株式会社
半導体装置
1日前
ローム株式会社
半導体装置
1日前
ローム株式会社
半導体回路の容量算出方法及び半導体回路の容量算出プログラム
2日前
ローム株式会社
電子部品および半導体装置
1日前
ローム株式会社
信号伝達装置および信号伝達装置を備えた電子機器、並びに電子機器を備えた車両
2日前
ローム株式会社
レベルシフト回路、レベルシフト回路を備える半導体装置、および半導体装置を備える電子機器
今日
ローム株式会社
半導体素子、および、当該半導体素子を備えた半導体装置
今日
個人
安全なNAS電池
26日前
日本発條株式会社
積層体
2日前
東レ株式会社
多孔質炭素シート
21日前
個人
フリー型プラグ安全カバー
1か月前
個人
防雪防塵カバー
2日前
ローム株式会社
半導体装置
21日前
ローム株式会社
半導体装置
今日
続きを見る
他の特許を見る