TOP
|
特許
|
意匠
|
商標
特許ウォッチ
Twitter
他の特許を見る
10個以上の画像は省略されています。
公開番号
2025021200
公報種別
公開特許公報(A)
公開日
2025-02-13
出願番号
2023124970
出願日
2023-07-31
発明の名称
歯ブラシ
出願人
株式会社吉野工業所
代理人
個人
,
個人
,
個人
主分類
A46B
7/04 20060101AFI20250205BHJP(ブラシ製品)
要約
【課題】ブラシ本体とハンドルとの着脱を可能にしつつ、使い勝手が良好な、歯ブラシを提供する。
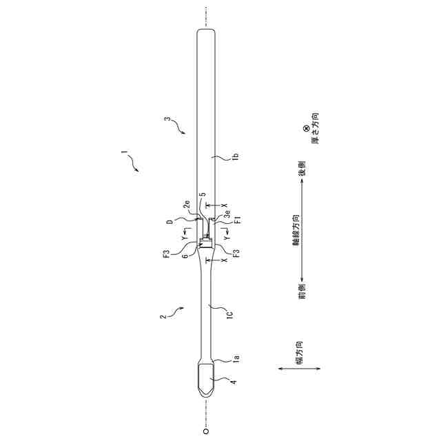
【解決手段】歯ブラシ1は、ブラシ4を備えたブラシ本体2と、把持部1bを備えたハンドル3とを備え、ブラシ本体2とハンドル3とが互いに着脱可能である。ブラシ本体2の着脱側端部の周面に、ハンドル3の着脱側端3eからの突出部をキー5として、当該キー5が嵌め合わせられるキー溝6が形成されている。さらに、ブラシ本体2は、当該ブラシ本体2の着脱側端2eから延在するとともに、ハンドル3に接触する、延長部7を備える。延長部7は、軸線Oを挟んでキー溝6と対向する位置に配置されている。
【選択図】図3
特許請求の範囲
【請求項1】
ブラシを備えたブラシ本体と、把持部を備えたハンドルとを備え、前記ブラシ本体と前記ハンドルとが互いに着脱可能な、歯ブラシであって、
前記ブラシ本体又は前記ハンドルのいずれか一方の着脱側端部の周面に、前記ブラシ本体又は前記ハンドルのいずれか他方の着脱側端からの突出部をキーとして、当該キーが嵌め合わせられるキー溝が形成されており、
さらに、前記ブラシ本体又は前記ハンドルの前記いずれか一方は、当該ブラシ本体又は前記ハンドルの前記いずれか一方の着脱側端から延在するとともに、前記ブラシ本体又は前記ハンドルの前記いずれか他方に接触する、延長部を備えており、前記延長部は、前記ブラシ本体又は前記ハンドルの前記いずれか一方の軸線を挟んで前記キー溝と対向する位置に配置されている、歯ブラシ。
続きを表示(約 900 文字)
【請求項2】
前記ブラシ本体又は前記ハンドルの前記いずれか他方は、前記延長部を収容する段差を備える、請求項1に記載された歯ブラシ。
【請求項3】
前記キーは、前記ブラシ本体又は前記ハンドルの前記いずれか他方の着脱側端から軸線方向に延在するベースと、前記ベースの両側から突出する軸部とを備えており、
前記キーの前記軸部と前記キー溝のうちの前記軸部が収容される軸部収容部分との少なくともいずれか一方は、前記ブラシ本体が前記ハンドルに対して取り付けられた状態で、前記軸部が前記軸部収容部分の溝後面を押圧する位置に配置されている、請求項1に記載された歯ブラシ。
【請求項4】
前記軸部は、前記ベースの前側外方端の位置に配置されており、前記ベースの前端内方端は、前記軸部から前記ブラシ本体又は前記ハンドルの前記いずれか他方の着脱側端に向かうにしたがって内側に向かって傾斜している、請求項3に記載された歯ブラシ。
【請求項5】
前記キー溝のうちの、前記軸部が収容される軸部収容部分は、溝底に向かうにしたがって前記ブラシ本体又は前記ハンドルの前記いずれか一方の着脱側端に向かって傾斜している、請求項3に記載された歯ブラシ。
【請求項6】
前記ブラシ本体又は前記ハンドルの前記いずれか一方の着脱側端と、前記ブラシ本体又は前記ハンドルの前記いずれか他方の着脱側端とのうちの、いずれか一方には、凸部が設けられており、
前記ブラシ本体又は前記ハンドルの前記いずれか一方の着脱側端と、前記ブラシ本体又は前記ハンドルの前記いずれか他方の着脱側端とのうちの、いずれか他方には、前記凸部が合わさる凹部が設けられている、請求項3に記載された歯ブラシ。
【請求項7】
前記凸部又は前記凹部は、前記キー溝の溝底に連なっている、請求項6に記載された歯ブラシ。
【請求項8】
前記ブラシ本体又は前記ハンドルの前記いずれか一方の着脱側端は、後側に向かうにしたがって外側に向かって傾斜している、請求項1に記載された歯ブラシ。
発明の詳細な説明
【技術分野】
【0001】
本発明は、歯ブラシに関する。
続きを表示(約 1,500 文字)
【背景技術】
【0002】
従来の歯ブラシとしては、例えば、ブラシの交換を目的に、ブラシが設けられたヘッド部(ブラシ本体)をハンドル部(ハンドル)に対して抜き差しできるように構成された、ヘッド交換式歯ブラシが知られている(例えば、特許文献1参照。)。また、ヘッドの着脱が可能な歯ブラシには、電動歯ブラシがある(例えば、特許文献2参照。)。
【先行技術文献】
【特許文献】
【0003】
国際公開第2022/145159号
特表2022-551626号公報
【発明の概要】
【発明が解決しようとする課題】
【0004】
しかしながら、従来の歯ブラシのように、ブラシ本体を軸線方向に抜き差しする場合、水等が付着すると、引き抜きづらくなることがある。また、歯ブラシがブラシ本体とハンドルとによって組み立てられる場合、その使い勝手についても、ブラシ本体とハンドルとに分離不可能な一体型の、いわゆる、通常の歯ブラシの使い勝手が損なわれないように留意する必要がある。
【0005】
本発明の目的は、ブラシ本体とハンドルとの着脱を可能にしつつ、使い勝手が良好な、歯ブラシを提供することである。
【課題を解決するための手段】
【0006】
(1)本発明に係る、歯ブラシは、ブラシを備えたブラシ本体と、把持部を備えたハンドルとを備え、前記ブラシ本体と前記ハンドルとが互いに着脱可能な、歯ブラシであって、
前記ブラシ本体又は前記ハンドルのいずれか一方の着脱側端部の周面に、前記ブラシ本体又は前記ハンドルのいずれか他方の着脱側端からの突出部をキーとして、当該キーが嵌め合わせられるキー溝が形成されており、さらに、前記ブラシ本体又は前記ハンドルの前記いずれか一方は、当該ブラシ本体又は前記ハンドルの前記いずれか一方の着脱側端から延在するとともに、前記ブラシ本体又は前記ハンドルの前記いずれか他方に接触する、延長部を備えており、前記延長部は、前記ブラシ本体又は前記ハンドルの前記いずれか一方の軸線を挟んで前記キー溝と対向する位置に配置されている。
【0007】
(2)上記(1)の歯ブラシにおいて、前記ブラシ本体又は前記ハンドルの前記いずれか他方は、前記延長部を収容する段差を備えることが好ましい。
【0008】
(3)上記(1)又は(2)の歯ブラシにおいて、前記キーは、前記ブラシ本体又は前記ハンドルの前記いずれか他方の着脱側端から軸線方向に延在するベースと、前記ベースの両側から突出する軸部とを備えており、前記キーの前記軸部と前記キー溝のうちの前記軸部が収容される軸部収容部分との少なくともいずれか一方は、前記ブラシ本体が前記ハンドルに対して取り付けられた状態で、前記軸部が前記軸部収容部分の溝後面を押圧する位置に配置されているものとすることができる。
【0009】
(4)上記(3)の歯ブラシにおいて、前記軸部は、前記ベースの前側外方端の位置に配置されており、前記ベースの前端内方端は、前記軸部から前記ブラシ本体又は前記ハンドルの前記いずれか他方の着脱側端に向かうにしたがって内側に向かって傾斜しているものとすることができる。
【0010】
(5)上記(3)又は(4)の歯ブラシにおいて、前記キー溝のうちの、前記軸部が収容される軸部収容部分は、溝底に向かうにしたがって前記ブラシ本体又は前記ハンドルの前記いずれか一方の着脱側端に向かって傾斜しているものとすることができる。
(【0011】以降は省略されています)
この特許をJ-PlatPat(特許庁公式サイト)で参照する
関連特許
個人
歯ブラシ
5か月前
個人
歯の清掃具ホルダー
10か月前
個人
歯ブラシ及び緩衝材
1か月前
個人
不織布舌ブラシ
8か月前
個人
歯ブラシ
4か月前
個人
歯磨き用マスク
7か月前
エビス株式会社
歯ブラシ
6か月前
個人
歯ブラシ補助具
6か月前
マクセルイズミ株式会社
電気機器
20日前
個人
歯ブラシ
8か月前
株式会社TBM
歯ブラシ
4か月前
株式会社 資生堂
化粧料塗布具
3か月前
個人
歯ブラシ
3か月前
ライオン株式会社
歯ブラシ
4か月前
株式会社吉野工業所
歯ブラシ
8か月前
株式会社マンダム
ブラシ
5か月前
東レ・モノフィラメント株式会社
ブラシ用毛材
11日前
東レ・モノフィラメント株式会社
ブラシ用毛材
11日前
ライオン株式会社
歯ブラシ
4か月前
ライオン株式会社
歯ブラシ
4か月前
ライオン株式会社
歯ブラシ
4か月前
槌屋ティスコ株式会社
ブラシ体及びその製造方法
11か月前
日南金属工業株式会社
携帯歯ブラシ(ポケット歯ブラシ)
7日前
ライオン株式会社
動物用ブラシ
8か月前
サンスター株式会社
口腔ケア用具のハンドル
4か月前
小林製薬株式会社
歯ブラシ
8か月前
小林製薬株式会社
歯ブラシ
8か月前
小林製薬株式会社
歯ブラシ
8か月前
小林製薬株式会社
歯ブラシ
8か月前
小林製薬株式会社
歯ブラシ
8か月前
サンスター株式会社
歯ブラシ
5か月前
サンスター株式会社
歯ブラシ
5か月前
花王株式会社
口腔ケアセット
4か月前
サンスター株式会社
歯ブラシ
8か月前
有限会社ゼン・コーポレーション
舌ブラシ
10か月前
サンスター株式会社
歯ブラシ
3か月前
続きを見る
他の特許を見る