TOP
|
特許
|
意匠
|
商標
特許ウォッチ
Twitter
他の特許を見る
10個以上の画像は省略されています。
公開番号
2025142801
公報種別
公開特許公報(A)
公開日
2025-10-01
出願番号
2024042371
出願日
2024-03-18
発明の名称
電気機器
出願人
マクセルイズミ株式会社
代理人
個人
主分類
A46B
13/02 20060101AFI20250924BHJP(ブラシ製品)
要約
【課題】機能部材が往復揺動運動を行う電気機器の動作変換構造を改良して、機能部材の先端に設けられた作用部を適切な振幅で往復揺動運動させるとともに、ケーシングの長大化により電気機器全体が大型化することを防ぐ。
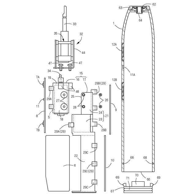
【解決手段】本発明の電気機器の動作変換構造32は、モーター5の出力軸5Aに固定される偏心カム34と、偏心カム34の回転動作を往復揺動動作に変換する揺動変換手段35とを含む。揺動変換手段35は、水平な固定リンクを構成する支持体38と、支持体38よりも下方に配されるとともに駆動軸33が上向きに突設されて、前記固定リンクよりも長尺な連結リンクを構成する駆動体39と、支持体38と駆動体39との間に設けられて、長さ寸法が同一の揺動リンクを構成する左右一対の揺動アーム40・40とを有する両てこ機構で構成する。
【選択図】図1
特許請求の範囲
【請求項1】
グリップを兼ねる上下に長いケーシング(1)と、
ケーシング(1)内に収容されるモーター(5)と、
モーター(5)で動作変換構造(32)を介して駆動される駆動軸(33)と、
ケーシング(1)から上方に伸びるように駆動軸(33)に連結される、作用部(3・103・113)を備える機能部材(2・102・112)と、
を備え、
動作変換構造(32)は、モーター(5)の出力軸(5A)に固定される偏心カム(34)と、偏心カム(34)の回転動作を往復揺動動作に変換する揺動変換手段(35)とを含み、
揺動変換手段(35)が、水平な固定リンクを構成する支持体(38)と、支持体(38)よりも下方に配されるとともに駆動軸(33)が上向きに突設されて、前記固定リンクよりも長尺な連結リンクを構成する駆動体(39)と、支持体(38)と駆動体(39)との間に設けられて、長さ寸法が同一の揺動リンクを構成する左右一対の揺動アーム(40・40)とを有する両てこ機構で構成されていることを特徴とする電気機器。
続きを表示(約 1,300 文字)
【請求項2】
前後一対の支持体(38・38)が設けられており、
各揺動アーム(40)の上側が、一対の支持体(38・38)の間に位置する状態で揺動自在に支持されている請求項1に記載の電気機器。
【請求項3】
各支持体(38)は、上下に伸びる支持縦枠(42)の上端に設けられており、
前後の支持縦枠(42)の下端どうしが前後に伸びる支持横枠(43)で接続されて、一対の支持体(38・38)と一対の支持縦枠(42・42)と支持横枠(43)とで支持枠体(44)が構成されている請求項2に記載の電気機器。
【請求項4】
支持枠体(44)が一体的に形成される金属成形品からなる請求項3に記載の電気機器。
【請求項5】
ケーシング(1)内に配されて、モーター(5)が固定されるモーターホルダー(16)を備えており、
モーター(5)と支持枠体(44)とが、モーターホルダー(16)に固定されている請求項4に記載の電気機器。
【請求項6】
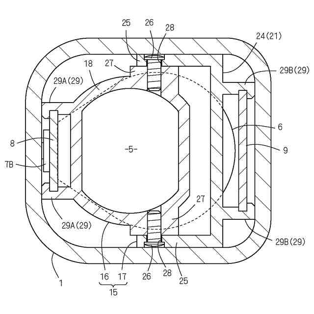
支持体(38)と揺動アーム(40)とが、いずれか一方に設けられる上ピン(55)と、他方に設けられて上ピン(55)に外嵌する上ピン孔(56)とで相対回転自在に連結されており、揺動アーム(40)と駆動体(39)とが、いずれか一方に設けられる下ピン(51)と、他方に設けられて下ピン(51)に外嵌する下ピン孔(54)とで相対回転自在に連結されている請求項1から5のいずれかひとつに記載の電気機器。
【請求項7】
ケーシング(1)内に配される内部フレーム(15)と、モーター(5)の駆動状態を切り替える操作スイッチ(7)が実装されるスイッチ基板(8)とを備えており、
内部フレーム(15)は、モーター(5)が固定されるモーターホルダー(16)と、モーター(5)に駆動電力を供給する電池(6)が固定される電池ホルダー(17)とを含み、
スイッチ基板(8)が、モーターホルダー(16)と電池ホルダー(17)とに跨って保持されている請求項1から4のいずれかひとつに記載の電気機器。
【請求項8】
電気機器の全体を制御する制御部が実装される制御基板(9)を備えており、
内部フレーム(15)の外周面の対向位置に、スイッチ基板(8)と制御基板(9)とが保持されている請求項7に記載の電気機器。
【請求項9】
給電装置(C)の給電コイルと電磁誘導結合可能な受電コイルを備える受電基板(10)を備えており、
制御基板(9)と受電基板(10)とが、上下方向に並んで内部フレーム(15)の外周面に保持されている請求項8に記載の電気機器。
【請求項10】
モーターホルダー(16)は、モーター(5)の側周囲を囲む周壁(18)を備えており、
電池ホルダー(17)に、モーターホルダー(16)の周壁(18)の対向位置に被さる一対の包囲壁(25・25)が設けられている請求項7に記載の電気機器。
(【請求項11】以降は省略されています)
発明の詳細な説明
【技術分野】
【0001】
本発明は、軸体の一端側に作用部が設けられた機能部材が往復揺動運動を行う電動歯ブラシなどの電気機器に関する。
続きを表示(約 1,800 文字)
【背景技術】
【0002】
この種の電気機器の一つである電動歯ブラシは、例えば特許文献1に示すように、上下に長い中空円筒状のケース(ケーシング)と、ケース内で枠に支持される駆動モータと、ケースの上端から突出する歯ブラシ体(機能部材)と、歯ブラシ体が連結される連結棒と、駆動モータの回転動作を左右方向の往復振動に変換する運動変換装置(動作変換構造)などを備える。歯ブラシ体は、上下に長い軸体からなり、その先端側にブラシ毛(作用部)が設けられている。連結棒は、枠の上端に形成されたネック部分により揺動自在に支持されている。駆動モータの回転動作は、運動変換装置を構成する偏心カムと長溝で左右方向の往復振動動作に変換されて連結棒に伝動され、この往復振動動作はネック部分が揺動支点となる、連結棒のシーソー状の往復揺動動作に変換される。以上より、連結棒と連結棒に連結された歯ブラシ体とは、前記ネック部分を揺動支点にして左右方向に往復揺動運動する。
【先行技術文献】
【特許文献】
【0003】
特開平8-357号公報
【発明の概要】
【発明が解決しようとする課題】
【0004】
例えば電動歯ブラシでは、往復揺動運動するブラシ毛(歯ブラシ体の先端)の振幅は比較的小さくすることが望ましい。これは、ブラシ毛の振幅が比較的大きい場合、ブラシ毛を歯に対して押し当てたとき、より広範囲に磨くことができる反面、歯の表面や歯茎を傷つけるおそれがあること、また、歯ブラシ体の往復揺動運動の反力がケースに作用して電動歯ブラシ全体が大きく振動し、目的の位置にブラシ毛を押し当て難くなることに拠る。
【0005】
特許文献1の電動歯ブラシにおいて、揺動支点まわりにシーソー状に往復揺動運動するブラシ毛の振幅を偏心カムと長溝とで変換される往復振動の振動幅よりも小さくするためには、シーソー状に往復揺動運動する連結棒と歯ブラシ体との揺動支点(枠のネック部分)を、偏心カム(運動変換装置)とブラシ毛との間において、ブラシ毛寄りに近付けて設ける必要がある。しかし、連結棒に連結される歯ブラシ体は、口内の奥部まで挿入できる長さが必要であるため、歯ブラシ体の全長の短縮化には限界があり、必然的にネック部分から偏心カムまでの距離を大きくせざるを得ず、その分ケースが長大化して歯ブラシ体が大型化してしまう。
【0006】
本発明は、機能部材が往復揺動運動を行う電気機器の動作変換構造を改良して、機能部材の先端に設けられた作用部を適切な振幅で往復揺動運動させるとともに、ケーシングの長大化により電気機器全体が大型化することを防ぐことを目的とする。
【課題を解決するための手段】
【0007】
本発明に係る電気機器は、グリップを兼ねる上下に長いケーシング1と、ケーシング1内に収容されるモーター5と、モーター5で動作変換構造32を介して駆動される駆動軸33と、ケーシング1から上方に伸びるように駆動軸33に連結される、作用部3・103・113を備える機能部材2・102・112とを備える。動作変換構造32は、モーター5の出力軸5Aに固定される偏心カム34と、偏心カム34の回転動作を往復揺動動作に変換する揺動変換手段35とを含む。そして、揺動変換手段35が、水平な固定リンクを構成する支持体38と、支持体38よりも下方に配されるとともに駆動軸33が上向きに突設されて、前記固定リンクよりも長尺な連結リンクを構成する駆動体39と、支持体38と駆動体39との間に設けられて、長さ寸法が同一の揺動リンクを構成する左右一対の揺動アーム40・40とを有する両てこ機構で構成されていることを特徴とする。
【0008】
前後一対の支持体38・38が設けられており、各揺動アーム40の上側が、一対の支持体38・38の間に位置する状態で揺動自在に支持されている。
【0009】
各支持体38は、上下に伸びる支持縦枠42の上端に設けられている。前後の支持縦枠42の下端どうしが前後に伸びる支持横枠43で接続されて、一対の支持体38・38と一対の支持縦枠42・42と支持横枠43とで支持枠体44が構成されている。
【0010】
支持枠体44が一体的に形成される金属成形品からなる。
(【0011】以降は省略されています)
この特許をJ-PlatPat(特許庁公式サイト)で参照する
関連特許
個人
歯ブラシ
5か月前
個人
歯の清掃具ホルダー
10か月前
個人
歯ブラシ及び緩衝材
1か月前
個人
不織布舌ブラシ
8か月前
個人
歯ブラシ
5か月前
個人
歯磨き用マスク
7か月前
エビス株式会社
歯ブラシ
6か月前
個人
歯ブラシ補助具
6か月前
マクセルイズミ株式会社
電気機器
23日前
個人
歯ブラシ
8か月前
株式会社TBM
歯ブラシ
4か月前
株式会社 資生堂
化粧料塗布具
3か月前
個人
歯ブラシ
4か月前
ライオン株式会社
歯ブラシ
4か月前
株式会社吉野工業所
歯ブラシ
8か月前
株式会社マンダム
ブラシ
5か月前
東レ・モノフィラメント株式会社
ブラシ用毛材
14日前
東レ・モノフィラメント株式会社
ブラシ用毛材
14日前
ライオン株式会社
歯ブラシ
4か月前
ライオン株式会社
歯ブラシ
4か月前
ライオン株式会社
歯ブラシ
4か月前
槌屋ティスコ株式会社
ブラシ体及びその製造方法
11か月前
日南金属工業株式会社
携帯歯ブラシ(ポケット歯ブラシ)
10日前
ライオン株式会社
動物用ブラシ
8か月前
サンスター株式会社
口腔ケア用具のハンドル
4か月前
小林製薬株式会社
歯ブラシ
8か月前
小林製薬株式会社
歯ブラシ
8か月前
小林製薬株式会社
歯ブラシ
8か月前
小林製薬株式会社
歯ブラシ
8か月前
小林製薬株式会社
歯ブラシ
8か月前
サンスター株式会社
歯ブラシ
5か月前
サンスター株式会社
歯ブラシ
5か月前
花王株式会社
口腔ケアセット
4か月前
サンスター株式会社
歯ブラシ
8か月前
有限会社ゼン・コーポレーション
舌ブラシ
11か月前
サンスター株式会社
歯ブラシ
3か月前
続きを見る
他の特許を見る