TOP
|
特許
|
意匠
|
商標
特許ウォッチ
Twitter
他の特許を見る
10個以上の画像は省略されています。
公開番号
2025082732
公報種別
公開特許公報(A)
公開日
2025-05-29
出願番号
2023196264
出願日
2023-11-17
発明の名称
口腔ケアセット
出願人
花王株式会社
代理人
弁理士法人翔和国際特許事務所
主分類
A46B
9/04 20060101AFI20250522BHJP(ブラシ製品)
要約
【課題】優しい当たりで効果的にマッサージすることを可能にして、痛みを与えたり歯茎を傷つけたりせずに、歯茎の血行促進等のマッサージ効果を効果的に得ることができる、口腔ケア製品を提供すること
【解決手段】
口腔ケアセットは、マッサージ用ブラシ10及び口腔用組成物を備える。マッサージ用ブラシ10は、最外周部分に配置された植毛孔15aの外側縁部を連ねて形成される仮想の環状線Pの内側の領域を植毛領域19とし、毛先から1.5mm以内の範囲の表面積を毛先の表面積としたときに、植毛領域19の単位面積あたりの毛先の表面積の総和の割合が2以上100以下である。前記口腔用組成物は、動的粘弾性の測定における、ひずみ0.01%のときの貯蔵弾性率と、ひずみ1.0%のときの貯蔵弾性率との比が、0.5以上5以下である。
【選択図】図1
特許請求の範囲
【請求項1】
マッサージ用ブラシ及び口腔用組成物を備える、口腔ケアセットであって、
前記マッサージ用ブラシは、ヘッド部と、把持部と、ヘッド部と把持部を連結する首部とを有するブラシ本体を備えており、
前記ヘッド部に形成されている植毛孔に、複数本のブリッスルを束ねてなる毛束が各々植設されており、
前記マッサージ用ブラシは、最外周部分に配置された前記植毛孔の外側縁部を連ねて形成される仮想の環状線の内側の領域を植毛領域とし、毛先から1.5mm以内の範囲の表面積を毛先の表面積としたときに、植毛領域の単位面積あたりの毛先の表面積の総和である毛先割合が2以上100以下であり、
前記口腔用組成物は、動的粘弾性の測定における、ひずみ0.01%のときの貯蔵弾性率と、ひずみ1.0%のときの貯蔵弾性率との比が、0.5以上5以下である、
口腔ケアセット。
続きを表示(約 970 文字)
【請求項2】
前記口腔用組成物は、動的粘弾性測定によって取得される貯蔵弾性率と損失弾性率とが、ひずみ4%以上ひずみ1000%以下で交差する、請求項1に記載の口腔ケアセット。
【請求項3】
前記ブリッスルは、先端に向かって断面積が減少するテーパー形状部分を有するテーパーブリッスルを含んでいる、請求項1又は2に記載の口腔ケアセット。
【請求項4】
前記ブリッスルは、前記テーパー形状部分に、分岐した複数本の先端毛を有している、請求項3に記載の口腔ケアセット。
【請求項5】
前記マッサージ用ブラシは、JIS S3016-1995に記載の測定方法で測定したときのブリッスルの座屈強度が60N/cm
2
未満である、請求項1~4の何れか1項に記載の口腔ケアセット。
【請求項6】
前記マッサージ用ブラシは、植設された各々の前記毛束において、複数本の前記ブリッスルは、最も低い毛丈のブリッスルと、最も高い毛丈のブリッスルとの高低差が1.5mm以上5.0mm以下となる範囲で、異なる毛丈で植毛されている、請求項1~5の何れか1項に記載の口腔ケアセット。
【請求項7】
前記口腔用組成物は、多価金属を含む研磨剤の含有量が50質量%以下である、請求項1~6の何れか1項に記載の口腔ケアセット。
【請求項8】
前記口腔用組成物は、糖アルコールの含有量が53質量%以下である、請求項1~7の何れか1項に記載の口腔ケアセット。
【請求項9】
前記口腔用組成物は、顆粒の含有量が11質量%以下である、請求項1~8の何れか1項に記載の口腔ケアセット。
【請求項10】
前記口腔用組成物は、
(A)セタノール(a1)及び/又はステアリルアルコール(a2)を含有する炭素数12以上22以下の高級アルコール、
(B)ソルビタン脂肪酸エステル、及びポリオキシエチレンソルビタン脂肪酸エステルから選ばれる1種又は2種以上のノニオン界面活性剤(b1)を含有する界面活性剤、及び
(C)水
を含有する、請求項1~9の何れか1項に記載の口腔ケアセット。
(【請求項11】以降は省略されています)
発明の詳細な説明
【技術分野】
【0001】
本発明は、口腔ケアセットに関する。
続きを表示(約 2,600 文字)
【背景技術】
【0002】
歯茎をマッサージすることによって、歯茎の血行促進や口腔内の刺激、或いは唾液分泌の促進等を図ることが可能であることから、歯茎をマッサージするための機能を有するマッサージブラシでブラッシングする歯磨方法が、種々開発されている。そのようなマッサージブラシでブラッシングする歯磨方法としては、例えば、特許文献1において、歯垢除去用の刷毛と歯茎マッサージ用のマッサージ部とを併設した歯ブラシでブラッシングする歯磨方法が提案されている。
【先行技術文献】
【特許文献】
【0003】
特開2000-186023号公報
【発明の概要】
【発明が解決しようとする課題】
【0004】
マッサージ用のブラシでブラッシングする歯磨方法は、歯茎に対して力をしっかりと伝えながらも、歯茎に傷をつけずに、優しい当たりでマッサージが行えることが望ましい。しかしながら、特許文献1に記載のマッサージ用ブラシでブラッシングする歯磨方法は、歯茎に加わる力の強さを細かく調整することについて改善の余地があった。
したがって、本発明の課題は、優しい当たりで効果的にマッサージすることを可能にして、痛みを与えたり歯茎を傷つけたりせずに、歯茎の血行促進等のマッサージ効果を効果的に得ることができる、口腔ケア製品を提供することに関する。
【課題を解決するための手段】
【0005】
前記課題を解決すべく本発明者は鋭意検討した結果、特定のマッサージ用ブラシと特定の口腔用組成物との組み合わせよって、優しい当たりで効果的にマッサージすることを可能にして、痛みを与えたり歯茎を傷つけたりせずに、歯茎の血行促進等のマッサージ効果を効果的に得ることができることを知見した。
本発明は前記知見に基づきなされたものであり、マッサージ用ブラシ及び口腔用組成物を備える、口腔ケアセットに関する。
一実施形態として、前記マッサージ用ブラシは、ヘッド部と、把持部と、ヘッド部と把持部を連結する首部とを有するブラシ本体を備えていることが好ましい。
一実施形態として、前記ヘッド部に形成されている植毛孔に、複数本のブリッスルを束ねてなる毛束が各々植設されていることが好ましい。
一実施形態として、前記マッサージ用ブラシは、最外周部分に配置された前記植毛孔の外側縁部を連ねて形成される仮想の環状線の内側の領域を植毛領域とし、毛先から1.5mm以内の範囲の表面積を毛先の表面積としたときに、植毛領域の単位面積あたりの毛先の表面積の総和の割合が2以上100以下であることが好ましい。
一実施形態として、前記口腔用組成物は、動的粘弾性の測定における、ひずみ0.01%のときの貯蔵弾性率と、ひずみ1.0%のときの貯蔵弾性率との比が、0.5以上5以下であることが好ましい。
【発明の効果】
【0006】
本発明の口腔ケアセットによれば、優しい当たりで長時間マッサージすることを可能にして、歯茎を傷つけることなく効果的に歯茎の血行促進を促すことができる。
【図面の簡単な説明】
【0007】
図1は、本発明の好ましい一実施形態に係るマッサージ用ブラシの模式的な平面図である。
図2は、本発明の好ましい一実施形態に係るマッサージ用ブラシの模式的な側面図である。
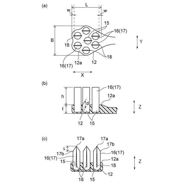
図3(a)は、マッサージ用ブラシの植毛部の模式的な拡大模式平面図、図3(b)は、模式的な拡大模式縦断面図、図3(c)は、模式的な拡大模式横断面図である。
図4(a)は、本発明の好ましい一実施形態に係るマッサージ用ブラシの模式的な要部拡大平面図であり、図4(b)は、別実施形態のマッサージ用ブラシの模式的な要部拡大平面図である。
図5は、付着歯肉の部分の説明図である。
図6は、マッサージ用ブラシを用いて歯茎をマッサージする状況の説明図である。
図7は、マッサージ用ブラシの植毛部の模式的な拡大横断面図である。
図8は、本発明の口腔用組成物の動的粘弾性測定の実施に使用可能な回転式レオメーターの一例の概略構成を示す図である。
図9は、口腔用組成物サンプル1を対象として測定されたひずみ-弾性率曲線のグラフである。
図10は、口腔用組成物サンプル2を対象として測定されたひずみ-弾性率曲線のグラフである。
図11は、口腔用組成物サンプル3を対象として測定されたひずみ-弾性率曲線のグラフである。
図12は、口腔用組成物サンプル4を対象として測定されたひずみ-弾性率曲線のグラフである。
図13は、マッサージ用ブラシのヘッド部の垂直方向にかかる力の時系列データを示すグラフである。
【発明を実施するための形態】
【0008】
以下、マッサージ用ブラシ及び口腔用組成物を備える本発明の口腔ケアセットをその好ましい実施形態に基づき図面を参照しながら説明する。図1には、本発明に係るマッサージ用ブラシの一実施形態が示されている。
【0009】
本実施形態のマッサージ用ブラシ10は、付着歯肉の部分を刺激して歯茎の血行促進を促すようにする歯茎のマッサージ用のブラシであって、ヘッド部12と、把持部13と、ヘッド部12と把持部13を連結する首部14とを有するブラシ本体11を備えている。ヘッド部12は、ブラシ本体11の長手方向の先端部分を構成している。
【0010】
本実施形態のマッサージ用ブラシ10は、図1に示すように平面視において一方向に長い形状を有している。以下、斯かるマッサージ用ブラシ10の長手方向を、単に「長手方向X」といい、該長手方向Xに直交する方向を「短手方向Y」という。
また、本明細書において「上方」は、マッサージ用ブラシ10のブリッスルの先端を鉛直方向の上方に向け、且つヘッド部12を鉛直方向の下方に向けた状態における、鉛直方向の上方であり、「下方」は、当該状態における鉛直方向の下方である。マッサージ用ブラシ10の厚み方向Zは、ブリッスルの延在方向に沿う方向であって、前記の状態における鉛直方向と一致する。
(【0011】以降は省略されています)
この特許をJ-PlatPat(特許庁公式サイト)で参照する
関連特許
個人
歯ブラシ
5か月前
個人
歯の清掃具ホルダー
10か月前
個人
歯ブラシ及び緩衝材
1か月前
個人
不織布舌ブラシ
8か月前
個人
歯ブラシ
4か月前
個人
歯磨き用マスク
7か月前
エビス株式会社
歯ブラシ
6か月前
個人
歯ブラシ補助具
6か月前
マクセルイズミ株式会社
電気機器
20日前
個人
歯ブラシ
8か月前
株式会社TBM
歯ブラシ
4か月前
株式会社 資生堂
化粧料塗布具
3か月前
個人
歯ブラシ
3か月前
ライオン株式会社
歯ブラシ
4か月前
株式会社吉野工業所
歯ブラシ
8か月前
株式会社マンダム
ブラシ
5か月前
東レ・モノフィラメント株式会社
ブラシ用毛材
11日前
東レ・モノフィラメント株式会社
ブラシ用毛材
11日前
ライオン株式会社
歯ブラシ
4か月前
ライオン株式会社
歯ブラシ
4か月前
ライオン株式会社
歯ブラシ
4か月前
槌屋ティスコ株式会社
ブラシ体及びその製造方法
11か月前
日南金属工業株式会社
携帯歯ブラシ(ポケット歯ブラシ)
7日前
ライオン株式会社
動物用ブラシ
8か月前
サンスター株式会社
口腔ケア用具のハンドル
4か月前
小林製薬株式会社
歯ブラシ
8か月前
小林製薬株式会社
歯ブラシ
8か月前
小林製薬株式会社
歯ブラシ
8か月前
小林製薬株式会社
歯ブラシ
8か月前
小林製薬株式会社
歯ブラシ
8か月前
サンスター株式会社
歯ブラシ
5か月前
サンスター株式会社
歯ブラシ
5か月前
花王株式会社
口腔ケアセット
4か月前
サンスター株式会社
歯ブラシ
8か月前
有限会社ゼン・コーポレーション
舌ブラシ
10か月前
サンスター株式会社
歯ブラシ
3か月前
続きを見る
他の特許を見る