TOP
|
特許
|
意匠
|
商標
特許ウォッチ
Twitter
他の特許を見る
10個以上の画像は省略されています。
公開番号
2025047750
公報種別
公開特許公報(A)
公開日
2025-04-03
出願番号
2023156434
出願日
2023-09-21
発明の名称
歯ブラシ補助具
出願人
個人
代理人
個人
,
個人
,
個人
主分類
A46B
17/02 20060101AFI20250326BHJP(ブラシ製品)
要約
【課題】歯ブラシに取り付けて使うことで、短時間で十分に歯の清掃と歯肉マッサージを行うことのできる、歯ブラシ補助具を提供すること。
【解決手段】回転軸垂直方向へ延びる弾性材よりなる毛及び/又は該方向の斜め下へ延びる弾性材よりなる毛を回転軸周囲に有する回転ブラシを少なくとも一対備え、両回転ブラシは歯と歯肉を挟み込むように配され、両回転ブラシが、歯と歯肉を挟み込みながら歯に沿った前後運動に連動して回転し、又は電動回転し、毛が歯と歯肉の側面にあたり曲がりながら歯と歯肉を刷掃する歯ブラシ補助具。本発明の歯ブラシ補助具によれば、これを歯ブラシに取り付け、歯に沿って前後に動かせば、弾性材製の毛でありながら、歯の清掃を十分に行うことができる。さらに、この弾性材製の毛により、歯肉マッサージも同時にできるようになる。
【選択図】図1
特許請求の範囲
【請求項1】
回転軸垂直方向へ延びる弾性材よりなる毛及び/又は該方向の斜め下へ延びる弾性材よりなる毛を回転軸周囲に有する回転ブラシを少なくとも一対備え、両回転ブラシは歯と歯肉を挟み込むように配され、
両回転ブラシの該毛は、歯と歯肉の側面を同時に覆うことができる程度に植毛されており、
両回転ブラシが、歯と歯肉を挟み込みながら歯に沿った前後運動に連動して回転し、又は電動回転し、毛が歯と歯肉の側面にあたり曲がりながら歯と歯肉を刷掃する歯ブラシ補助具。
続きを表示(約 500 文字)
【請求項2】
2方向に分岐した支持部と、それぞれの支持部先端の、回転軸垂直方向へ延びる弾性材よりなる毛及び/又は該方向の斜め下へ延びる弾性材よりなる毛を回転軸周囲に有する回転ブラシ、とからなり、両回転ブラシは歯と歯肉を挟み込むように配され、
両回転ブラシの該毛は、歯の側面と歯肉の側面を同時に覆うことができる程度に植毛されており、
両回転ブラシが、歯と歯肉を挟み込みながら歯に沿った前後運動に連動して回転し、又は電動回転し、毛が歯と歯肉の側面にあたり曲がりながら歯と歯肉を刷掃する歯ブラシ補助具。
【請求項3】
歯ブラシ取り付け部を有する請求項1又は2の歯ブラシ補助具であって、
両回転ブラシの該毛で歯と歯肉を挟み込んだとき、歯ブラシの毛が歯の上面にあたるように歯ブラシを取り付けることのできる、取り付け部を有する、歯ブラシ補助具。
【請求項4】
請求項1又は2の歯ブラシ補助具を備える、補助具付き歯ブラシであって、
該補助具の両回転ブラシの該毛で歯と歯肉を挟み込んだとき、歯ブラシの毛が歯の上面にあたる、補助具付き歯ブラシ。
発明の詳細な説明
【技術分野】
【0001】
本発明は、歯ブラシに取り付けて使うことで、歯の清掃と歯肉マッサージを短時間で十分に行うことを可能にする、歯ブラシ補助具に関する。
続きを表示(約 3,500 文字)
【背景技術】
【0002】
文明の勃興により砂糖が精製できるようになると、高効率のエネルギー源として普及し、口腔内細菌感染症(虫歯、歯周病)の主たる増加原因となっていった。このような環境下、有史以前から人類の歯牙の形態や組織形態に変化がないなか、現代では砂糖の暴露が続き、口腔内は易感染状態にあり、「簡便に磨けない部分」ほど「虫歯」「歯周病」になりやすい状況である。
この「簡便に磨けない部分」に対して、公衆衛生の観点から棒状の歯ブラシによる歯の磨き方の様々なテクニックが開発され、歯科医師のもと個々人の歯牙形態や組織形態に合わせ指導することで、「虫歯」「歯周病」の予防に効果を発揮している。さらに、棒状歯ブラシの改良や電動化、歯間ブラシ等に代表される棒状歯ブラシ以外の補助器具の使用も、「虫歯」「歯周病」の予防に効果を発揮している。
しかしながら、個々人に併せた指導やテクニックの高度化、複数の器具の使用や高額化により、歯磨きの習得、理解、実行に要する時間と労力は肥大しており、これにより、「歯磨き意欲」が低下したり、歯磨きの習慣化がなされず健康被害に至ることが新たな課題となっている。時間と労力のかかるブラッシングは、介護現場でも問題となっている。
また、歯周病予防に対しては、歯肉マッサージが普遍的な対応策である。この歯肉マッサージには、通常のナイロン製の毛を有する歯ブラシを用いると、歯肉を傷つける恐れがある。そもそも適切なブラッシング圧は、歯牙の中でも高い圧が必要な咬合面、その他の歯牙、歯と歯肉の境界、歯肉部分で異なる。これらを歯牙の汚れを取るのと同じ圧力で磨き続けると歯牙の楔状欠損や歯肉の剥離など深刻な健康被害を生ずる場合があり、これらの健康被害を防ぐため様々なブラッシングのテクニックが必要とされる。また、歯肉を傷つけないために、毛がシリコーンゴムなどのゴム製のゴムブラシが使われることが多い。これらは、歯磨きにかかる時間と労力がかかる大きな原因となり、使用器具を増やすことにもなってしまう。
【0003】
歯磨きに要する時間を短縮する歯ブラシとして、例えば、2つの回転ブラシを備え、歯の表面と裏面を同時に清掃できる歯ブラシ(特許文献1)がある。さらに、ブラシを複数有する歯ブラシとして、噛合せ、表面、裏面が一度でみがける、3面歯ブラシが存在する(特許文献2)。しかし、これら歯ブラシは、歯ブラシを歯に沿って前後するだけでは、歯の難清掃部位を十分に清掃することは難しく、さらに毛は通常のナイロン製の毛を想定していると思われ、歯肉をマッサージすることも難しい。無理にマッサージしようとすると、歯肉や頬粘膜を痛める可能性もある。
また、歯の清掃とマッサージの両方の効果をうたう、歯ブラシの毛をゴム製としたゴム歯ブラシもインターネット上で検索される(https://sunsmile.co.jp/brand/harbby/)が、十分な歯の清掃効果が得られるか不明である。
【先行技術文献】
【特許文献】
【0004】
特開2019-162327号公報
実全昭61-204521号公報
【発明の概要】
【発明が解決しようとする課題】
【0005】
本発明の目的は、歯ブラシに取り付けて使うことで、高度なテクニックに頼ることなく、短時間で十分に歯の清掃と歯肉マッサージを行うことのできる、歯ブラシ補助具を提供することである。
【課題を解決するための手段】
【0006】
本発明者は、上記目的を達成するために種々検討の結果、弾性材製の毛を備える2つの回転ブラシで歯と歯肉を挟み込むことで、弾性材製の毛でありながら歯の清掃を十分に行えることを見出だし、さらにその結果、歯の清掃と歯肉マッサージを同時に行うことに成功して、本発明に到達した。すなわち本発明は以下のとおりである。
1.回転軸垂直方向へ延びる弾性材よりなる毛及び/又は該方向の斜め下へ延びる弾性材よりなる毛を回転軸周囲に有する回転ブラシを少なくとも一対備え、両回転ブラシは歯と歯肉を挟み込むように配され、
両回転ブラシの該毛は、歯と歯肉の側面を同時に覆うことができる程度に植毛されており、
両回転ブラシが、歯と歯肉を挟み込みながら歯に沿った前後運動に連動して回転し、又は電動回転し、毛が歯と歯肉の側面にあたり曲がりながら歯と歯肉を刷掃する歯ブラシ補助具。
2.2方向に分岐した支持部と、それぞれの支持部先端の、回転軸垂直方向へ延びる弾性材よりなる毛及び/又は該方向の斜め下へ延びる弾性材よりなる毛を回転軸周囲に有する回転ブラシ、とからなり、両回転ブラシは歯と歯肉を挟み込むように配され、
両回転ブラシの該毛は、歯の側面と歯肉の側面を同時に覆うことができる程度に植毛されており、
両回転ブラシが、歯と歯肉を挟み込みながら歯に沿った前後運動に連動して回転し、又は電動回転し、毛が歯と歯肉の側面にあたり曲がりながら歯と歯肉を刷掃する歯ブラシ補助具。
3.歯ブラシ取り付け部を有する前記1又は2の歯ブラシ補助具であって、
両回転ブラシの該毛で歯と歯肉を挟み込んだとき、歯ブラシの毛が歯の上面にあたるように歯ブラシを取り付けることのできる、取り付け部を有する、歯ブラシ補助具。
4.前記1又は2の歯ブラシ補助具を備える、補助具付き歯ブラシであって、
該補助具の両回転ブラシの該毛で歯と歯肉を挟み込んだとき、歯ブラシの毛が歯の上面にあたる、補助具付き歯ブラシ。
【発明の効果】
【0007】
本発明の歯ブラシ補助具によれば、これを歯ブラシに取り付け、歯に沿って前後に動かせば、弾性材製の毛でありながら、歯の清掃を十分に行うことができる。さらに、弾性材製の毛はもともと歯肉マッサージに適しているので、歯肉マッサージも同時にできるようになる。よって、高度なテクニックに頼ることなく、短時間で、歯の清掃と歯肉マッサージを十分に行うことができるようになる。
【図面の簡単な説明】
【0008】
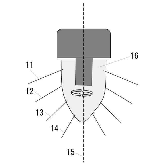
本発明の歯ブラシ補助具の1実施形態を示した。
本発明の歯ブラシ補助具の他の1実施形態を示した(歯ブラシに取り付けられている状態)。
本発明の歯ブラシ補助具(図1に相当、以下同じ)を、正面からみた様子を示した。
歯ブラシ補助具を歯に対して使用している様子を示した。
回転ブラシを模式的に表した図である。
歯に回転ブラシをあてたきの模式図である。
蝶番を開いた状態の歯ブラシ補助具を示した図である。
使用状態の回転ブラシの模式図である
基本的な実験装置を示した。
歯ブラシの角度の調整を可能にした実験装置を示した。
補助具をとりつけないで磨いたときに汚れが残っている様子を示した
補助具をとりつけたときに、汚れの除去が十分に行われた様子を示した。
回転ブラシが2対の補助具を示した。左上2つは回転ブラシを取りつていない部品の状態。右上は補助具を下からみた図、中と下は歯ブラシに取り付けた状態である。
ハンドルのネック側に取り付け部を有する補助具を示した。右は補助具、左は歯ブラシに取り付けた状態である。
ハンドルのネック側に取り付け部を有する補助具の他の実施形態を示した。右は補助具、左は歯ブラシに取り付けた状態である。
[図15]の補助具の回転ブラシを2対にした補助具を示した。右は補助具、左は歯ブラシに取り付けた状態である。
補助具と歯ブラシと一体化した補助具付き歯ブラシを示した。左は上から見た図、右は斜め上から見た図である。
ハンドル部とヘッド部の回転を自由にした補助具付き歯ブラシを示した。左は斜め上から見た図、右は反対側の斜め上からみた図、下は上からみた図である。
【発明を実施するための形態】
【0009】
以下、本発明を、図面を示して詳細に説明するが、本発明はこの図面に記載された歯ブラシ補助具のみに限定されるわけではない。
【0010】
1.本発明の歯ブラシ補助具について
(【0011】以降は省略されています)
この特許をJ-PlatPat(特許庁公式サイト)で参照する
関連特許
個人
歯ブラシ
5か月前
個人
歯の清掃具ホルダー
10か月前
個人
歯ブラシ及び緩衝材
1か月前
個人
不織布舌ブラシ
8か月前
個人
歯ブラシ
5か月前
個人
歯磨き用マスク
7か月前
エビス株式会社
歯ブラシ
6か月前
個人
歯ブラシ補助具
6か月前
マクセルイズミ株式会社
電気機器
23日前
個人
歯ブラシ
8か月前
株式会社TBM
歯ブラシ
4か月前
株式会社 資生堂
化粧料塗布具
3か月前
個人
歯ブラシ
4か月前
ライオン株式会社
歯ブラシ
4か月前
株式会社吉野工業所
歯ブラシ
8か月前
株式会社マンダム
ブラシ
5か月前
東レ・モノフィラメント株式会社
ブラシ用毛材
14日前
東レ・モノフィラメント株式会社
ブラシ用毛材
14日前
ライオン株式会社
歯ブラシ
4か月前
ライオン株式会社
歯ブラシ
4か月前
ライオン株式会社
歯ブラシ
4か月前
槌屋ティスコ株式会社
ブラシ体及びその製造方法
11か月前
日南金属工業株式会社
携帯歯ブラシ(ポケット歯ブラシ)
10日前
ライオン株式会社
動物用ブラシ
8か月前
サンスター株式会社
口腔ケア用具のハンドル
4か月前
小林製薬株式会社
歯ブラシ
8か月前
小林製薬株式会社
歯ブラシ
8か月前
小林製薬株式会社
歯ブラシ
8か月前
小林製薬株式会社
歯ブラシ
8か月前
小林製薬株式会社
歯ブラシ
8か月前
サンスター株式会社
歯ブラシ
5か月前
サンスター株式会社
歯ブラシ
5か月前
花王株式会社
口腔ケアセット
4か月前
サンスター株式会社
歯ブラシ
8か月前
有限会社ゼン・コーポレーション
舌ブラシ
11か月前
サンスター株式会社
歯ブラシ
3か月前
続きを見る
他の特許を見る