TOP
|
特許
|
意匠
|
商標
特許ウォッチ
Twitter
他の特許を見る
10個以上の画像は省略されています。
公開番号
2025140451
公報種別
公開特許公報(A)
公開日
2025-09-29
出願番号
2024039861
出願日
2024-03-14
発明の名称
水素の生産計画システムおよび生産計画方法
出願人
川崎重工業株式会社
代理人
個人
,
個人
,
個人
,
個人
主分類
G06Q
50/06 20240101AFI20250919BHJP(計算;計数)
要約
【課題】水素の生産開始前において、水素の生産時に排出されるGHG値を管理できるようにすることを目的とする。
【解決手段】水素の生産計画システムは、水素生産予定量に基づいて必要生産エネルギー量を算出し、必要生産エネルギー量に対する複数の生産エネルギー源別の使用割合と複数の生産エネルギー源別GHG排出量とに基づいて算出される予測GHG値が、目的GHG条件を満たすように、複数の生産エネルギー源別の使用割合を決定する。
【選択図】図4
特許請求の範囲
【請求項1】
複数の生産エネルギー源に基づいて水素を生産する水素の生産計画システムであって、
水素生産予定量と、目的GHG条件と、複数の生産エネルギー源別GHG排出量と、を記憶する記憶部と、
処理部と、
を備え、
前記処理部は、
前記水素生産予定量に基づいて必要生産エネルギー量を算出し、
前記必要生産エネルギー量に対する前記複数の生産エネルギー源別の使用割合と前記複数の生産エネルギー源別GHG排出量とに基づいて算出される予測GHG値が、前記目的GHG条件を満たすように、前記複数の生産エネルギー源別の使用割合を決定する、水素の生産計画システム。
続きを表示(約 1,700 文字)
【請求項2】
請求項1に記載の水素の生産計画システムであって、
前記記憶部は、複数の生産エネルギー源別コストを記憶し、
前記処理部は、決定された前記複数の生産エネルギー源別の使用割合と、前記複数の生産エネルギー源別コストとに基づいて、前記水素生産予定量に応じた水素の生産コストを算出する、水素の生産計画システム。
【請求項3】
請求項1または請求項2に記載の水素の生産計画システムであって、
前記記憶部は、複数の生産エネルギー源のうちの少なくとも1つに関する生産エネルギー調達可能条件を記憶し、
前記処理部は、決定された前記複数の生産エネルギー源別の使用割合と、前記生産エネルギー調達可能条件とに基づいて、水素の生産の適否を判定する、水素の生産計画システム。
【請求項4】
請求項1または請求項2に記載の水素の生産計画システムであって、
前記記憶部は、水素生産設備の水素生産時における生産エネルギー消費条件を記憶し、
前記処理部は、前記必要生産エネルギー量と、前記生産エネルギー消費条件とに基づいて、水素の生産の適否を判定する、水素の生産計画システム。
【請求項5】
請求項2に記載の水素の生産計画システムであって、
前記処理部は、時間帯別に、前記複数の生産エネルギー源別の使用割合を決定する、水素の生産計画システム。
【請求項6】
請求項5に記載の水素の生産計画システムであって、
前記複数の生産エネルギー源は、再生可能エネルギー源を含み、
前記記憶部は、前記再生可能エネルギー源の供給可能時間帯を記憶し、
前記処理部は、前記再生可能エネルギー源の供給可能時間帯において、前記再生可能エネルギーによる水素生産を優先的に割当てる、水素の生産計画システム。
【請求項7】
請求項5に記載の水素の生産計画システムであって、
前記複数の生産エネルギー源は、時間帯に応じてコストが変動するコスト変動生産エネルギー源を含み、
前記記憶部は、前記コスト変動生産エネルギー源について、時間帯に応じた複数の時間帯別生産エネルギー源別コストを記憶し、
前記処理部は、決定された前記複数の生産エネルギー源別の使用割合と、前記複数の時間帯別生産エネルギー源別コストとに基づいて、前記水素生産予定量に応じた水素の前記生産コストを算出する、水素の生産計画システム。
【請求項8】
請求項7に記載の水素の生産計画システムであって、
前記複数の時間帯別生産エネルギー源別コストは、第1時間帯別生産エネルギー源別コストと、前記第1時間帯別生産エネルギー源別コストよりも低コストである第2時間帯別生産エネルギー源別コストとを含み、
前記処理部は、前記コスト変動生産エネルギー源による生産時間帯を割当てる際に、前記第1時間帯別生産エネルギー源別コストに応じた時間帯よりも前記第2時間帯別生産エネルギー源別コストに応じた時間帯を優先的に割当てる、水素の生産計画システム。
【請求項9】
請求項8に記載の水素の生産計画システムであって、
前記記憶部は、水素の生産設備の連続要否情報を記憶し、
前記処理部は、前記連続要否情報に基づいて前記生産設備の連続運転が必要であると判定されたときに、連続する時間帯で水素の生産を行う連続生産条件下で、前記第1時間帯別生産エネルギー源別コストに応じた時間帯よりも前記第2時間帯別生産エネルギー源別コストに応じた時間帯を優先的に割当て、前記生産設備の連続運転が不要であるときに、連続生産条件を外して、前記第1時間帯別生産エネルギー源別コストに応じた時間帯よりも前記第2時間帯別生産エネルギー源別コストに応じた時間帯を優先的に割当てる、水素の生産計画システム。
【請求項10】
請求項1または請求項2に記載の水素の生産計画システムであって、
前記生産エネルギー源は、電力源である、水素の生産計画システム。
(【請求項11】以降は省略されています)
発明の詳細な説明
【技術分野】
【0001】
この開示は、水素の生産計画を行うための技術に関する。
続きを表示(約 1,400 文字)
【背景技術】
【0002】
特許文献1は、二酸化炭素の同位体を同時測定することで、炭素の源、例えば、産業発生源、農業起源、または自然源、を特定する技術を開示している。
【先行技術文献】
【特許文献】
【0003】
特開2014―211451号公報
【発明の概要】
【発明が解決しようとする課題】
【0004】
ところで、水素を生産する際にGHG(Green house Gas)が発生する場合がある。水素の生産開始前に、水素の生産時に排出されるGHGの量であるGHG値を管理できるようにすることが望まれる。
【0005】
特許文献1に開示の技術は、排出済の二酸化炭素を監視するものであり、水素の生産開始前におけるGHG値の管理には役立たない。
【0006】
そこで、本開示は、水素の生産開始前において、水素の生産時に排出されるGHG値を管理できるようにすることを目的とする。
【課題を解決するための手段】
【0007】
水素の生産計画システムは、複数の生産エネルギー源に基づいて水素を生産する水素の生産計画システムであって、水素生産予定量と、目的GHG条件と、複数の生産エネルギー源別GHG排出量と、を記憶する記憶部と、処理部と、を備え、前記処理部は、前記水素生産予定量に基づいて必要生産エネルギー量を算出し、前記必要生産エネルギー量に対する前記複数の生産エネルギー源別の使用割合と前記複数の生産エネルギー源別GHG排出量とに基づいて算出される予測GHG値が、前記目的GHG条件を満たすように、前記複数の生産エネルギー源別の使用割合を決定する、水素の生産計画システムである。
【0008】
また、水素の生産計画方法は、複数の生産エネルギー源に基づいて水素を生産する水素の生産計画方法であって、水素生産予定量に基づいて必要生産エネルギー量を算出し、前記必要生産エネルギー量に対する前記複数の生産エネルギー源別の使用割合と複数の生産エネルギー源別GHG排出量とに基づいて算出される予測GHG値が、目的GHG条件を満たすように、前記複数の生産エネルギー源別の使用割合を決定する、水素の生産計画方法である。
【発明の効果】
【0009】
本開示によると、水素の生産開始前において、水素の生産時に排出されるGHG値を管理できる。
【図面の簡単な説明】
【0010】
図1は水素を生産するためのエネルギーの流れを示す説明図である。
図2は再生可能エネルギー電力導入比率に対する水素のGHG値および水素の生産コストの一例を示す図である。
図3は水素生産計画装置を示すブロック図である。
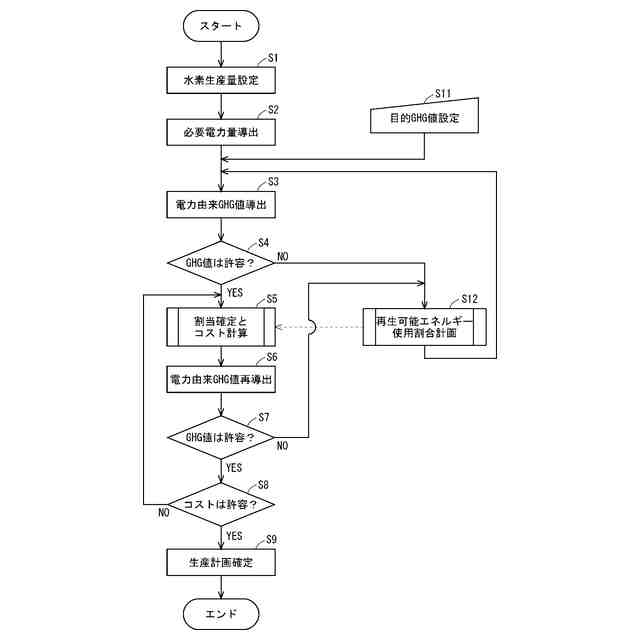
図4は水素生産計画装置の処理例を示すフローチャートである。
図5は水素生産計画装置の処理例を示すフローチャートである。
図6は水素生産計画装置の処理例を示すフローチャートである。
図7は時間帯に対する電力量の割当例を示す説明図である。
図8は時間帯に対する電力量の割当例を示す説明図である。
図9は時間帯に対する電力量の割当例を示す説明図である。
図10は時間帯に対する電力量の割当例を示す説明図である。
【発明を実施するための形態】
(【0011】以降は省略されています)
この特許をJ-PlatPat(特許庁公式サイト)で参照する
関連特許
川崎重工業株式会社
ハンド
今日
川崎重工業株式会社
断熱配管
今日
川崎重工業株式会社
塗装システム
今日
川崎重工業株式会社
監視システム
1日前
川崎重工業株式会社
配管の支持構造
1日前
川崎重工業株式会社
ロボットシステム
1日前
川崎重工業株式会社
ロボットシステム
1日前
川崎重工業株式会社
ワーク搬送ロボット
今日
川崎重工業株式会社
極低温流体用配管設備
2日前
川崎重工業株式会社
締結方法及び締結装置
7日前
川崎重工業株式会社
ロボットの診断システム
1日前
株式会社キッツ
逆流防止弁
1日前
川崎重工業株式会社
支援システムおよび支援方法
今日
川崎重工業株式会社
経路作成方法及び経路作成装置
今日
川崎重工業株式会社
アンモニア回収システム及び方法
今日
川崎重工業株式会社
配管の接続構造および配管システム
3日前
川崎重工業株式会社
ロボットシステム及びその動作方法
2日前
川崎重工業株式会社
手術支援システムおよび手術支援方法
今日
川崎重工業株式会社
ロボットハンドおよびロボットシステム
今日
川崎重工業株式会社
手術ロボットシステムおよびその制御方法
今日
川崎重工業株式会社
手術ロボットシステムおよびその制御方法
今日
川崎重工業株式会社
手術ロボットシステムおよびその制御方法
今日
川崎重工業株式会社
手術ロボットシステムおよびその制御方法
今日
川崎重工業株式会社
ワーク搬送ロボットおよびロボット制御方法
今日
川崎重工業株式会社
油圧ショベルの油圧システムおよびブーム制御弁
3日前
川崎重工業株式会社
ロボットシステムの制御方法及びロボットシステム
1日前
川崎重工業株式会社
船舶の推進システム、制御プログラムおよび制御方法
今日
川崎重工業株式会社
手術支援システム、手術支援方法および情報提供方法
今日
川崎重工業株式会社
ワーク搬送ロボットおよびワーク搬送ロボットの制御方法
今日
川崎重工業株式会社
ポート配置決定装置、手術ロボットシステムおよびその制御方法
今日
川崎重工業株式会社
極低温用圧縮設備、及びそれを備えるボイルオフガス液化システム
2日前
川崎重工業株式会社
手術支援ロボット、手術支援システムおよび手術支援ロボットの制御方法
2日前
個人
地球保全システム
9日前
個人
工程設計支援装置
1か月前
個人
QRコードの彩色
今日
個人
フラワーコートA
2か月前
続きを見る
他の特許を見る