TOP
|
特許
|
意匠
|
商標
特許ウォッチ
Twitter
他の特許を見る
公開番号
2025137026
公報種別
公開特許公報(A)
公開日
2025-09-19
出願番号
2024035994
出願日
2024-03-08
発明の名称
焼却灰の骨材化システムおよび骨材化方法
出願人
川崎重工業株式会社
代理人
弁理士法人有古特許事務所
主分類
B09B
3/70 20220101AFI20250911BHJP(固体廃棄物の処理;汚染土壌の再生)
要約
【課題】 低比重選別灰を総じて品質の良い骨材にできる焼却灰の骨材化システムおよび骨材化方法を提供する。
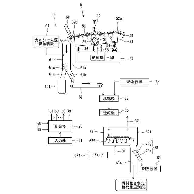
【解決手段】 廃棄物の焼却灰が高比重選別灰と低比重選別灰とに選別されたうちの低比重選別灰が供給され、低比重選別灰を水と混錬する混錬機65と、混錬された低比重選別灰を粒状に成形する造粒機66と、造粒機66で成形された粒状の低比重選別灰を搬送しながら二酸化炭素を含む排ガスに暴露することにより、粒状の低比重選別灰の炭酸化を行う炭酸化処理装置67と、混錬機65へ供給される低比重選別灰に含まれるカルシウムの濃度を検出する検出器68と、混錬機65へ供給される低比重選別灰にカルシウム源を添加することができるカルシウム源供給装置63と、制御器90と、を備え、制御器90は、検出器68の検出濃度が所定濃度以下の場合に、カルシウム源供給装置63に混錬機65へ供給される低比重選別灰にカルシウム源を添加させる。
【選択図】 図2
特許請求の範囲
【請求項1】
廃棄物を焼却する焼却炉から排出されて粒径が所定範囲内に揃えられた廃棄物の焼却灰が、比重の大きい粒子を主な構成要素とする高比重選別灰と比重の小さい粒子を主な構成要素とする低比重選別灰とに選別されたうちの前記低比重選別灰が供給され、前記低比重選別灰を水と混錬する混錬機と、
前記混錬機で混錬された低比重選別灰を粒状に成形する造粒機と、
前記焼却炉から排出され浄化処理された二酸化炭素を含む排ガスを引込んで、前記造粒機で成形された粒状の低比重選別灰を搬送しながら前記排ガスに暴露することにより、前記粒状の低比重選別灰の炭酸化を行う炭酸化処理装置と、
前記混錬機へ供給される低比重選別灰に含まれるカルシウムの濃度を検出する検出器と、
前記混錬機へ供給される低比重選別灰にカルシウム源を添加することができるカルシウム源供給装置と、
制御器と、を備え、
前記制御器は、
前記検出器の検出濃度が所定濃度以下の場合に、前記カルシウム源供給装置に前記混錬機へ供給される低比重選別灰にカルシウム源を添加させる、
焼却灰の骨材化システム。
続きを表示(約 820 文字)
【請求項2】
前記炭酸化処理装置で炭酸化された前記粒状の低比重選別灰の硬さに関する値を定期的に測定する測定装置をさらに備え、
前記制御器は、
前記測定装置の測定値が所定値以下の場合に、前記炭酸化処理装置における前記粒状の低比重選別灰を前記排ガスに暴露する時間を増加させる制御、前記炭酸化処理装置における前記排ガスの引込み量を増加させる制御、および、前記混錬機へ供給される低比重選別灰の量を減少させる制御、のうちの少なくとも1つの制御を実施する、
請求項1に記載の焼却灰の骨材化システム。
【請求項3】
前記測定装置は、前記硬さに関する値として、前記炭酸化処理装置で炭酸化された前記粒状の低比重選別灰の硬度を測定する、
請求項2に記載の焼却灰の骨材化システム。
【請求項4】
前記測定装置は、前記硬さに関する値として、前記炭酸化処理装置で炭酸化された前記粒状の低比重選別灰に含まれる炭酸カルシウムの重量割合を測定する、
請求項2に記載の焼却灰の骨材化システム。
【請求項5】
廃棄物を焼却する焼却炉から排出されて粒径が所定範囲内に揃えられた廃棄物の焼却灰が、比重の大きい粒子を主な構成要素とする高比重選別灰と比重の小さい粒子を主な構成要素とする低比重選別灰とに選別されたうちの前記低比重選別灰を水と混錬し、
前記混錬された低比重選別灰を粒状に成形し、
前記焼却炉から排出され浄化処理された二酸化炭素を含む排ガスを引込んで、前記成形された粒状の低比重選別灰を搬送しながら前記排ガスに暴露して、前記粒状の低比重選別灰の炭酸化を行い、
前記混錬される前の低比重選別灰に含まれるカルシウムの濃度を検出し、当該検出濃度が所定濃度以下の場合に、前記混錬される前の低比重選別灰にカルシウム源を添加する、
焼却灰の骨材化方法。
発明の詳細な説明
【技術分野】
【0001】
本開示は、焼却灰の骨材化システムおよび骨材化方法に関する。
続きを表示(約 1,700 文字)
【背景技術】
【0002】
従来、都市ごみなどの廃棄物は焼却炉で焼却され、焼却によって生じる焼却灰は最終処分場に埋立処分されていた。
【0003】
近年、焼却灰から金属を回収してリサイクルしたり、金属が除去された焼却灰を骨材化して土木資材等に有効利用する試みがなされている。これにより、最終処分場への焼却灰の搬入量を低減し、最終処分場の延命化を図ることもできる。
【0004】
特許文献1には、廃棄物の焼却灰を比重選別装置によって高比重選別灰と低比重選別灰とに選別し、さらに炭酸化処理装置によって、低比重選別灰に、焼却炉から排出され浄化処理された排ガスを接触させて、低比重選別灰の炭酸化を行うことが記載されている。
【先行技術文献】
【特許文献】
【0005】
特開2023-43984号公報
【発明の概要】
【発明が解決しようとする課題】
【0006】
特許文献1における炭酸化処理装置では、水と排ガスが供給されるスクリュー型造粒機によって低比重選別灰を炭酸化を行いながら粒状に成形し、この粒状の低比重選別灰をコンベアで搬送しながら排ガスに曝すことによって炭酸化を促進するようにしている。このように炭酸化された粒状の低比重選別灰は、比重選別装置によって選別された低比重選別灰が骨材化されており、土木資材等として有効利用することができる。この特許文献1の構成では、低比重選別灰を品質の良い骨材にすることに関して、改善の余地がある。
【0007】
本開示は上記のような課題を解決するためになされたもので、低比重選別灰を総じて品質の良い骨材にすることができる焼却灰の骨材化システムおよび骨材化方法を提供することを目的としている。
【課題を解決するための手段】
【0008】
上記目的を達成するために、本開示のある態様に係る焼却灰の骨材化システムは、廃棄物を焼却する焼却炉から排出されて粒径が所定範囲内に揃えられた廃棄物の焼却灰が、比重の大きい粒子を主な構成要素とする高比重選別灰と比重の小さい粒子を主な構成要素とする低比重選別灰とに選別されたうちの前記低比重選別灰が供給され、前記低比重選別灰を水と混錬する混錬機と、前記混錬機で混錬された低比重選別灰を粒状に成形する造粒機と、前記焼却炉から排出され浄化処理された二酸化炭素を含む排ガスを引込んで、前記造粒機で成形された粒状の低比重選別灰を搬送しながら前記排ガスに暴露することにより、前記粒状の低比重選別灰の炭酸化を行う炭酸化処理装置と、前記混錬機へ供給される低比重選別灰に含まれるカルシウムの濃度を検出する検出器と、前記混錬機へ供給される低比重選別灰にカルシウム源を添加することができるカルシウム源供給装置と、制御器と、を備え、前記制御器は、前記検出器の検出濃度が所定濃度以下の場合に、前記カルシウム源供給装置に前記混錬機へ供給される低比重選別灰にカルシウム源を添加させる。
【0009】
また、本開示のある態様に係る焼却灰の骨材化方法は、廃棄物を焼却する焼却炉から排出されて粒径が所定範囲内に揃えられた廃棄物の焼却灰が、比重の大きい粒子を主な構成要素とする高比重選別灰と比重の小さい粒子を主な構成要素とする低比重選別灰とに選別されたうちの前記低比重選別灰を水と混錬し、前記混錬された低比重選別灰を粒状に成形し、前記焼却炉から排出され浄化処理された二酸化炭素を含む排ガスを引込んで、前記成形された粒状の低比重選別灰を搬送しながら前記排ガスに暴露して、前記粒状の低比重選別灰の炭酸化を行い、前記混錬される前の低比重選別灰に含まれるカルシウムの濃度を検出し、当該検出濃度が所定濃度以下の場合に、前記混錬される前の低比重選別灰にカルシウム源を添加する。
【発明の効果】
【0010】
本開示は、以上に説明した構成を有し、低比重選別灰を総じて品質の良い骨材にすることができる焼却灰の骨材化システムおよび骨材化方法を提供することができるという効果を奏する。
【図面の簡単な説明】
(【0011】以降は省略されています)
この特許をJ-PlatPat(特許庁公式サイト)で参照する
関連特許
川崎重工業株式会社
ハンド
5日前
川崎重工業株式会社
断熱配管
5日前
川崎重工業株式会社
塗装システム
5日前
川崎重工業株式会社
監視システム
6日前
川崎重工業株式会社
配管の支持構造
6日前
川崎重工業株式会社
ロボットシステム
6日前
川崎重工業株式会社
ロボットシステム
6日前
川崎重工業株式会社
ワーク搬送ロボット
5日前
川崎重工業株式会社
極低温流体用配管設備
7日前
川崎重工業株式会社
ロボットの診断システム
6日前
株式会社キッツ
逆流防止弁
6日前
川崎重工業株式会社
支援システムおよび支援方法
5日前
川崎重工業株式会社
経路作成方法及び経路作成装置
5日前
川崎重工業株式会社
アンモニア回収システム及び方法
5日前
川崎重工業株式会社
ロボットシステム及びその動作方法
7日前
川崎重工業株式会社
手術支援システムおよび手術支援方法
5日前
川崎重工業株式会社
ロボットハンドおよびロボットシステム
5日前
川崎重工業株式会社
手術ロボットシステムおよびその制御方法
5日前
川崎重工業株式会社
手術ロボットシステムおよびその制御方法
5日前
川崎重工業株式会社
手術ロボットシステムおよびその制御方法
5日前
川崎重工業株式会社
手術ロボットシステムおよびその制御方法
5日前
川崎重工業株式会社
ワーク搬送ロボットおよびロボット制御方法
5日前
川崎重工業株式会社
ロボットシステムの制御方法及びロボットシステム
6日前
川崎重工業株式会社
船舶の推進システム、制御プログラムおよび制御方法
5日前
川崎重工業株式会社
手術支援システム、手術支援方法および情報提供方法
5日前
川崎重工業株式会社
ポペット弁装置、及びそれを備える液圧駆動システム
1日前
川崎重工業株式会社
ワーク搬送ロボットおよびワーク搬送ロボットの制御方法
5日前
川崎重工業株式会社
ポート配置決定装置、手術ロボットシステムおよびその制御方法
5日前
川崎重工業株式会社
極低温用圧縮設備、及びそれを備えるボイルオフガス液化システム
7日前
川崎重工業株式会社
摩擦攪拌ツールの制御方法及び摩擦攪拌装置
1日前
川崎重工業株式会社
状態監視装置、状態監視方法及び状態監視プログラム
1日前
ダイハツ工業株式会社
発酵システム
2か月前
トヨタ自動車株式会社
空箱処理装置
2か月前
トヨタ自動車株式会社
空箱処理装置
2か月前
花王株式会社
焼却灰の処理方法
26日前
花王株式会社
焼却灰の処理方法
26日前
続きを見る
他の特許を見る