TOP
|
特許
|
意匠
|
商標
特許ウォッチ
Twitter
他の特許を見る
公開番号
2025136867
公報種別
公開特許公報(A)
公開日
2025-09-19
出願番号
2024035779
出願日
2024-03-08
発明の名称
燃料供給装置及びエンジンシステム
出願人
ヤンマーホールディングス株式会社
,
川崎重工業株式会社
,
株式会社ジャパンエンジンコーポレーション
代理人
個人
,
個人
主分類
F02M
21/02 20060101AFI20250911BHJP(燃焼機関;熱ガスまたは燃焼生成物を利用する機関設備)
要約
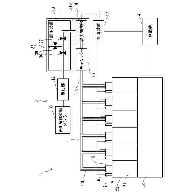
【課題】気体燃料の供給量をより細密に制御して、エンジンの出力制御を細密に行うことができる燃料供給装置及びエンジンシステムを提供する。
【解決手段】
エンジン2等の所定の供給対象に向けて少なくとも気体燃料を供給する燃料供給装置3は、供給対象に対して気体燃料の供給量を調整して供給する気体燃料調整部である気体燃料供給部16と、気体燃料供給部16に供給する気体燃料の温度を供給対象の運転状態及び/又は運転環境に応じて調整する温度調整部14と、を備える。
【選択図】図1
特許請求の範囲
【請求項1】
所定の供給対象に向けて少なくとも気体燃料を供給する燃料供給装置であって、
前記供給対象に対して前記気体燃料の供給量を調整して供給する気体燃料調整部と、
前記気体燃料調整部に供給する前記気体燃料の温度を前記供給対象の運転状態及び/又は運転環境に応じて調整する温度調整部と、を備えることを特徴とする燃料供給装置。
続きを表示(約 1,500 文字)
【請求項2】
所定の供給対象に向けて少なくとも気体燃料を供給する燃料供給装置であって、
前記供給対象に対して前記気体燃料の供給量を調整して供給する気体燃料調整部と、
前記気体燃料調整部に供給する前記気体燃料の供給圧を前記供給対象の運転状態及び/又は運転環境に応じて調整する供給圧調整部と、を備えることを特徴とする燃料供給装置。
【請求項3】
前記気体燃料の供給圧を調整する調圧装置を備え、
前記温度調整部は、前記気体燃料の供給方向において前記調圧装置と前記気体燃料調整部との間に設けられることを特徴とする請求項1に記載の燃料供給装置。
【請求項4】
前記気体燃料を貯留する気体燃料貯留部と
前記気体燃料貯留部と前記気体燃料調整部とを接続して、前記気体燃料を流通させる気体燃料供給通路と、を備え、
前記調圧装置及び前記温度調整部は、前記気体燃料供給通路に設けられることを特徴とする請求項3に記載の燃料供給装置。
【請求項5】
前記温度調整部と前記気体燃料調整部との間に設けられ、温度の調整された前記気体燃料を蓄積するチャンバーを備えることを特徴とする請求項1に記載の燃料供給装置。
【請求項6】
前記供給対象は、複数の気筒を備えるエンジンであり、
前記気体燃料調整部は、前記複数の気筒のそれぞれに備わる気体燃料供給弁であり、
前記気体燃料供給通路は、前記複数の気筒に共通して前記気体燃料を流通させる共通通路を備え、
前記温度調整部は、前記共通通路に設けられることを特徴とする請求項4に記載の燃料供給装置。
【請求項7】
請求項6に記載の燃料供給装置と、
前記エンジンと、を備えるエンジンシステムであって、
前記温度調整部は、熱交換媒体を流通させて前記気体燃料に作用させる熱交換部と、当該熱交換媒体の流量を調整する流量調整部と、を有し、
前記気体燃料調整部及び前記流量調整部を制御する制御装置を更に備え、
前記制御装置は、前記エンジンの目標出力に基づいて前記気体燃料の目標温度を算出し、
前記気体燃料の検知温度が前記目標温度未満である場合、前記検知温度が前記目標温度となるように前記流量調整部を制御して前記気体燃料を昇温することを特徴とするエンジンシステム。
【請求項8】
請求項6に記載の燃料供給装置と、
前記エンジンと、を備えるエンジンシステムであって、
前記温度調整部は、熱交換媒体を流通させて前記気体燃料に作用させる熱交換部と、当該熱交換媒体の流量を調整する流量調整部と、を有し、
前記気体燃料調整部及び前記流量調整部を制御する制御装置を更に備え、
前記制御装置は、前記エンジンの目標出力が所定の出力閾値以上である場合、前記熱交換媒体の流通を停止するように前記流量調整部を制御することを特徴とするエンジンシステム。
【請求項9】
請求項6に記載の燃料供給装置と、
前記エンジンと、を備えるエンジンシステムであって、
前記温度調整部は、熱交換媒体を流通させて前記気体燃料に作用させる熱交換部と、当該熱交換媒体を冷却する冷却装置と、を有し、
前記気体燃料調整部及び前記冷却装置を制御する制御装置を更に備え、
前記制御装置は、前記エンジンの目標出力が所定の出力閾値以上である場合、前記冷却装置を作動させるように制御することを特徴とするエンジンシステム。
発明の詳細な説明
【技術分野】
【0001】
本発明は、エンジン等の供給対象に向けて少なくとも気体燃料を供給する燃料供給装置及び当該燃料供給装置を備えるエンジンシステムに関する。
続きを表示(約 1,600 文字)
【背景技術】
【0002】
従来、ガスエンジンやデュアルフュエルエンジンを備えるエンジンシステムでは、水素等の気体燃料をシリンダ内の燃焼室に投入するために、GAV(Gas Admission Valve)等の気体燃料供給弁を備えている。
【0003】
また、特許文献1に開示されるエンジンシステムでは、少なくとも気体燃料を燃焼させて動力を発生するエンジンと、エンジンに気体燃料を供給する気体燃料供給管と、気体燃料供給管への気体燃料の流量を調整する燃料流量調整部とを備えている。
【先行技術文献】
【特許文献】
【0004】
特開2022-149336号公報
【発明の概要】
【発明が解決しようとする課題】
【0005】
ところで、エンジンシステムでは、エンジンの出力制御を細密に行うために、気体燃料供給弁の開弁期間や燃料流量調整部による気体燃料噴射量を調整する必要がある。しかしながら、エンジンシステムでは、気体燃料供給弁に最小噴射期間が制約されているため、低負荷域の気体燃料噴射量を精度よく制御することが困難であり、最小噴射期間でのエンジン出力を下回るような微小なエンジン出力を適切に制御することが困難である。
【0006】
本発明は、気体燃料の供給量をより細密に制御して、エンジンの出力制御を細密に行うことができる燃料供給装置及びエンジンシステムを提供することを目的とする。
【課題を解決するための手段】
【0007】
上記課題を解決するために、本発明の燃料供給装置は、所定の供給対象に向けて少なくとも気体燃料を供給する燃料供給装置であって、前記供給対象に対して前記気体燃料の供給量を調整して供給する気体燃料調整部と、前記気体燃料調整部に供給する前記気体燃料の温度を前記供給対象の運転状態及び/又は運転環境に応じて調整する温度調整部と、を備えることを特徴とする。
【0008】
あるいは、本発明の燃料供給装置は、所定の供給対象に向けて少なくとも気体燃料を供給する燃料供給装置であって、前記供給対象に対して前記気体燃料の供給量を調整して供給する気体燃料調整部と、前記気体燃料調整部に供給する前記気体燃料の供給圧を前記供給対象の運転状態及び/又は運転環境に応じて調整する供給圧調整部と、を備えることを特徴とする。
【0009】
また、本発明のエンジンシステムは、上記した燃料供給装置と、前記供給対象である前記エンジンと、を備えるエンジンシステムであって、前記温度調整部は、熱交換媒体を流通させて前記気体燃料に作用させる熱交換部と、当該熱交換媒体の流量を調整する流量調整部と、を有し、前記気体燃料調整部及び前記流量調整部を制御する制御装置を更に備え、前記制御装置は、前記エンジンの目標出力に基づいて前記気体燃料の目標温度を算出し、前記気体燃料の検知温度が前記目標温度未満である場合、前記検知温度が前記目標温度となるように前記流量調整部を制御して前記気体燃料を昇温することを特徴とする。
【0010】
あるいは、本発明のエンジンシステムは、上記した燃料供給装置と、前記供給対象である前記エンジンと、を備えるエンジンシステムであって、前記温度調整部は、熱交換媒体を流通させて前記気体燃料に作用させる熱交換部と、当該熱交換媒体の流量を調整する流量調整部と、を有し、前記気体燃料調整部及び前記流量調整部を制御する制御装置を更に備え、前記制御装置は、前記エンジンの目標出力が所定の出力閾値以上である場合、前記熱交換媒体の流通を停止するように前記流量調整部を制御することを特徴とする。
(【0011】以降は省略されています)
この特許をJ-PlatPat(特許庁公式サイト)で参照する
関連特許
トヨタ自動車株式会社
車両
1か月前
トヨタ自動車株式会社
車両
1か月前
トヨタ自動車株式会社
車両
28日前
ダイハツ工業株式会社
車両
26日前
スズキ株式会社
車両の制御装置
19日前
ダイハツ工業株式会社
制御装置
25日前
ダイハツ工業株式会社
制御装置
25日前
ダイハツ工業株式会社
制御装置
25日前
スズキ株式会社
内燃機関の制御装置
28日前
トヨタ自動車株式会社
内燃機関
17日前
トヨタ自動車株式会社
車両の制御装置
17日前
株式会社SUBARU
エンジン制御装置
25日前
株式会社SUBARU
エンジン制御装置
19日前
朝日電装株式会社
スロットルグリップ装置
7日前
トヨタ自動車株式会社
内燃機関の制御装置
28日前
株式会社IHI原動機
脈動減衰装置
17日前
個人
流体式推力方向制御装置
7日前
トヨタ自動車株式会社
閾値の設定装置
7日前
トヨタ自動車株式会社
車両の制御装置
1か月前
トヨタ自動車株式会社
エンジン制御装置
3日前
日産自動車株式会社
内燃機関
3日前
日産自動車株式会社
内燃機関
3日前
トヨタ自動車株式会社
内燃機関の制御装置
28日前
本田技研工業株式会社
内燃機関の制御装置
17日前
株式会社デンソートリム
エンジン制御装置
3日前
株式会社豊田自動織機
車両
27日前
本田技研工業株式会社
EGRバルブ制御装置
7日前
トヨタ自動車株式会社
エンジンシステムの診断装置
19日前
トヨタ自動車株式会社
インジェクタの制御装置
5日前
トヨタ自動車株式会社
エンジン制御装置
7日前
トヨタ自動車株式会社
内燃機関の燃料供給装置
3日前
トヨタ自動車株式会社
内燃機関の燃料供給装置
7日前
ヤンマーホールディングス株式会社
エンジン装置
5日前
ヤンマーホールディングス株式会社
エンジン装置
5日前
大阪瓦斯株式会社
発電設備、及び発電方法
5日前
愛三工業株式会社
吸気制御弁
26日前
続きを見る
他の特許を見る