TOP
|
特許
|
意匠
|
商標
特許ウォッチ
Twitter
他の特許を見る
10個以上の画像は省略されています。
公開番号
2025035581
公報種別
公開特許公報(A)
公開日
2025-03-14
出願番号
2023142710
出願日
2023-09-04
発明の名称
削孔方法及び削孔装置
出願人
日特建設株式会社
代理人
個人
主分類
E21B
6/00 20060101AFI20250307BHJP(地中もしくは岩石の削孔;採鉱)
要約
【課題】従来に比して手間なくより正確に削孔長を把握することができる削孔方法及び削孔装置を提案する。
【解決手段】ハンマー、計測部、クランプ、記憶部、制御部を備える削孔装置を用いて目的とする削孔長まで地盤を削孔する削孔方法であって、削孔開始位置を計測する工程と、第1回削孔長を算出する工程と、新たなケーシングを継ぎ足し第1回削孔終了位置から第1回継ぎ足し位置への変化量が所定の比較値以上である場合はケーシング継ぎ足し本数Nに1を加える第1回継ぎ足し工程と、新たなケーシングを継ぎ足しこの状態でのハンマーの継ぎ足し位置を計測するとともに削孔終了位置から継ぎ足し位置への変化量が所定の比較値以上である場合はケーシング継ぎ足し本数Nに1を加える継ぎ足し工程をA回実行する第2回以降継ぎ足し工程と、削孔完了直前の削孔長を把握する工程と、削孔完了直前の削孔長が目的とする削孔長になるまで地盤を削孔する工程とを含む。
【選択図】図1A
特許請求の範囲
【請求項1】
ガイドセルと、前記ガイドセルに対して進退移動可能であって先端部にケーシングが取り付けられ、回転力とともに後方から前方へ向かう力を前記ケーシングに付与するハンマーと、前記ガイドセルに対する前記ハンマーの進退方向の位置を計測する計測部と、前記ガイドセルに設けられて前記ケーシングを保持可能なクランプと、前記ケーシングの長さであるケーシング長、及び削孔中に前記ケーシングを継ぎ足す本数であるケーシング継ぎ足し本数N(但し、Nは初期値が0の整数)を含む各種情報を記憶する記憶部と、前記ハンマー及び前記クランプの駆動を制御するとともに前記計測部からの情報及び前記記憶部で記憶した各種情報に基づいて演算を行う制御部と、を備える削孔装置を用いることによって前記ケーシングで目的とする削孔長まで地盤を削孔する削孔方法であって、
前記ケーシングの先端を地盤に接触又は所定の隙間をあけた状態で前記クランプによって前記ケーシングを保持し、この状態での前記ハンマーの削孔開始位置を前記計測部で計測する工程と、
前記クランプによる前記ケーシングに対する保持を解除して前記ハンマーを駆動させて地盤を削孔し、所定長さまで削孔した後に前記クランプで前記ケーシングを保持し、この状態での前記ハンマーの第1回削孔終了位置を前記計測部で計測するとともに前記制御部で前記削孔開始位置と前記第1回削孔終了位置から第1回削孔長を算出し、更に前記第1回削孔長を前記記憶部で記憶する工程と、
前記ハンマーを後退させて前記クランプで保持された前記ケーシングの後端部に新たなケーシングを継ぎ足すとともに前記ハンマーを前進させて前記先端部に前記新たなケーシングを取り付け、この状態での前記ハンマーの第1回継ぎ足し位置を前記計測部で計測するとともに前記制御部によって前記第1回削孔終了位置から前記第1回継ぎ足し位置への変化量が所定の比較値以上である場合は前記記憶部に記憶させた前記ケーシング継ぎ足し本数Nに1を加える第1回継ぎ足し工程と、
前記クランプによる前記ケーシングに対する保持を解除して前記ハンマーを駆動させて地盤を削孔し、所定長さまで削孔した後に前記クランプで前記ケーシングを保持し、この状態での前記ハンマーの削孔終了位置を前記計測部で計測し、次いで、前記ハンマーを後退させて前記クランプで保持された前記ケーシングの後端部に新たなケーシングを継ぎ足した後に前記ハンマーを前進させて前記先端部に前記新たなケーシングを取り付け、この状態での前記ハンマーの継ぎ足し位置を前記計測部で計測するとともに前記制御部で前記削孔終了位置から前記継ぎ足し位置への変化量が所定の比較値以上である場合は前記記憶部に記憶させた前記ケーシング継ぎ足し本数Nに1を加える継ぎ足し工程に関し、前記継ぎ足し工程をA回実行する第2回以降継ぎ足し工程と(但しAは1以上の整数)、
前記第2回以降継ぎ足し工程の後、目的とする長さまで地盤を削孔するにあたり、下記の式(1)によって削孔完了直前の削孔長を把握する工程と、
削孔完了直前の削孔長=前記第1回削孔長+(前記ケーシング長×(N-1))+(A回実行したときの前記継ぎ足し位置-前記第1回継ぎ足し位置)・・・(1)
前記クランプによる前記ケーシングに対する保持を解除して前記ハンマーを駆動させて前記削孔完了直前の削孔長が目的とする削孔長になるまで地盤を削孔する工程と、を含む削孔方法。
続きを表示(約 2,500 文字)
【請求項2】
前記記憶部は更に、第2ケーシングの長さである第2ケーシング長、及び削孔中に前記第2ケーシングを継ぎ足す本数である第2ケーシング継ぎ足し本数M(但し、Mは初期値が0の整数)を記憶するものであり、
前記第2回以降継ぎ足し工程は、
前記クランプによる前記ケーシングに対する保持を解除して前記ハンマーを駆動させて地盤を削孔し、所定長さまで削孔した後に前記クランプで前記ケーシングを保持し、この状態での前記ハンマーの削孔終了位置を前記計測部で計測し、次いで、前記ハンマーを後退させて前記クランプで保持された前記ケーシングの後端部に新たなケーシングを継ぎ足した後に前記ハンマーを前進させて前記先端部に前記新たなケーシングを取り付け、この状態での前記ハンマーの継ぎ足し位置を前記計測部で計測するとともに前記制御部で前記削孔終了位置から前記継ぎ足し位置への変化量が所定の比較値以上である場合は前記記憶部に記憶させた前記ケーシング継ぎ足し本数Nに1を加える継ぎ足し工程に関し、前記継ぎ足し工程を(A-B)回実行する工程と(但しBはA>Bを満たす1以上の整数)、
前記クランプによる前記ケーシングに対する保持を解除して前記ハンマーを駆動させて地盤を削孔し、所定長さまで削孔した後に前記クランプで前記ケーシングを保持し、この状態での前記ハンマーの追加削孔終了位置を前記計測部で計測し、次いで、前記ハンマーを後退させて前記クランプで保持された前記ケーシングの後端部に前記第2ケーシングを継ぎ足した後に前記ハンマーを前進させて前記先端部に前記第2ケーシングを取り付け、この状態での前記ハンマーの追加継ぎ足し位置を前記計測部で計測するとともに前記制御部で前記追加削孔終了位置から前記追加継ぎ足し位置への変化量が所定の比較値以上である場合は前記記憶部に記憶させた前記第2ケーシング継ぎ足し本数Mに1を加える追加継ぎ足し工程に関し、前記追加継ぎ足し工程をB回実行する工程と、を含むものであって、
前記削孔完了直前の削孔長を把握する工程は、前記第2回以降継ぎ足し工程の後、目的とする長さまで地盤を削孔するにあたり、下記の式(2)によって削孔完了直前の削孔長を把握するものである、請求項1に記載の削孔方法。
削孔完了直前の削孔長=前記第1回削孔長+(前記ケーシング長×(N-1))+(前記第2ケーシング長×M)+(B回実行したときの前記追加継ぎ足し位置-前記第1回継ぎ足し位置)・・・(2)
【請求項3】
ガイドセルと、前記ガイドセルに対して進退移動可能であって先端部にケーシングが取り付けられ、回転力とともに後方から前方へ向かう力を前記ケーシングに付与するハンマーと、前記ガイドセルに対する前記ハンマーの進退方向の位置を計測する計測部と、前記ガイドセルに設けられて前記ケーシングを保持可能なクランプと、前記ケーシングの長さであるケーシング長、及び削孔中に前記ケーシングを継ぎ足す本数であるケーシング継ぎ足し本数N(但し、Nは初期値が0の整数)を含む各種情報を記憶する記憶部と、前記ハンマー及び前記クランプの駆動を制御するとともに前記計測部からの情報及び前記記憶部で記憶した各種情報に基づいて演算を行う制御部と、を備える削孔装置であって、
前記制御部は、
前記ケーシングの先端を地盤に接触又は所定の隙間をあけた状態で前記クランプによって前記ケーシングを保持し、この状態での前記ハンマーの削孔開始位置を前記計測部で計測する工程と、
前記クランプによる前記ケーシングに対する保持を解除して前記ハンマーを駆動させて地盤を削孔し、所定長さまで削孔した後に前記クランプで前記ケーシングを保持し、この状態での前記ハンマーの第1回削孔終了位置を前記計測部で計測するとともに前記制御部で前記削孔開始位置と前記第1回削孔終了位置から第1回削孔長を算出し、更に前記第1回削孔長を前記記憶部で記憶する工程と、
前記ハンマーを後退させて前記クランプで保持された前記ケーシングの後端に新たなケーシングを継ぎ足すとともに前記ハンマーを前進させて前記先端部に前記新たなケーシングを取り付け、この状態での前記ハンマーの第1回継ぎ足し位置を前記計測部で計測するとともに前記制御部によって前記第1回削孔終了位置から前記第1回継ぎ足し位置への変化量が所定の比較値以上である場合は前記記憶部に記憶させた前記ケーシング継ぎ足し本数Nに1を加える第1回継ぎ足し工程と、
前記クランプによる前記ケーシングに対する保持を解除して前記ハンマーを駆動させて地盤を削孔し、所定長さまで削孔した後に前記クランプで前記ケーシングを保持し、この状態での前記ハンマーの削孔終了位置を前記計測部で計測し、次いで、前記ハンマーを後退させて前記クランプで保持された前記ケーシングの後端に新たなケーシングを継ぎ足した後に前記ハンマーを前進させて前記先端部に前記新たなケーシングを取り付け、この状態での前記ハンマーの継ぎ足し位置を前記計測部で計測するとともに前記制御部で前記削孔終了位置から前記継ぎ足し位置への変化量が所定の比較値以上である場合は前記記憶部に記憶させた前記ケーシング継ぎ足し本数Nに1を加える継ぎ足し工程に関し、前記継ぎ足し工程をA回実行する第2回以降継ぎ足し工程と(但しAは1以上の整数)、
前記第2回以降継ぎ足し工程の後、目的とする長さまで地盤を削孔するにあたり、下記の式(1)によって削孔完了直前の削孔長を把握する工程と、
削孔完了直前の削孔長=前記第1回削孔長+(前記ケーシング長×(N-1))+(A回実行したときの前記継ぎ足し位置-前記第1回継ぎ足し位置)・・・(1)
前記クランプによる前記ケーシングに対する保持を解除して前記ハンマーを駆動させて前記削孔完了直前の削孔長が目的とする削孔長になるまで地盤を削孔する工程と、を実行する削孔装置。
発明の詳細な説明
【技術分野】
【0001】
本発明は、削孔方法及び削孔装置に関するものであって、特に削孔長を把握することが可能な削孔方法及び削孔装置に関する。
続きを表示(約 3,900 文字)
【背景技術】
【0002】
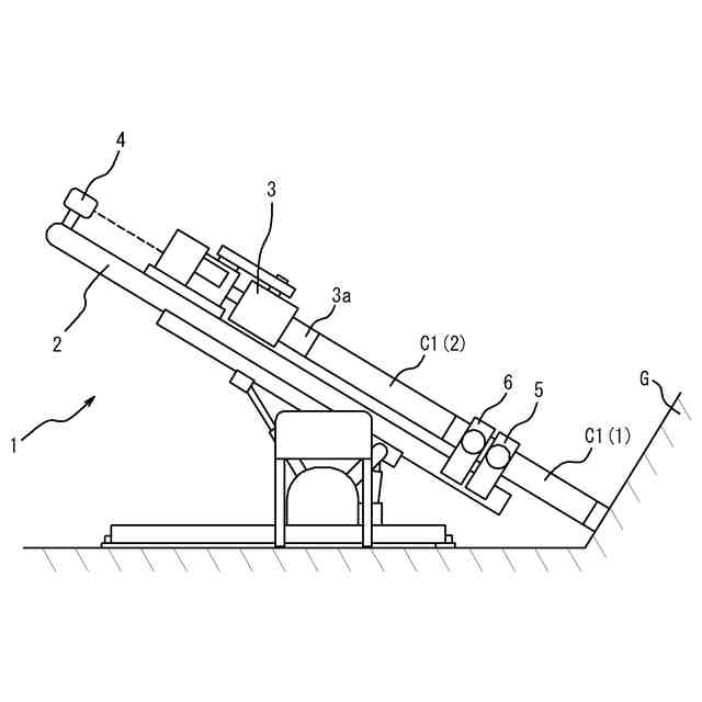
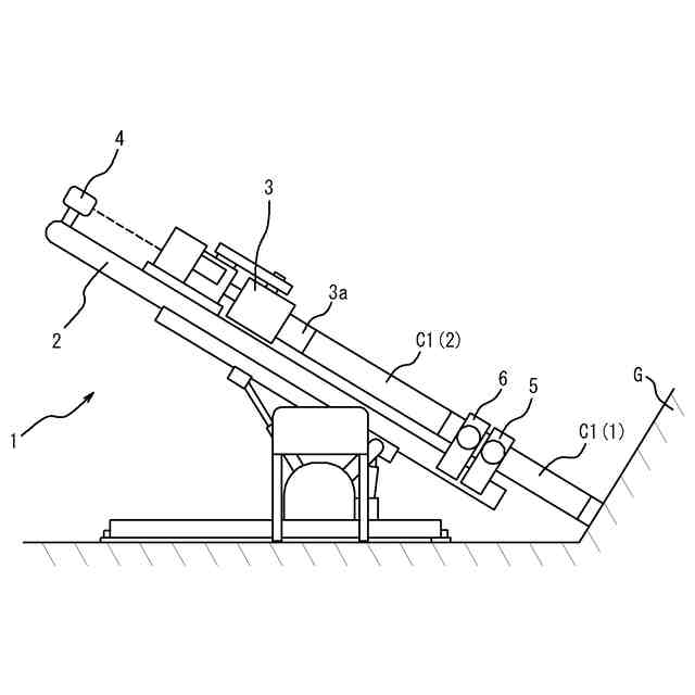
例えば傾斜地山等の地盤を削孔する際には、特許文献1の図11に示されている如き削孔装置が用いられている。この種の削孔装置は、ガイドセルと、ガイドセルに対して進退移動可能であって先端部にケーシングが取り付けられるハンマー(特許文献1ではドリフタ3とスイベル5を接続するシャンクロッド3A、及びスイベルシュー6を含んで構成されている)と、クランプ(先端ガイド7)とを備えている。そしてクランプを開いた状態でハンマーを駆動させ、これによりケーシングを回転させつつ前進させて削孔を行う。ある程度の長さまで削孔した後は、削孔装置に取り付けられているケーシングとハンマーとの間に新たなケーシングを継ぎ足して削孔を継続することにより、目的とする長さまで地山を削孔することができる。
【0003】
削孔を行った際には、目的の長さまで削孔されているかを確認する必要がある。従来、削孔長は、削孔後のケーシング内に検尺棒を挿入して作業員が検尺棒の目盛を読み取る方法や、作業員が使用したケーシングの本数をカウントしてケーシングの全長を算出するとともに削孔後の地山から突出したケーシングの残尺を計測し、ケーシングの全長と地山から突出したケーシングの残尺との差を算出する方法により確認されている。
【先行技術文献】
【特許文献】
【0004】
特開平3-63383号公報
【発明の概要】
【発明が解決しようとする課題】
【0005】
ところで検尺棒を用いる方法は、削孔した後に別異に行う作業であるため、工数が増えるとともに手間を要することになる。また継ぎ足したケーシングの本数によってケーシングの全長を把握する場合は、手間を要するうえに本数の数え間違いが生じるおそれがある。また検尺棒を用いる場合でもケーシングの残尺を計る場合でも、目盛の読み違いが生じるおそれがある。
【0006】
なお、特許文献1に示された如き削孔装置に対してハンマーの移動量を計測できる計測手段を設け、ケーシングとともに移動するハンマーの移動量からケーシング1本あたりの削孔長を算出し、ケーシングを継ぎ足す毎に得られる各ケーシングの削孔長を積算することによって全体の削孔長を把握する方法が考えられる。しかし本願発明者が確認したところ、この方法では大きな誤差が生じてしまうことが確認された。
【0007】
上述したようにハンマーは、ドリフタとスイベルがシャンクロッドで接続されていて、これらの間には長さ方向に遊び(1~2cm程度)がある。本発明者が確認したところ、継ぎ足しを行う際にクランプにより保持されていた削孔中のケーシングは、新たなケーシングを継ぎ足してクランプを解除した際に自重によってこの遊びの分、延びるように挙動していた。すなわち、ケーシングの継ぎ足しを行う毎に1~2cm程度の誤差が生じるおそれがある。このため、例えば長さが1.5mのケーシングを40本使用して削孔する場合、狙いとする60mの削孔長に対して40~80cm程度の誤差を生じるおそれがあった。
【0008】
このような問題点に鑑み、本発明では、従来に比して手間なくより正確に削孔長を把握することができる削孔方法及び削孔装置を提案することを目的とする。
【課題を解決するための手段】
【0009】
本発明は、ガイドセルと、前記ガイドセルに対して進退移動可能であって先端部にケーシングが取り付けられ、回転力とともに後方から前方へ向かう力を前記ケーシングに付与するハンマーと、前記ガイドセルに対する前記ハンマーの進退方向の位置を計測する計測部と、前記ガイドセルに設けられて前記ケーシングを保持可能なクランプと、前記ケーシングの長さであるケーシング長、及び削孔中に前記ケーシングを継ぎ足す本数であるケーシング継ぎ足し本数N(但し、Nは初期値が0の整数)を含む各種情報を記憶する記憶部と、前記ハンマー及び前記クランプの駆動を制御するとともに前記計測部からの情報及び前記記憶部で記憶した各種情報に基づいて演算を行う制御部と、を備える削孔装置を用いることによって前記ケーシングで目的とする削孔長まで地盤を削孔する削孔方法であって、前記ケーシングの先端を地盤に接触又は所定の隙間をあけた状態で前記クランプによって前記ケーシングを保持し、この状態での前記ハンマーの削孔開始位置を前記計測部で計測する工程と、前記クランプによる前記ケーシングに対する保持を解除して前記ハンマーを駆動させて地盤を削孔し、所定長さまで削孔した後に前記クランプで前記ケーシングを保持し、この状態での前記ハンマーの第1回削孔終了位置を前記計測部で計測するとともに前記制御部で前記削孔開始位置と前記第1回削孔終了位置から第1回削孔長を算出し、更に前記第1回削孔長を前記記憶部で記憶する工程と、前記ハンマーを後退させて前記クランプで保持された前記ケーシングの後端部に新たなケーシングを継ぎ足すとともに前記ハンマーを前進させて前記先端部に前記新たなケーシングを取り付け、この状態での前記ハンマーの第1回継ぎ足し位置を前記計測部で計測するとともに前記制御部によって前記第1回削孔終了位置から前記第1回継ぎ足し位置への変化量が所定の比較値以上である場合は前記記憶部に記憶させた前記ケーシング継ぎ足し本数Nに1を加える第1回継ぎ足し工程と、前記クランプによる前記ケーシングに対する保持を解除して前記ハンマーを駆動させて地盤を削孔し、所定長さまで削孔した後に前記クランプで前記ケーシングを保持し、この状態での前記ハンマーの削孔終了位置を前記計測部で計測し、次いで、前記ハンマーを後退させて前記クランプで保持された前記ケーシングの後端部に新たなケーシングを継ぎ足した後に前記ハンマーを前進させて前記先端部に前記新たなケーシングを取り付け、この状態での前記ハンマーの継ぎ足し位置を前記計測部で計測するとともに前記制御部で前記削孔終了位置から前記継ぎ足し位置への変化量が所定の比較値以上である場合は前記記憶部に記憶させた前記ケーシング継ぎ足し本数Nに1を加える継ぎ足し工程に関し、前記継ぎ足し工程をA回実行する第2回以降継ぎ足し工程と(但しAは1以上の整数)、
前記第2回以降継ぎ足し工程の後、目的とする長さまで地盤を削孔するにあたり、下記の式(1)によって削孔完了直前の削孔長を把握する工程と、
削孔完了直前の削孔長=前記第1回削孔長+(前記ケーシング長×(N-1))+(A回実行したときの前記継ぎ足し位置-前記第1回継ぎ足し位置)・・・(1)
前記クランプによる前記ケーシングに対する保持を解除して前記ハンマーを駆動させて前記削孔完了直前の削孔長が目的とする削孔長になるまで地盤を削孔する工程と、を含む削孔方法である。
【0010】
このような削孔方法において、前記記憶部は更に、第2ケーシングの長さである第2ケーシング長、及び削孔中に前記第2ケーシングを継ぎ足す本数である第2ケーシング継ぎ足し本数M(但し、Mは初期値が0の整数)を記憶するものであり、前記第2回以降継ぎ足し工程は、前記クランプによる前記ケーシングに対する保持を解除して前記ハンマーを駆動させて地盤を削孔し、所定長さまで削孔した後に前記クランプで前記ケーシングを保持し、この状態での前記ハンマーの削孔終了位置を前記計測部で計測し、次いで、前記ハンマーを後退させて前記クランプで保持された前記ケーシングの後端部に新たなケーシングを継ぎ足した後に前記ハンマーを前進させて前記先端部に前記新たなケーシングを取り付け、この状態での前記ハンマーの継ぎ足し位置を前記計測部で計測するとともに前記制御部で前記削孔終了位置から前記継ぎ足し位置への変化量が所定の比較値以上である場合は前記記憶部に記憶させた前記ケーシング継ぎ足し本数Nに1を加える継ぎ足し工程に関し、前記継ぎ足し工程を(A-B)回実行する工程と(但しBはA>Bを満たす1以上の整数)、前記クランプによる前記ケーシングに対する保持を解除して前記ハンマーを駆動させて地盤を削孔し、所定長さまで削孔した後に前記クランプで前記ケーシングを保持し、この状態での前記ハンマーの追加削孔終了位置を前記計測部で計測し、次いで、前記ハンマーを後退させて前記クランプで保持された前記ケーシングの後端部に前記第2ケーシングを継ぎ足した後に前記ハンマーを前進させて前記先端部に前記第2ケーシングを取り付け、この状態での前記ハンマーの追加継ぎ足し位置を前記計測部で計測するとともに前記制御部で前記追加削孔終了位置から前記追加継ぎ足し位置への変化量が所定の比較値以上である場合は前記記憶部に記憶させた前記第2ケーシング継ぎ足し本数Mに1を加える追加継ぎ足し工程に関し、前記追加継ぎ足し工程をB回実行する工程と、を含むものであって、前記削孔完了直前の削孔長を把握する工程は、前記第2回以降継ぎ足し工程の後、目的とする長さまで地盤を削孔するにあたり、下記の式(2)によって削孔完了直前の削孔長を把握するものであることが好ましい。
削孔完了直前の削孔長=前記第1回削孔長+(前記ケーシング長×(N-1))+(前記第2ケーシング長×M)+(B回実行したときの前記追加継ぎ足し位置-前記第1回継ぎ足し位置)・・・(2)
(【0011】以降は省略されています)
この特許をJ-PlatPat(特許庁公式サイト)で参照する
関連特許
日特建設株式会社
ボーリング装置
6か月前
日特建設株式会社
立坑壁面の安定化構造及びその施工方法
22日前
日特建設株式会社
高圧噴射撹拌工法で用いられるモニタリング方法
6日前
株式会社安藤・間
曲がり計測装置、曲がり計測方法
21日前
株式会社安藤・間
データ通信システム、及びデータ通信方法
21日前
鹿島建設株式会社
グラウチングシステム
21日前
鹿島建設株式会社
グラウチングシステム
21日前
株式会社安藤・間
ボーリング孔監視システム、及びボーリング孔監視方法
21日前
個人
掘削機
3か月前
株式会社奥村組
地山探査装置
1か月前
株式会社奥村組
地山探査装置
1か月前
株式会社奥村組
地山探査方法
1か月前
株式会社奥村組
地山探査装置
1か月前
株式会社奥村組
シールド掘進機
13日前
株式会社奥村組
シールド掘進機
4か月前
株式会社奥村組
シールド掘進機
6か月前
株式会社笠原建設
横孔形成方法
5か月前
日特建設株式会社
ボーリング装置
6か月前
岐阜工業株式会社
トンネルセントル
13日前
花王株式会社
岩盤の掘削方法
3か月前
株式会社熊谷組
天井板撤去装置
5か月前
株式会社奥村組
泥土圧シールド掘進機
5か月前
株式会社奥村組
セグメントの組立方法
1か月前
株式会社奥村組
テールシール試験装置
6か月前
個人
オープンシールド機
1か月前
個人
オープンシールド機
1か月前
個人
掘削機、及び、資源回収システム
5か月前
日特建設株式会社
削孔方法及び削孔装置
6か月前
個人
箱形ルーフおよびその施工法
6日前
株式会社ケー・エフ・シー
剥落防止構造
6か月前
大阪瓦斯株式会社
牽引装置
4か月前
デンカ株式会社
静的破砕方法
1か月前
株式会社大林組
インバート更新工法
7か月前
株式会社金澤製作所
発進坑口のエントランス装置
4か月前
大阪瓦斯株式会社
切欠開裂治具
5か月前
個人
メタンハイドレート等海底鉱物資源の採取方法
2か月前
続きを見る
他の特許を見る