TOP特許意匠商標
特許ウォッチ Twitter
10個以上の画像は省略されています。
公開番号2025035932
公報種別公開特許公報(A)
公開日2025-03-14
出願番号2023143295
出願日2023-09-04
発明の名称太陽電池とその製造方法
出願人国立大学法人金沢大学,岩谷産業株式会社
代理人個人,個人,個人,個人,個人
主分類H10K 30/50 20230101AFI20250307BHJP()
要約【課題】安定して高い出力特性を実現することが可能な太陽電池を提供する。
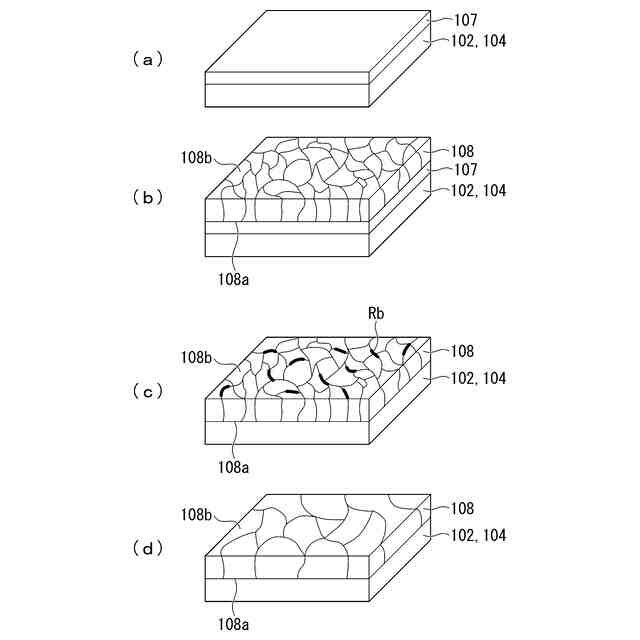
【解決手段】本発明の太陽電池は、電子輸送層102、発電層、正孔輸送層104の順、または正孔輸送層104、発電層、電子輸送層102の順に積層された積層体と、電子輸送層102に接続された負極層と、正孔輸送層104に接続された正極層と、を備え、発電層がペロブスカイト型の結晶構造を有し、Rbを含み、発電層に含まれる結晶粒子の平均粒径が350nm以上である。
【選択図】図3
特許請求の範囲【請求項1】
電子輸送層、発電層、正孔輸送層の順、または正孔輸送層、発電層、電子輸送層の順に積層された積層体と、
前記電子輸送層に接続された負極層と、
前記正孔輸送層に接続された正極層と、を備え、
前記発電層がペロブスカイト型の結晶構造を有し、Rbを含み、前記発電層に含まれる結晶粒子の平均粒径が350nm以上であることを特徴とする太陽電池。
続きを表示(約 780 文字)【請求項2】
前記発電層と前記電子輸送層との間、前記発電層と前記正孔輸送層との間のうち、少なくとも一方に、Rbのハロゲン化物からなるRb供給層を、さらに備えることを特徴とする請求項1に記載の太陽電池。
【請求項3】
電子輸送層または正孔輸送層の上に、Rbのハロゲン化物からなる第一Rb供給層を形成する第一Rb供給層形成工程と、
前記第一Rb供給層の上に、ペロブスカイト型の結晶構造を有するペロブスカイト層を形成するペロブスカイト層形成工程と、
前記第一Rb供給層および前記ペロブスカイト層を加熱する加熱工程と、を有することを特徴とする太陽電池の製造方法。
【請求項4】
前記第一Rb供給層を、蒸着法を用いて形成することを特徴とする請求項3に記載の太陽電池の製造方法。
【請求項5】
前記ペロブスカイト層形成工程と前記加熱工程との間に、第二Rb供給層形成工程を、さらに有し、
前記第二Rb供給層形成工程では、前記ペロブスカイト層の上に、Rbのハロゲン化物からなる第二Rb供給層を形成することを特徴とする請求項3に記載の太陽電池の製造方法。
【請求項6】
電子輸送層または正孔輸送層の上に、ペロブスカイト型の結晶構造を有するペロブスカイト層を形成するペロブスカイト層形成工程と、
前記ペロブスカイト層の上に、Rbのハロゲン化物からなる第二Rb供給層を形成する第二Rb供給層形成工程と、
前記第二Rb供給層および前記ペロブスカイト層を加熱する加熱工程と、を有することを特徴とする太陽電池の製造方法。
【請求項7】
前記第二Rb供給層を、蒸着法を用いて形成することを特徴とする請求項5または6のいずれかに記載の太陽電池の製造方法。

発明の詳細な説明【技術分野】
【0001】
本発明は、太陽電池とその製造方法に関する。
続きを表示(約 1,500 文字)【背景技術】
【0002】
近年、ペロブスカイト構造を有する有機材料の膜を用いた、有機太陽電池の開発が行われている。ペロブスカイト構造とは、一般式ABX

で表される立方体の結晶構造である。立方体の頂点(Aサイト)、立方体の各面の中心(Bサイト)、立方体の中心(Xサイト)に、それぞれ異なる原子や分子が配置される。Aサイトには、例えば、CH

NH

、CH



等の有機材料が用いられる。
【0003】
Aサイトの有機材料の一部がRb等の無機材料で置換された膜を、発電層として用いることにより、水分、光、熱等に対する太陽電池の安定性を高めることができる。このような膜は、一般的には、含有させる材料を液体の状態で混合させ、下地基板に塗布して乾燥させることによって得られる(非特許文献1)。
【0004】
しかしながら、この方法で得られる膜は、粒径が小さい結晶粒子で構成されたものとなり、粒界領域を多く含み、キャリア伝導の効率を高めることが難しい。そのため、この膜を太陽電池の発電層として用いたとしても、出力特性を大きく向上させることは難しいと考えられる。
【先行技術文献】
【非特許文献】
【0005】
Park, I. J., Seo, S., Park, M. A., Lee, S., Kim, D. H., Zhu, K., Shin, H., Kim, J. Y. (2017). Effect of rubidium incorporation on the structural, electrical, and photovoltaic properties of methylammonium lead iodide-based perovskite solar cells. ACS Appl Mater Interfaces, 48, 41898-41905.
【発明の概要】
【発明が解決しようとする課題】
【0006】
本発明は上記事情に鑑みてなされたものであり、安定して高い出力特性を実現することが可能な太陽電池と、その製造方法を提供することを目的とする。
【課題を解決するための手段】
【0007】
上記課題を解決するため、本発明は以下の手段を採用している。
【0008】
(1)本発明の一態様に係る太陽電池は、電子輸送層、発電層、正孔輸送層の順、または正孔輸送層、発電層、電子輸送層の順に積層された積層体と、前記電子輸送層に接続された負極層と、前記正孔輸送層に接続された正極層と、を備え、前記発電層がペロブスカイト型の結晶構造を有し、Rbを含み、前記発電層に含まれる結晶粒子の平均粒径が350nm以上である。
【0009】
(2)上記(1)に記載の太陽電池において、前記発電層と前記電子輸送層との間、前記発電層と前記正孔輸送層との間のうち、少なくとも一方に、Rbのハロゲン化物からなるRb供給層を、さらに備えてもよい。
【0010】
(3)本発明の一態様に係る太陽電池の製造方法は、電子輸送層または正孔輸送層の上に、Rbのハロゲン化物からなる第一Rb供給層を形成する第一Rb供給層形成工程と、前記第一Rb供給層の上に、ペロブスカイト型の結晶構造を有するペロブスカイト層を形成するペロブスカイト層形成工程と、前記第一Rb供給層および前記ペロブスカイト層を加熱する加熱工程と、を有する。
(【0011】以降は省略されています)

この特許をJ-PlatPat(特許庁公式サイト)で参照する

関連特許

国立大学法人金沢大学
燃料電池システム
4か月前
国立大学法人金沢大学
燃料電池システム
6か月前
国立大学法人金沢大学
燃料電池システム
1か月前
国立大学法人金沢大学
微粒子の製造装置
2か月前
国立大学法人金沢大学
腫瘍治療用医薬組成物
1か月前
国立大学法人金沢大学
太陽電池とその製造方法
6か月前
国立大学法人金沢大学
放射性同位体標識診療薬剤
5か月前
国立大学法人金沢大学
金属錯体及び金属錯体の製造方法
1か月前
国立大学法人金沢大学
双性イオンを含む植物成長抑制剤
6日前
国立大学法人金沢大学
パターニングされた酸化物膜の形成方法
2日前
国立大学法人金沢大学
情報処理システム、合成装置、情報処理方法及びプログラム
1か月前
国立大学法人金沢大学
形状推定方法、プログラム、形状推定装置、及び自律移動体
6か月前
国立大学法人金沢大学
対象物検出方法、プログラム、対象物検出装置、及び自律移動体
4か月前
国立大学法人金沢大学
子宮体癌治療剤、子宮体癌治療方法、子宮体癌の治療のための使用
6か月前
国立大学法人金沢大学
点滅領域検出方法、プログラム、点滅領域検出装置、及び自律移動体
1か月前
国立大学法人金沢大学
音源方向検出方法、プログラム、音源方向検出装置、及び自律移動体
5か月前
国立大学法人金沢大学
追従対象車両決定方法、プログラム、追従対象車両決定装置、及び自律移動体
4か月前
石川県
姿勢保持具、移乗器具、支持用ベルト、及び、支持ベルトの設置方法
16日前
国立大学法人金沢大学
薄膜デバイス、薄膜デバイスモジュール、電極付き封止材及び薄膜デバイスの製造方法
1か月前
国立大学法人金沢大学
CAR-T細胞活性化、造血幹細胞増殖、iPS細胞分化を制御する組成物およびその用途
3か月前
国立大学法人金沢大学
ペロブスカイト膜、薄膜太陽電池、ペロブスカイト膜の製造方法及び薄膜太陽電池の製造方法
2か月前
株式会社荏原製作所
ワークピースの化学機械研磨システムおよび化学機械研磨方法
2か月前
一般財団法人電力中央研究所
直流遮断器
4か月前
エイブリック株式会社
半導体装置
1か月前
エイブリック株式会社
半導体装置
3日前
富士電機株式会社
半導体装置
24日前
富士電機株式会社
半導体装置
1か月前
富士電機株式会社
半導体装置
1か月前
富士電機株式会社
半導体装置
1か月前
富士電機株式会社
半導体装置
1か月前
富士電機株式会社
半導体装置
6日前
三菱電機株式会社
半導体装置
1か月前
国立大学法人 和歌山大学
光検出器
1か月前
三菱電機株式会社
半導体装置
1か月前
AGC株式会社
太陽電池モジュール
9日前
株式会社半導体エネルギー研究所
半導体装置
1か月前
続きを見る