TOP
|
特許
|
意匠
|
商標
特許ウォッチ
Twitter
他の特許を見る
10個以上の画像は省略されています。
公開番号
2025122596
公報種別
公開特許公報(A)
公開日
2025-08-21
出願番号
2024018214
出願日
2024-02-08
発明の名称
半導体装置
出願人
富士電機株式会社
代理人
個人
主分類
H10D
30/66 20250101AFI20250814BHJP()
要約
【課題】ソースリング部への電流集中を抑制しIFSM耐量を向上させることができる半導体装置を提供する。
【解決手段】半導体装置は、第1導電型の半導体基板1、2上に、主電流が流れる活性領域40と、活性領域40の周囲を囲む終端領域42と、活性領域40と終端領域42との間の遷移領域41と、を備える。活性領域40の半導体基板1、2のおもて面側に、第2導電型の第1半導体領域6、8に接続されたおもて面電極12を有し、遷移領域41におもて面電極14と電気的に接続され、電流を引き抜くための第1導電型の第2半導体領域7に接続されたソースリング25を有し、おもて面電極12がソースリング25と接続されるソースリング接続部28を有し、ソースリング25の半導体基板1、2側には、第2半導体領域7が設けられ、ソースリング接続部28では、ソースリング25が複数設けられている。
【選択図】図3
特許請求の範囲
【請求項1】
第1導電型の半導体基板上に、主電流が流れる活性領域と、前記活性領域の周囲を囲む終端領域と、前記活性領域と前記終端領域との間の遷移領域と、を備え、
前記活性領域の前記半導体基板のおもて面側に、第2導電型の第1半導体領域に接続されたおもて面電極を有し、
前記遷移領域に前記おもて面電極と電気的に接続され、電流を引き抜くための第1導電型の第2半導体領域に接続されたソースリングを有し、
前記おもて面電極が前記ソースリングと接続されるソースリング接続部を有し、
前記ソースリングの前記半導体基板側には、前記第2半導体領域が設けられ、
前記ソースリング接続部では、前記ソースリングが複数設けられていることを特徴とする半導体装置。
続きを表示(約 600 文字)
【請求項2】
前記ソースリング接続部での前記ソースリングは、2本以上7本以下であることを特徴とする請求項1に記載の半導体装置。
【請求項3】
第1導電型の半導体基板上に、主電流が流れる活性領域と、前記活性領域の周囲を囲む終端領域と、前記活性領域と前記終端領域との間の遷移領域と、を備え、
前記活性領域の前記半導体基板のおもて面側に、第2導電型の第1半導体領域に接続されたおもて面電極を有し、
前記遷移領域に前記おもて面電極と電気的に接続され、電流を引き抜くための第1導電型の第2半導体領域に接続されたソースリングを有し、
前記おもて面電極が前記ソースリングと接続されるソースリング接続部を有し、
前記ソースリングの前記半導体基板側には、前記第2半導体領域が設けられ、
前記ソースリング接続部での前記ソースリングの幅は、前記ソースリング接続部以外での前記ソースリングの幅よりも広いことを特徴とする半導体装置。
【請求項4】
前記ソースリング接続部での前記ソースリングの幅は、前記遷移領域の幅の94%以下であることを特徴とする請求項3に記載の半導体装置。
【請求項5】
前記第1半導体領域の不純物濃度は、前記第2半導体領域の不純物濃度より高いことを特徴とする請求項1~4のいずれか1項に記載の半導体装置。
発明の詳細な説明
【技術分野】
【0001】
この開示は、半導体装置に関する。
続きを表示(約 2,500 文字)
【背景技術】
【0002】
従来、半導体装置の表面電極への悪影響を緩和するため、ドリフト層の上面の表層に形成される第1のウェル領域と、ゲート電極と、平面視において第1のウェル領域を囲む第2のウェル領域と、層間絶縁膜と層間絶縁膜から露出するゲート電極とを覆うゲート部とを備え、ゲート電極の外側端部は、ゲート部の外側端部よりも第1のウェル領域から遠く、かつ、第2のウェル領域の外側端部よりも第1のウェル領域から近い半導体装置が公知である(例えば、下記特許文献1参照)。
【先行技術文献】
【特許文献】
【0003】
国際公開第2021/005821号
【発明の概要】
【発明が解決しようとする課題】
【0004】
従来の半導体装置では、IFSM(定格順サージ電流:rated forward surge current)試験時にソースリング部に電流が集中しIFSM耐量が低下するという課題があった。この開示は、ソースリング部への電流集中を抑制しIFSM耐量を向上させることができる半導体装置を提供することを目的とする。
【課題を解決するための手段】
【0005】
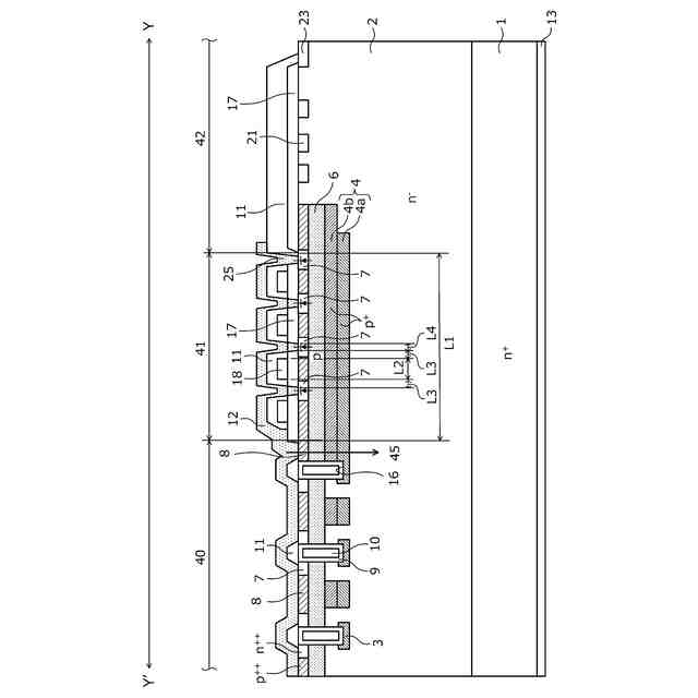
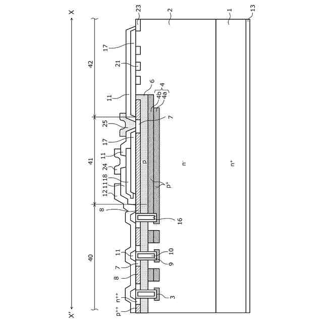
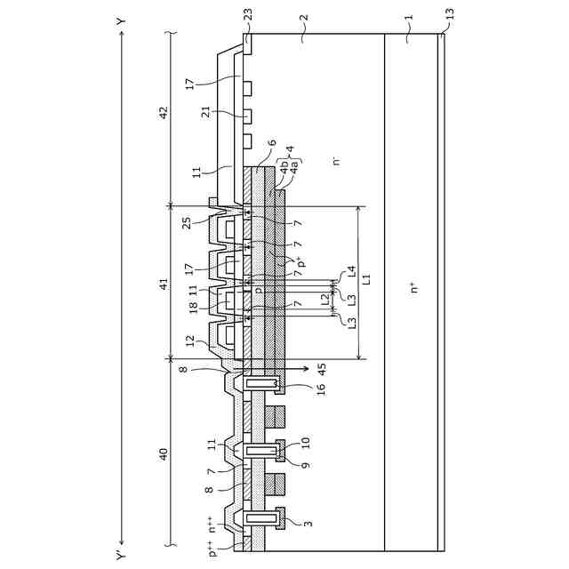
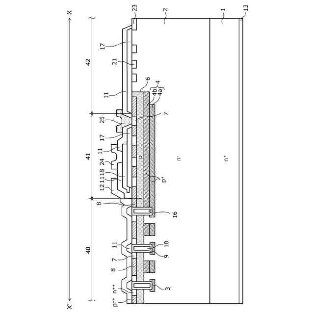
上述した課題を解決し、本開示の目的を達成するため、この開示にかかる半導体装置は、次の特徴を有する。第1導電型の半導体基板上に、主電流が流れる活性領域と、前記活性領域の周囲を囲む終端領域と、前記活性領域と前記終端領域との間の遷移領域と、を備える。前記活性領域の前記半導体基板のおもて面側に、第2導電型の第1半導体領域に接続されたおもて面電極を有し、前記遷移領域に前記おもて面電極と電気的に接続され、電流を引き抜くための第1導電型の第2半導体領域に接続されたソースリングを有し、前記おもて面電極が前記ソースリングと接続されるソースリング接続部を有し、前記ソースリングの前記半導体基板側には、前記第2半導体領域が設けられ、前記ソースリング接続部では、前記ソースリングが複数設けられている。
【0006】
上述した開示によれば、ソースリングの下側を第1導電型の第2半導体領域とすることで、第2導電型の第1半導体領域からソースリングへ電流を流すことを可能にし、ソースリングから第1半導体領域へ電流が流れることを防止することができる。このため、IFSM試験時に温度上昇により抵抗が増加したとしても、ソースリングから第1半導体領域に電流が流れることを防止でき、ソースリング接続部に電流が集中することを防げ、IFSM耐量を向上することができる。また、ソースリングを複数本設けることにより、遷移領域に電流が流れた場合でも、電流を複数のソースリングに分散し、ソースリングから第2導電型の第1半導体領域へ電流が流れることを防止することができる。
【発明の効果】
【0007】
本開示にかかる半導体装置によれば、ソースリング部への電流集中を抑制しIFSM耐量を向上させることができるという効果を奏する。
【図面の簡単な説明】
【0008】
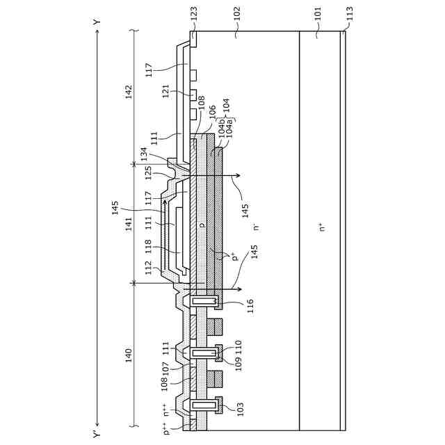
実施の形態1にかかる炭化珪素半導体装置の上面構造を示す平面図である。
実施の形態1にかかる炭化珪素半導体装置の上面構造を示す平面図である。
実施の形態1にかかる炭化珪素半導体装置の構造を示す図1のY-Y’断面図である。
実施の形態1にかかる炭化珪素半導体装置の構造を示す図1のX-X’断面図である。
実施の形態2にかかる炭化珪素半導体装置の上面構造を示す平面図である。
実施の形態2にかかる炭化珪素半導体装置の上面構造を示す平面図である。
実施の形態2にかかる炭化珪素半導体装置の構造を示す図5のY-Y’断面図である。
実施の形態2にかかる炭化珪素半導体装置の構造を示す図5のX-X’断面図である。
従来の炭化珪素半導体装置の構造を示す図11のY-Y’断面図である。
従来の炭化珪素半導体装置の構造を示す図11のX-X’断面図である。
従来の炭化珪素半導体装置の上面構造を示す平面図である。
従来の炭化珪素半導体装置の上面電極構造を示す平面図である。
【発明を実施するための形態】
【0009】
<本開示の実施形態の概要>
上述した課題を解決し、本開示の目的を達成するため、この開示にかかる半導体装置は、次の特徴を有する。第1導電型の半導体基板上に、主電流が流れる活性領域と、前記活性領域の周囲を囲む終端領域と、前記活性領域と前記終端領域との間の遷移領域と、を備える。前記活性領域の前記半導体基板のおもて面側に、第2導電型の第1半導体領域に接続されたおもて面電極を有し、前記遷移領域に前記おもて面電極と電気的に接続され、電流を引き抜くための第1導電型の第2半導体領域に接続されたソースリングを有し、前記おもて面電極が前記ソースリングと接続されるソースリング接続部を有し、前記ソースリングの前記半導体基板側には、前記第2半導体領域が設けられ、前記ソースリング接続部では、前記ソースリングが複数設けられている。
【0010】
上述した開示によれば、ソースリングの下側を第1導電型の第2半導体領域とすることで、第2導電型の第1半導体領域からソースリングへ電流を流すことを可能にし、ソースリングから第1半導体領域へ電流が流れることを防止することができる。このため、IFSM試験時に温度上昇により抵抗が増加したとしても、ソースリングから第1半導体領域に電流が流れることを防止でき、ソースリング接続部に電流が集中することを防げ、IFSM耐量を向上することができる。また、ソースリングを複数本設けることにより、遷移領域に電流が流れた場合でも、電流を複数のソースリングに分散し、ソースリングから第2導電型の第1半導体領域へ電流が流れることを防止することができる。
(【0011】以降は省略されています)
この特許をJ-PlatPat(特許庁公式サイト)で参照する
関連特許
富士電機株式会社
冷却装置
15日前
富士電機株式会社
溶接装置
12日前
富士電機株式会社
搬送機構
12日前
富士電機株式会社
エンコーダ
9日前
富士電機株式会社
半導体装置
1か月前
富士電機株式会社
電磁接触器
8日前
富士電機株式会社
電磁接触器
8日前
富士電機株式会社
電磁接触器
8日前
富士電機株式会社
電磁接触器
8日前
富士電機株式会社
電磁接触器
8日前
富士電機株式会社
半導体装置
1か月前
富士電機株式会社
半導体装置
8日前
富士電機株式会社
半導体装置
12日前
富士電機株式会社
回路遮断器
9日前
富士電機株式会社
冷却システム
1か月前
富士電機株式会社
ショーケース
4日前
富士電機株式会社
商品収納装置
4日前
富士電機株式会社
半導体パッケージ
1か月前
富士電機株式会社
チャンネルベース
8日前
富士電機株式会社
電力変換システム
8日前
富士電機株式会社
チャンネルベース
8日前
富士電機株式会社
電力変換システム
12日前
富士電機株式会社
エレベータ制御装置
1か月前
富士電機株式会社
エレベータ制御装置
10日前
富士電機株式会社
エレベータ制御装置
10日前
富士電機株式会社
冷却器及び半導体装置
8日前
富士電機株式会社
測定方法及び製造方法
15日前
富士電機株式会社
自動販売機の保護装置
15日前
富士電機株式会社
半導体モジュール及び車両
16日前
富士電機株式会社
冷却器及び半導体モジュール
8日前
富士電機株式会社
冷却装置および電力変換装置
16日前
富士電機株式会社
店舗用冷却装置制御システム
16日前
富士電機株式会社
半導体装置及びその製造方法
8日前
富士電機株式会社
測定装置および冷却システム
10日前
富士電機株式会社
店舗内位置情報取得システム
9日前
富士電機株式会社
窒化物半導体装置の製造方法
8日前
続きを見る
他の特許を見る